Medved695
матрос
- Регистрация
- 30.11.2019
- Сообщения
- 17
- Карма
- 9
- Возраст
- 46
- Город
- Нижний Новгород
- Имя
- Евгений
- Лодка
- галс 330
- Мотор
- ВЕТРОДУЙ 12))),ВЕТЕРОК 8, был Тоха 3.5
Рассекателя нет, http://www.youtube.com/shorts/ek0UOZSU2b8 как прикрепить сюда видеоВидео неплохо было бы выложить здесь.
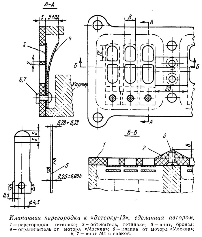
Рассекателя на перегородке нет?






Вложения
-
484,9 КБ Просмотры: 286
-
389,9 КБ Просмотры: 301
Последнее редактирование: