• Автор темы Anonymous
  • Дата начала
A

Anonymous

Guest
Re: ЗАЖИГАНИЕ ДЛЯ ВИХРЯ

Мои попытки реанимировать зажигание МБ-2
Удалось вскрыть и извлечь заводскую плату МБ-2 -сгорели естественно тиристоры- больше там практически нечему

Сгоревшие малогабаритные тиристоры КУ212 были выпаяны на их место с обточкой влезли еле еле ВТ-151 Далее плата испытана спомощью стенда из лампочки и китайского блока питания на 9в-работает только тиристоры немного греются. Это не ГУД :cry:

С небольшими доработками решено было оставить все как есть- тем более 2х канальная схема этого девайса изначально не нравится
Второму МБ-2 повезло меньше- он был залит не ВИКСИНТОМ как первый , а эпоксидкой. Не выжила ни плата ни кондер. :cry:
Осталась только катушка датчика- ее и решено было оставить, залив авто герметиком.

Ее можно использовать практически без схемных изменений собрав ВЫНОСНУЮ платку и вытащив полупроводниковые кишки из под горячего маховика.

Теперь когда с платой что-то не так берем с собой в дорогу не полмотора а еще один маленький запасной блок зажигания. :P Давно хотел это сделать,чтоб не разбирать мотор да и маховик пускай торчит где ему надо быть.

Для этого основания будем собирать другую схему-она нравится больше и вопросов к ней меньше. Но дя этой схемки лучше взамен 2х ТЛМ купить катушку от ВОЛГИ-ГАЗЕЛИ. Она почти в 2-3 раза дешевли 2х ТЛМ и позволяет ЛЕГКО сделать что нам надо-упростить схему до минимума.
 
A

Anonymous

Guest
Re: ЗАЖИГАНИЕ ДЛЯ ВИХРЯ

Раз принцип работы тиристора одинаковый то и схемы его включения похожи.
Спасибо ALFу за крутой фронт с управляющей катушки и DUKATTi за схемку которая его наверное потом завалит :lol: :lol:
Эти схемы были опубликованы МНОЙ и ALFом выше.
Но мы возможно сможем добиться того чтобы при запуске мотора УОЗ был бы несколько смещен в более позднюю сторону- это необходимое условие ЛЕГКОГО запуска, а на номинальных оборотах выходил на свое расчетное значение :cool:
К сожалению паяльник гараж и мотор разнесены временем и пространством, снова пришлось применить убогий настольный стенд
КОТОРЫЙ ТАК НЕ НРАВИТСЯ АЛЕКСАНДРУ из странного города МАРКС с кругами на полях :lol: :lol:

Это убожество с черновым макетом двух канальной платы :oops:
Одноканальная схема предпочтительней по многим причинам ДЕШЕВЛЕ катушки, МЕНЬШЕ деталей, УНИВЕРСАЛЬНА- есть опасения :lol: что будет работать со всеми маховиками и основаниями магдино начиная от МВ1 до МБ22, НЕТ НЕОБХОДИМОСТИ ПОДБИРАТЬ ПАРУ ТИРИСТОРОВ С БЛИЗКИМИ ХАРАКТЕРИСТИКАМИ,с чем вообщем-то я столкнулся
налаживая двухканальную схему от МБ2
Поэтому было решено изготовит еще платку- приделать к ней "универсальный" разьем с идентичной распиновкой для МБ2 и МБ22

По сему готовность уже рядом и надо ехать ставить, блин еще помпу менять....
 
A

Anonymous

Guest
Re: ЗАЖИГАНИЕ ДЛЯ ВИХРЯ

И на последок

Лучше всего платы вставить в металлический корпус прикрепив тиристор через изоляционную прокладку к стенке или днище, залив все это подходящим герметиком или смолой.
Поверьте прибор будет вечным.
 

sarin nos

капитан 3-го ранга
Регистрация
29.04.2010
Сообщения
917
Карма
20
Возраст
56
Город
г.Вытегра
Лодка
Прогресс 4
Мотор
Вихрь-М, 30; Москва-25, 30
Re: ЗАЖИГАНИЕ ДЛЯ ВИХРЯ

хи,хи,ссылка! устал читать бред,как бакланы у которых и моторов нет.поставил на мотор плату мб2 с датчиком холла с приводом от магнитов маховика,получается 2 искры на цилиндр,если по часовой крутить,т.е. в ВМТ И НМТ,но есть нюанс,если крутить против часовой маховик,то тоже 2 искры на цилиндр,правда от других магнитов,т.е. когда поршни посередине пути.паразитная искра тоже есть,когда подаешь питание,но не на газе ездим-не взорвемся и еще интересный момент,когда дернешь за веревку,искры проскочили,потом с некоторой задержкой,довольно длительной появляется очень синяя искра,довольно продолжительная,как дуга.коммутатор старого образца довольно сильно нагревается,руки можно сжечь,а нового не сильно,то что отпилен магнит от датчика холла тут не причем,с магнитом также грелся.в мб22 тоже ведь 2 искры на цилиндр.
 
A

Anonymous

Guest
Re: ЗАЖИГАНИЕ ДЛЯ ВИХРЯ

sarin nos сказал(а):
хи,хи,ссылка! устал читать бред,как бакланы у которых и моторов нет.поставил на мотор плату мб2 с датчиком холла с приводом от магнитов маховика,получается 2 искры на цилиндр,если по часовой крутить,т.е. в ВМТ И НМТ,но есть нюанс,если крутить против часовой маховик,то тоже 2 искры на цилиндр,правда от других магнитов,т.е. когда поршни посередине пути.паразитная искра тоже есть,когда подаешь питание,но не на газе ездим-не взорвемся и еще интересный момент,когда дернешь за веревку,искры проскочили,потом с некоторой задержкой,довольно длительной появляется очень синяя искра,довольно продолжительная,как дуга.коммутатор старого образца довольно сильно нагревается,руки можно сжечь,а нового не сильно,то что отпилен магнит от датчика холла тут не причем,с магнитом также грелся.в мб22 тоже ведь 2 искры на цилиндр.
:lol: А кто сказал что будет легко.
В каждом случае свои подводные камни... Вы же сами себе поставили батарейное зажигание :evil:
Я тоже все эти ссылки про батарейное зажигание посмотрел. Вопросов больше чем ответов,
ДА делают
ДА мучаются потом ловя и убирая паразитную искру.
НО есть удачные конструкции правда там с ) собрано все микропроцессоре- факт удачная работа и правильный угол опережения во всех режимах обеспечен, НО ЕСЛИ ТЫ КАК МИНИМУМ ЗНАЕШЬ ЧТО ТАКОЕ ЯЗЫК ПРОГРАММИРОВАНИЯ С++ :lol: или есть знакомый токарь выточить шторку из спец стали и повторить ЖИГУЛЕВСКИЙ ТРАМБЛЕР внутри маховика.
Как сделать проще спросите у ALFa я слышал что он кому-то по спец.заказу делал.
Если Вам не лень экспериментировать попробуйте выкинуть ДАТЧИК ХОЛЛА , купить волговский коммутатор и в качестве датчика использовать родную катушку управления от МБ2.
ЕСЛИ еще проще то вернитесь к тиристору.
 

alf

ст. матрос
Регистрация
27.04.2010
Сообщения
30
Карма
0
Re: ЗАЖИГАНИЕ ДЛЯ ВИХРЯ

привет всем
 
A

Anonymous

Guest
Re: ЗАЖИГАНИЕ ДЛЯ ВИХРЯ

С Дырчика это которая на АНАЛОГЕ ОДНОПЕРЕХОДНОГО транзистора? 2 КТ361?
Должна работать. :P
 

sarin nos

капитан 3-го ранга
Регистрация
29.04.2010
Сообщения
917
Карма
20
Возраст
56
Город
г.Вытегра
Лодка
Прогресс 4
Мотор
Вихрь-М, 30; Москва-25, 30
Re: ЗАЖИГАНИЕ ДЛЯ ВИХРЯ

кхе,если бы были живы катушки и датчик,легче всего бы было спаять выносной блок,но катушки давно решены по причине молодости,зажигание мб2 прослужило год и благополучно скончалось в мае 92года в 35км от города-не стало искры и ехать бы нам на веслах до сих пор,да возили Москву М в носу,а самому не удается намотать 8000витков-не влезает,хоть тресни,на ручной моталке мотаю,но 5500 только!не получается ровненько,виток к витку.
 
A

Anonymous

Guest
Re: ЗАЖИГАНИЕ ДЛЯ ВИХРЯ

И не надо! 8000 достаточно того что у Вас получается. Если собирать по схеме в начале темы (МБ22 5500витков)-этого достаточно.
Управляющая катушка (если использовать родной сердечник МБ-2- 4000-4500 витков 0,08.
Маленькую катушку можете освободить или намотать генераторную.
 

советник

пассажир
Регистрация
01.05.2010
Сообщения
1
Карма
0
Re: ЗАЖИГАНИЕ ДЛЯ ВИХРЯ

можно схему № 3 Лукичова приспособить к мб-2 ?
 

sarin nos

капитан 3-го ранга
Регистрация
29.04.2010
Сообщения
917
Карма
20
Возраст
56
Город
г.Вытегра
Лодка
Прогресс 4
Мотор
Вихрь-М, 30; Москва-25, 30
Re: ЗАЖИГАНИЕ ДЛЯ ВИХРЯ

Гость сказал(а):
И не надо! 8000 достаточно того что у Вас получается. Если собирать по схеме в начале темы (МБ22 5500витков)-этого достаточно.
Управляющая катушка (если использовать родной сердечник МБ-2- 4000-4500 витков 0,08.
Маленькую катушку можете освободить или намотать генераторную.
чего то я на схеме параметров катушек и всяких тиристоров диодов и пр. не вижу,может не ту смотрю.зажигание мб22 выдает искру с маховиками и МВ1 и МБ2,только искра кажется слабовата,на слух не щелкает.
 
A

Anonymous

Guest
Re: ЗАЖИГАНИЕ ДЛЯ ВИХРЯ

советник сказал(а):
можно схему № 3 Лукичова приспособить к мб-2 ?
Да, конечно можно- лучше всего поставить катушку от Волги см. выше. А остальное можно оставить как есть.
Можно и использовать схему 2 ее ребята обкатали на буранах там тоже мб22
 
A

Anonymous

Guest
Re: ЗАЖИГАНИЕ ДЛЯ ВИХРЯ

sarin nos сказал(а):
Гость сказал(а):
И не надо! 8000 достаточно того что у Вас получается. Если собирать по схеме в начале темы (МБ22 5500витков)-этого достаточно.
Управляющая катушка (если использовать родной сердечник МБ-2- 4000-4500 витков 0,08.
Маленькую катушку можете освободить или намотать генераторную.
чего то я на схеме параметров катушек и всяких тиристоров диодов и пр. не вижу,может не ту смотрю.зажигание мб22 выдает искру с маховиками и МВ1 и МБ2,только искра кажется слабовата,на слух не щелкает.
Вот схемка просто невесть какая..
 
A

Anonymous

Guest
Re: ЗАЖИГАНИЕ ДЛЯ ВИХРЯ

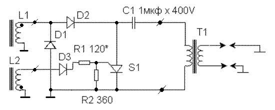
Тиристоры ставить можно в принципе любые с током 8-12А напряжением брать побольше 800-1000вольт. Катушку шунтировать диодом(желательно) Для Автомобильной катушки накопительный конденсатор нужно увеличить до 2мкф его нужно брать напряжением тоже ок 630вольт. Диоды тоже до 1000вольт 1N40007- самые распространеные
Раз заинтересовались - Вот схемка которую испытывал АЛЬФ

Это с итальянского скутера
 

sarin nos

капитан 3-го ранга
Регистрация
29.04.2010
Сообщения
917
Карма
20
Возраст
56
Город
г.Вытегра
Лодка
Прогресс 4
Мотор
Вихрь-М, 30; Москва-25, 30
Re: ЗАЖИГАНИЕ ДЛЯ ВИХРЯ

Гость сказал(а):
sarin nos сказал(а):
Гость сказал(а):
И не надо! 8000 достаточно того что у Вас получается. Если собирать по схеме в начале темы (МБ22 5500витков)-этого достаточно.
Управляющая катушка (если использовать родной сердечник МБ-2- 4000-4500 витков 0,08.
Маленькую катушку можете освободить или намотать генераторную.
чего то я на схеме параметров катушек и всяких тиристоров диодов и пр. не вижу,может не ту смотрю.зажигание мб22 выдает искру с маховиками и МВ1 и МБ2,только искра кажется слабовата,на слух не щелкает.
Вот схемка просто невесть какая..
а вот эта еще проще,на хрен какие то ограничения оборотов,не на водном велосипеде поедем,5000 не достичь на прогрессе,прокомментируйте схему,она из восстановления МБ22-23,а то опять какое-нибудь фуфло выйдет!
 

Вложения

sarin nos

капитан 3-го ранга
Регистрация
29.04.2010
Сообщения
917
Карма
20
Возраст
56
Город
г.Вытегра
Лодка
Прогресс 4
Мотор
Вихрь-М, 30; Москва-25, 30
Re: ЗАЖИГАНИЕ ДЛЯ ВИХРЯ

мне вот интересно,можно какого вида кондеры,только такого или любые пойдут,лишь бы параметры сходились?
 
A

Anonymous

Guest
Re: ЗАЖИГАНИЕ ДЛЯ ВИХРЯ

На моих фото выше именно эта простенькая схемка - без оганичителя оборотов(длинная платка)
Работает оч хорошо
 
A

Anonymous

Guest
Re: ЗАЖИГАНИЕ ДЛЯ ВИХРЯ

И еще если искры нет или она оч слабая-попробуйте поменять местами выводы управл. катушки
 
A

Anonymous

Guest
Re: ЗАЖИГАНИЕ ДЛЯ ВИХРЯ

В принципе любые только не электролитические. Все ставят китайские Они меньше наших отечественных К73
 

sarin nos

капитан 3-го ранга
Регистрация
29.04.2010
Сообщения
917
Карма
20
Возраст
56
Город
г.Вытегра
Лодка
Прогресс 4
Мотор
Вихрь-М, 30; Москва-25, 30
Re: ЗАЖИГАНИЕ ДЛЯ ВИХРЯ

а вот еще говорят датчики Холла-разная чувствительность-бред! эту чувствительность,если умеете напильник в руках держать,делайте сами какую хотите,снимаете лишнюю пластмассу и она здорово повышается,так же если датчик повернуть другой стороной к башмакам,меняется полюсность,он срабатывает от других магнитов.
 
A

Anonymous

Guest
Re: ЗАЖИГАНИЕ ДЛЯ ВИХРЯ

Вы слишком оппозитны дорогой sarin nos! Мы не можем знать все. Раз люди говорят будьте терпимее. Вы похоже не бросили идею с батарейным зажиганием?
Я думаю раз это магнитоуправляемый ПОЛУпроводник то ему можно создать такие условия чтобы он работал на вас а не против. :shock:
Не могу ничего сказать. Я не вмешиваюсь в темы которых я не касался и руками не трогал. Хоть Александр Маркс уверен в обратном.
Честно говоря меня тоже интересовала схема батарейного, но я нашел там больше минусов чем плюсов.
Почитайте свой исходник внимательней в принципе поле можно компенсировать расположив магнит позади датчика чтобы он перестал срабатывать на одноименное поле но это МОЯ ТЕОРИЯ И НИЧЕГО БОЛЕЕ.
 
A

Anonymous

Guest
Re: ЗАЖИГАНИЕ ДЛЯ ВИХРЯ

Честно говоря НИ ВАМ НЕ МНЕ особо я гляжу не охота превращаться в первооткрывателей. Поэтому и нужно сделать то что работает и принести успешным открытием навигации радость друзьям и семье. И выпить всю ее мерзкую на свежем воздухе. :mrgreen: :mrgreen:
 

sarin nos

капитан 3-го ранга
Регистрация
29.04.2010
Сообщения
917
Карма
20
Возраст
56
Город
г.Вытегра
Лодка
Прогресс 4
Мотор
Вихрь-М, 30; Москва-25, 30
Re: ЗАЖИГАНИЕ ДЛЯ ВИХРЯ

да в первооткрывателя я превратился поневоле,поверив хвальбе батарейного зажигания,но большую роль сыграло,что 2пары катушек на заряд будут работать,навигацию буду открывать на контактном,оно хоть и чих и пых,но за жизнь никогда не оставляло наедине с веслами вдалеке от родных стен.теперь идею поздно бросать,когда истрачена куча денег,ладно хоть не большая,все спаяно,залито эпоксидом,а магнит надо вообще отпилить,иначе искры и век не увидишь(привод датчика холла от башмаков магнита маховика),только персональный страница не обьяснил ничего,ладно учитель по электротехнике толковый был в техникуме,что то в башке осталось,а простому человеку вовек не допендрить,не обьяснил,что датчик,если опилить,можно любой стороной к башмакам повернуть(будет работать от других полюсов),не обьяснил в какое гнездо ставить,для какого маховика.а датчик я и сам не знаю,от какой машины,в магазине одного вида,продавцы не знают,в десятку лень лезть трамблер разбирать,искру выдает да и ладно.в плату МБ2 с маховиком МВ1 надо ставить в гнездо из-под катушки управления,только какой стороной подобрать и все точно в ВМТ срабатывает,опережение там ручное,если все поедет,будет просто замечательно.
 
A

Anonymous

Guest
Re: ЗАЖИГАНИЕ ДЛЯ ВИХРЯ

Если управляющая катушка штатная МБ2,или на этом же месте (как и в случае с батарейным) рычаг изменения УОЗ нужно оставить. Если использовать катушку МБ22 -его можно убрать.
Несмотря на одинаковый принцип- они разные!
В МБ22 магнитное поле управления замыкается аж через СТУПИЦУ маховика этим и реализовано АВТОМАТИЧЕСКОЕ ОПЕРЕЖЕНИЕ ЗАЖИГАНИЯ.B

А маховики я бы нестал пилить или магниты снимать-если у вас нет балансировочного станка. Минимум будет часто лететь подшипник коленвала- максимум отвалится вместе с конусом как у одного моего знакомого.. :cry:
 
A

Anonymous

Guest
Re: ЗАЖИГАНИЕ ДЛЯ ВИХРЯ

И еще одно подозрение. если использовать в роли управляющей катушки оставшуюся без дела 2000w катушку и убрать из схемы ДУКАТТИ цепь R3-C3? развернув градусов на 30 основание по ходу вращения может работать АУОЗ. Так же как в МБ22 -нарастание напряжения на управляющем электроде тиристора будет плавным а его период уменьшаться с увеличением угловой скорости маховика. А значит будет сокращаться время достижения напряжения открывания тиристора :roll:
Кто что думает по этому поводу?
 
Вверх Снизу