Что-то мы всё дальше от Нептуна и карбюратора. Придёт строгий модератор МИК и порежет этот флуд.
Но пока не пришёл...

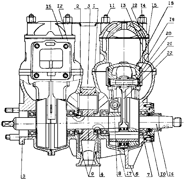
На вид этот мотор - чудовищен. И его эксплуатация не планировалась. Это эксперимент. По многим направлениям. Главное - румпель от МС-40. Он обеспечил тотальное превосходство этого мотора над серийным.

В скорости, в пушечном разгоне, в чётком попадании в настройки. Серийный мотор ему никак не соперник.
Немного этому помогали такие мелочи, как лепестковые клапаны на впуске, по карбюратору на цилиндр, свои головки с увеличенной почти вдвое степенью сжатия и камерой сгорания из концентричных сфер и развитым охлаждением. Но это так, вторичные мелочи.

Есть существенный минус. Его трудно запускать. Делалось это верёвкой. Преодолеть такую степень сжатия - не просто. Надо очень сильно прикладываться, и мотор подскакивает. О пуске одной рукой и думать нечего. Наибольшая сложность при изготовлении - средняя часть картера. Головки попроще. Клапаны - ерунда.