луха
капитан 1-го ранга
- Регистрация
- 13.07.2010
- Сообщения
- 10 922
- Карма
- 4 729
- Возраст
- 50
- Город
- Волжский-Волгоград
- Имя
- Алексей
- Лодка
- Снегоход
- Мотор
- быстрый
Re: Поделюсь и я своими стараниями по К5М3
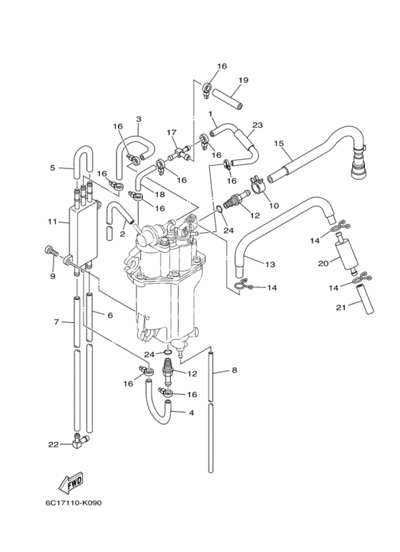
там нет пароотделителя -это корпус электробензонасоса с поплавковой камерой, фильтром на насосе и елапаном регулятором давления.,топливо сливается чтоб удалить воду,лишнюю грязь и при испарении бенза смолами игла не залипла.Poison сказал(а):трубочка предназначена для слива бензина из пароотделителя. Применяется сея процедура при консервации двигателя перед зимним хранением.









