АлександрВ

капитан 3-го ранга
Регистрация
19.04.2016
Сообщения
655
Карма
93
Город
п.Туртас
Имя
sana
Лодка
казанка
Мотор
Вихрь 30, Ветерок 8Э
Георг Ом сказал(а):
vladimirlugansk сказал(а):
Пошоркал еще вчера писАл же. К камню прилегает равномерно. Теперь хочу равномерно протянуть, а как это сделать не зная момент, я не в курсе. Каждый день головки не тяну и по этому одинаковую затяжку вряд ли сделаю.
Тянуть надо от середины к краям. По моменту затягивания в книжке лучше прочитать. На форуме книжка была точно.
С моментом не замарачивайся, тяни пока не почуствуешь что все. Вобщем если обычная большая трещетка ст. набора, то давлю не сильно, туго пошла значит хватит. И еще, смаж графиткой прокладку, тогда и прокладки хватит на долго и по герметичности лудше не придумаешь.
По протяжке, я делаю так. Нажевил все гейки до конца, потом слегка протягиваю средний ряд, далее ряд выше и ряд что ниже среднего и так далее. Тоесть разглаживаешь протяжкой от середины к верху и низу, и вторым кругом тянешь до конца.
Но как показывает практика, даже когда тянул крест накрест, то таже все прекрасно держит.
 

kav75

капитан 1-го ранга
Регистрация
16.01.2010
Сообщения
2 787
Карма
1 358
Возраст
50
Город
Томск (Северск)
Имя
Алексей
Лодка
ПВХ Нерпа-3, Самоделка (проданы), Прогресс 4, Нева есть.
Мотор
Вихрун 30, Ветерок 8М, Sea Pro 2.5, Yamaha 40 XWTL
Если мне не изменяет мой склероз, то 17 Н/м момент затяжки гаек головки.
 

vladimirlugansk

капитан 3-го ранга
Регистрация
19.07.2016
Сообщения
625
Карма
65
Возраст
47
Город
Ахтубинск
Имя
Владимир
Лодка
intex excursion 2, прогресс-4
Мотор
mercury t34, вихрь-М
Тянул как на фотке. На момент забил - тянул до того момента как перестало тянуться. Использовал рожковый ключ :D
 

Вложения

Motorix

капитан 2-го ранга
Регистрация
16.11.2010
Сообщения
1 127
Карма
131
Лодка
Южанка
Мотор
Мерк 15, Вихрь 25, Нептун 23
А после того как все протянули, дай время на "усадку" прокладки примерно сутки и еще раз все по той же картинке... В течении "приработки" тоже проверяй протяжку головки. Можно прокладку натереть перед установкой графитом. Если есть графит. Проще снимать при последующем ремонте будет. Только не мазать графитовой смазкой. Это не даст нормального прилегания. Исключительно графитовый порошок.
 

vladimirlugansk

капитан 3-го ранга
Регистрация
19.07.2016
Сообщения
625
Карма
65
Возраст
47
Город
Ахтубинск
Имя
Владимир
Лодка
intex excursion 2, прогресс-4
Мотор
mercury t34, вихрь-М
Motorix сказал(а):
А после того как все протянули, дай время на "усадку" прокладки примерно сутки и еще раз все по той же картинке... В течении "приработки" тоже проверяй протяжку головки. Можно прокладку натереть перед установкой графитом. Если есть графит. Проще снимать при последующем ремонте будет. Только не мазать графитовой смазкой. Это не даст нормального прилегания. Исключительно графитовый порошок.
Графиткой уже намазал с двух сторон. Собрал, протянул. Кинул на воду, завел и опять та же херня. Как будто простреливает нижний цилиндр. Происходит так же как и было, работает на одном, иногда включается второй, добавляешь газу, работает также через секунд 30 хлопок в карб или глушак. В понедельник поставлю другую катушку. Выходные испорчены бесследно(( Кроме того, померял сопротивление на обмотках катушек которые идут из-под маховика к блоку МБ-22. Мерял так - один щуп на провод, второй на корпус. Цифры 756 и 18 Ом. Мне кажется вторая сторона как то маловата. Как прозвонить катушку высоковольтной стороны я не знаю.
 

Motorix

капитан 2-го ранга
Регистрация
16.11.2010
Сообщения
1 127
Карма
131
Лодка
Южанка
Мотор
Мерк 15, Вихрь 25, Нептун 23
Видео работы на телефон можешь заснять?
 

vladimirlugansk

капитан 3-го ранга
Регистрация
19.07.2016
Сообщения
625
Карма
65
Возраст
47
Город
Ахтубинск
Имя
Владимир
Лодка
intex excursion 2, прогресс-4
Мотор
mercury t34, вихрь-М
Вчера затащил лодку в гараж. Там видео особо не поснимаешь, темновато. Кину движок на бочку, поставлю катушку и тогда будет голивуд.
 

АлександрВ

капитан 3-го ранга
Регистрация
19.04.2016
Сообщения
655
Карма
93
Город
п.Туртас
Имя
sana
Лодка
казанка
Мотор
Вихрь 30, Ветерок 8Э
vladimirlugansk сказал(а):
померял сопротивление на обмотках катушек которые идут из-под маховика к блоку МБ-22.
И смысл мерить? Система однокональная, простая. Там либо есть искра на обоих, либо вобще нет. К стати кто то тут нетак давно выкладывал показания замеров для мб22, поищи. Так же искра на 22 должна быть синяя, у меея даже с подсевшими магнитами синяя была. Зарз электродов только 0,6мм, проверино опытом.
vladimirlugansk сказал(а):
Как будто простреливает нижний цилиндр.
Тут я тебя непонимаю, имешь в виду через прокладку головки?
vladimirlugansk сказал(а):
Работает на одном, иногда включается второй, добавляешь газу, работает также через секунд 30 хлопок в карб или глушак
Тут пахнет негерметичностью картера. Заведи и пролей водичкой по прокладкам, скорей всего подсос воздуха, или при сборке два сальника что под колевалом установил не той стороной и топ.смесь при продувке проходит в дейдув и вот тебе хлопки при ее воспломенении.
Хлопки в карб и глушак происходят по многим причинам, пугать ими не буду, в твоем случаи пахнет негермечностью.
 

Георг Ом

капитан 1-го ранга
Регистрация
01.07.2016
Сообщения
5 779
Карма
1 744
Возраст
45
Город
Богородск
Имя
Юрий
Лодка
Есть Прогресс-2, Фрегат370С, были Орион-10 ЯРТ, Романтика, Ока-2 РЗАА, Малютка-2
Мотор
Вихри, Ветерок-8, Кама, Москва-М, ЛМ-1, Чайка
Может действительно бедная смесь детонирует и пробивает прокладку, а может прокладка перетянута, и у нее нет возможности расширяться.
 

vladimirlugansk

капитан 3-го ранга
Регистрация
19.07.2016
Сообщения
625
Карма
65
Возраст
47
Город
Ахтубинск
Имя
Владимир
Лодка
intex excursion 2, прогресс-4
Мотор
mercury t34, вихрь-М
Сегодня таки засунул катушку от волги. Поменял провода. Старые были не очень. Вечером жду машину вывезти лодку на контрольный запуск. Там и кино поснимаю.
 

Motorix

капитан 2-го ранга
Регистрация
16.11.2010
Сообщения
1 127
Карма
131
Лодка
Южанка
Мотор
Мерк 15, Вихрь 25, Нептун 23
vladimirlugansk сказал(а):
Вчера затащил лодку в гараж. Там видео особо не поснимаешь, темновато. Кину движок на бочку, поставлю катушку и тогда будет голивуд.
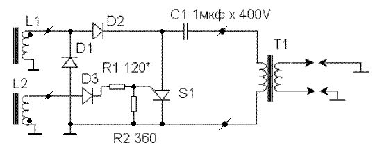
Вот некоторые замечания по неисправностям МБ-2 ... из Ктера и Яхты. Но тиристоры то такие же использовались в этих блоках. Так что в принципе все похоже.
"Набрал в местной мастерской 11 выброшенных магдино, принес их домой и исследовал на самодельном стенде. Вот что получилось: только два из одиннадцати магдино не подавали никаких признаков жизни; сняв с них катушки, я их выкинул.

Остальные девять прекрасно работали на малых и средних оборотах, но при повышении частоты вращения до 3800—4600 об/мин искрообразование нарушалось: опережение зажигания смещалось в сторону более раннего, искра становилась слабой и пропадала совсем. Напрашивался вывод — система стабилизации напряжения, предусмотренная в конструкции магдино, недостаточно эффективна, а тиристоры — отпираются не управляющими импульсами, а повышенным напряжением на анодах (явление само-пробоя).

Чтобы избавиться от этого эффекта, достаточно доработать магдино способом, описанным в «КиЯ» №127. Как показали измерения, «самопробой» тиристоров наступает при напряжении 280—330 В для разных экземпляров магдино (при комнатной температуре). С повышением температуры это напряжение уменьшается до 260 В (самый худший случай). Отсюда вывод: напряжение нужно стабилизировать на уровне не выше 250 В.
"
Мне кажется напоминает твои симптомы.
Схема стандартного МБ-22
 

Вложения

АлександрВ

капитан 3-го ранга
Регистрация
19.04.2016
Сообщения
655
Карма
93
Город
п.Туртас
Имя
sana
Лодка
казанка
Мотор
Вихрь 30, Ветерок 8Э
Motorix сказал(а):
Мне кажется напоминает твои симптомы.
Схема стандартного МБ-22
Ага, только принцып работы иной.
Все как всегда, заменим все рабочее, а потом мотор на якорь пускаем.
 

vladimirlugansk

капитан 3-го ранга
Регистрация
19.07.2016
Сообщения
625
Карма
65
Возраст
47
Город
Ахтубинск
Имя
Владимир
Лодка
intex excursion 2, прогресс-4
Мотор
mercury t34, вихрь-М
чуда не случилось. Замена катушки и проводов сделала работу чуть более стабильной. Но вся моя печаль на видео. Через несколько минут добавлю на ютуб.
 

Motorix

капитан 2-го ранга
Регистрация
16.11.2010
Сообщения
1 127
Карма
131
Лодка
Южанка
Мотор
Мерк 15, Вихрь 25, Нептун 23
АлександрВ сказал(а):
Motorix сказал(а):
Мне кажется напоминает твои симптомы.
Схема стандартного МБ-22
Ага, только принцып работы иной.
Все как всегда, заменим все рабочее, а потом мотор на якорь пускаем.
Принцип работы тиристора всегда один. А в них вся проблема обычно. Там же все понятно написано.
 

kav75

капитан 1-го ранга
Регистрация
16.01.2010
Сообщения
2 787
Карма
1 358
Возраст
50
Город
Томск (Северск)
Имя
Алексей
Лодка
ПВХ Нерпа-3, Самоделка (проданы), Прогресс 4, Нева есть.
Мотор
Вихрун 30, Ветерок 8М, Sea Pro 2.5, Yamaha 40 XWTL
Может точно сальники нижние не держат? Заодно посмотреть, прижимаются ли золотники, если не смотрел. Бывает пружинные шайбы лопаются.
 

vladimirlugansk

капитан 3-го ранга
Регистрация
19.07.2016
Сообщения
625
Карма
65
Возраст
47
Город
Ахтубинск
Имя
Владимир
Лодка
intex excursion 2, прогресс-4
Мотор
mercury t34, вихрь-М
bnAnWCIYem8[/url] вот такая вот фигня
 

neherta

капитан 1-го ранга
Регистрация
13.12.2013
Сообщения
3 677
Карма
516
Город
Костромская обл.
Имя
Николай
Лодка
ОКА 4
Мотор
ХОНДА20
Температура одинаковая после 3 х минут работы?
 

vladimirlugansk

капитан 3-го ранга
Регистрация
19.07.2016
Сообщения
625
Карма
65
Возраст
47
Город
Ахтубинск
Имя
Владимир
Лодка
intex excursion 2, прогресс-4
Мотор
mercury t34, вихрь-М
Свечи новые. Нагар по цвету одинаковый. Цвет какао с молоком. на нижней есть точки черные. На верхней нету таких точек. Местами свечи менял.
 

Motorix

капитан 2-го ранга
Регистрация
16.11.2010
Сообщения
1 127
Карма
131
Лодка
Южанка
Мотор
Мерк 15, Вихрь 25, Нептун 23
[quote="vladimirlugansk"[/media]bnAnWCIYem8 вот такая вот фигня[/quote]

Смотри зажигание. Рывки резкие. Такое впечатление что искра бьет не всегда в нужное время. Даже если бы не работал один из цилиндров, мотор бы так не колбасило. Внимательно смотри соответствие колен вала, маховика и блока МБ-22. Есть стробоскоп? Можно сделать примитивный из светодиодов и проверить искру. Точнее момент искрообразования по углу. Есть чем заменить, временно хотя бы, блок зажигания?
Вот по стробоскопу тема
topic2115.html?hilit=%D0%9F%D1%80%D0%BE%D1%81%D1%82%D0%BE%D0%B9%20%D1%81%D1%82%D1%80%D0%BE%D0%B1%D0%BE%D1%81%D0%BA%D0%BE%D0%BF%20%D0%BD%D0%B0%20%D1%81%D0%B2%D0%B5%D1%82%D0%BE%D0%B4%D0%B8%D0%BE%D0%B4%D0%B5#p27067
 

АлександрВ

капитан 3-го ранга
Регистрация
19.04.2016
Сообщения
655
Карма
93
Город
п.Туртас
Имя
sana
Лодка
казанка
Мотор
Вихрь 30, Ветерок 8Э
Motorix сказал(а):
Принцип работы тиристора всегда один. А в них вся проблема обычно. Там же все понятно написано.
Один ппинцып или нет, об этом лутше спросить у Танкиста.
Я знаю что МВ2 и МБ22, это обсалютно два разных зажигания, что он в МВ забыл я незнаю а в МБ он отвечает за скачек в опережения, притом если он сдыхает то зажигание неработает вобще. В МВ2, УОЗ чисто механический, значит и тристоры там иные и для других целей.
И я уже писал что система ОДНОКОНАЛЬНАЯ! Если работает на одном, причину нужно искать в железе, а не в проводах, за исключением свечи конечно.
 

vladimirlugansk

капитан 3-го ранга
Регистрация
19.07.2016
Сообщения
625
Карма
65
Возраст
47
Город
Ахтубинск
Имя
Владимир
Лодка
intex excursion 2, прогресс-4
Мотор
mercury t34, вихрь-М
Строб есть. Акум заряжу и попробую. Я сначала думал сбился угол. Но когда ставил зажигание, поставил по меткам и метки эти на месте. Блока запасного нет. Есть куски МБ-1. Поставить что ли ради эксперимента?
 

neherta

капитан 1-го ранга
Регистрация
13.12.2013
Сообщения
3 677
Карма
516
Город
Костромская обл.
Имя
Николай
Лодка
ОКА 4
Мотор
ХОНДА20
vladimirlugansk сказал(а):
Свечи новые. Нагар по цвету одинаковый. Цвет какао с молоком. на нижней есть точки черные. На верхней нету таких точек. Местами свечи менял.
А температура как?
 

vladimirlugansk

капитан 3-го ранга
Регистрация
19.07.2016
Сообщения
625
Карма
65
Возраст
47
Город
Ахтубинск
Имя
Владимир
Лодка
intex excursion 2, прогресс-4
Мотор
mercury t34, вихрь-М
Да норм температура. Не греется, с контрольки вода идет на видео же видно, брызгает.
 

neherta

капитан 1-го ранга
Регистрация
13.12.2013
Сообщения
3 677
Карма
516
Город
Костромская обл.
Имя
Николай
Лодка
ОКА 4
Мотор
ХОНДА20
Я не про то. Я про свечи. Через 3 мин работы снимаешь колпаки и за изолятор трогаешь свечу. Рука человека чувствует разницу в 0,25 градуса.
 
Вверх Снизу