танкист

капитан 1-го ранга
Регистрация
15.11.2014
Сообщения
12 410
Карма
3 901
Город
г. Пермь
Имя
Андрей
Лодка
Прогресс-4
Мотор
Нептун-23 Вихрь-25 Вихрь-30 Ветерок-8М Johnson-60
Все очень просто-двухканальный осцилограф и все ясно и понятно в реальном времени. Я доверяю приборам.
Что необычного и интересного показывает двух канальный осциллограф в разряде конденсатора на индуктивность?
На слух, на глаз, на вонь- я так же не привык работать с электроникой. Приборы это инструменты любого радиолюбителя или мастера по ремонту. И наверно не один слесарь не работает без соответствующих инструментов.
 

MotorHead

капитан 3-го ранга
Регистрация
15.02.2013
Сообщения
988
Карма
106
Город
Золотое. Луганская обл. Украина.
Лодка
Обь1.
Мотор
Вихрь-М. Yamaha F20. Волк меньше медведя , но в цирке выступает именно МЕДВЕДЬ
Все обычно, одним каналом смотрим что происходит в первичной обмотке ,вторым смотрим что происходит во вторичной обмотке,смотрим это на одном экране и сильно удивляемся как такое может быть - сердечник один форма сигнала разная и в придачу не в одно и тоже время .Вобщем как то так.
 

танкист

капитан 1-го ранга
Регистрация
15.11.2014
Сообщения
12 410
Карма
3 901
Город
г. Пермь
Имя
Андрей
Лодка
Прогресс-4
Мотор
Нептун-23 Вихрь-25 Вихрь-30 Ветерок-8М Johnson-60
Все обычно, одним каналом смотрим что происходит в первичной обмотке ,вторым смотрим что происходит во вторичной обмотке,смотрим это на одном экране и сильно удивляемся как такое может быть - сердечник один форма сигнала разная и в придачу не в одно и тоже время .Вобщем как то так.
Форму и амплитуду вторичного напряжения ВВ трансформатора системы зажигания СДИ я видел и знаю. Работал этот трансформатор не посредственно на моторе. То есть на реактивное сопротивление. По этому я не могу пока понять ход твоих мыслей.
Наверно стоит тебе подробней сформулировать суть.

Напомню- этот длинный разговор на три страницы, начался с не точных данных энергии искры. Позже Володя поправил данные и абсолютно верно указал что энергия выросла в конденсаторе.
Если опять же отдать на суд вопрос энергии искры или просто коэффициента трансформации, царице всех наук- математике.
То выглядеть он будет так.

Замеряем напряжение разряда конденсатора осциллографом на первичной обмотке ВВ трансформатора.
Оно равно, допустим максимально 300 вольт в амплитуде.
Смотрим справочные данные коэффициента трансформатора. Допустим К=80
Далее уравнение. 300х80=24000= 24kV.
Проверяем достоверность расчета на практике.

Устанавливаем на разряднике зазор 24 мм. Подключаем осциллограф в первичную обмотку трансформатора для контроля напряжения разряда и начинаем медленно повышать обороты маховика.

Видим и слышим следующую картинку. Напряжение разряда конденсатора 100 вольт. Искры в разряднике нет, но магнитопровод дает отчетливые щелчки вызванные работой магнитного поля.
Напряжение разряда конденсатора 200 вольт. Искры в разряднике нет. Магнитопровод дает более громкие щелчки.
Напряжение разряда конденсатора 280 вольт. Появились разряды в разряднике, но с пропусками. То есть не каждый разряд конденсатора переходит в разряд на разряднике.
Напряжение 290-300 вольт. Разряды в разряднике стабильные без пропусков.

Всего одно математическое уравнение и небольшая лабораторная работа. Этого более чем достаточно что бы узнать в системе СДИ самые важные характеристики.

Аналогично можно установить и коэффициент трансформатора, если он не известен изначально.
Не трудно догадаться как это сделать с помощью элементарного разрядника и осциллографа.

Далее последний не маловажный показатель. Время разряда конденсатора, оно же и время горения дуги на разряднике свечи.
Время это исчисляется началом первого полупериода затухающего переменного тока в первичной обмотке ВВ трансформатора и концом полупериода с напряжением 50 вольт. Ниже 50 вольт бесполезная часть напряжения которая не несет разряда на свече.

Сумма всех полупериодов по времени от первого и до последнего, и есть время горения дуги в разряднике свечи.
Так же элементарно проверяется осциллографом.
 

Андрей-3-1

капитан 1-го ранга
Регистрация
11.09.2016
Сообщения
2 337
Карма
1 089
Город
Самара
Лодка
Была алюминиевая, была летающая, теперь надувная.
Мотор
Салют, Ветерок 8-12, Вихрь-30, Ямаха-25, МТР-2.5, Джонсон-25, Хайди-20.
Переход от теории к практики с возвратом в теорию.
Поставил новое электронное зажигание. В бочке работало хорошо, на воде стали заметны перебои в работе мотора. А спустя пару часов хода перебои стали катастрофические, с полным отрубанием одного цилиндра. Но в чём засада - на холостых мотор работает хорошо, а при прибавлении оборотов и отключении одного канала зажигания, сбоит практически одинаково. И как теперь найти причину сбоев без осциллографа? Свечи менял, никак не сказались. Остаются модуль зажигания, катушка зажигания, и накопительная с управляющей.
 

Voivano

вице-адмирал
Команда форума
Регистрация
11.08.2016
Сообщения
5 118
Карма
2 445
Возраст
65
Город
Ачинск
Имя
Владимир
Лодка
Ракета РЛ-380
Мотор
Ветерок 8, Ветерок 12, Yamaha 6E3S (5CSMH), Москва М, Гибрид 7 лс. Гибрид 8 лс. Стрела и еще разные.
Мотор какой? Если Ветерок, то скорее всего катушки.
 

Сергей Б

капитан 1-го ранга
Регистрация
09.12.2017
Сообщения
5 412
Карма
1 598
Возраст
61
Город
Москва
Имя
Сергей
Лодка
А нету.
Мотор
Тоже нету.
Я сейчас экспериментирую с ВТ-258 и схемой имени Юрия Лукича, не люблю эту схему, но нужно втиснуть в мотор Д-4 под крышку. Начал ещё зимой, но не понравилось как работает, на катушке 5000 витков, заводится идеально, до 3000 оборотов и опережение есть какое то, и искра вобщем терпимая. При 3300 УОЗ начинает запаздывать, при 3700 начинаются пропуски. Подбирал резисторы, менял ёмкость накопителя, при 0,47 стабильно, но это не искра.
Вобщем перемотал катушку, 2500 витков 0,13 + 2500 витков 0,0112.
На 2500 завести наверное можно только с горки, искра появляется где то при 700-800 оборотах, с полной катушкой искра есть при резком провороте отвёрткой за винт магнита, а на 2500 витках искра нормальная во всём диапазоне, и УОЗ градусов под 20, правда тоже круто набирает вначале, но всётаки лучше чем фиксированный.
Сейчас хочу с динистором попробовать, как когда то на минских мотоциклах было.
 

танкист

капитан 1-го ранга
Регистрация
15.11.2014
Сообщения
12 410
Карма
3 901
Город
г. Пермь
Имя
Андрей
Лодка
Прогресс-4
Мотор
Нептун-23 Вихрь-25 Вихрь-30 Ветерок-8М Johnson-60
Я сейчас экспериментирую с ВТ-258 и схемой имени Юрия Лукича, не люблю эту схему, но нужно втиснуть в мотор Д-4 под крышку.
Схема №3 очень прожорливая Серёжа. На Д-4 генератор под эту схему надо мотать 0.25- 0.28 до заполнения каркаса.
Тогда ещё можно что то получить.

А что тебе не нравится автомат Новикова для этого мотора?
Я сделал его и получил великолепные результаты.

156436156437156438
 

Сергей Б

капитан 1-го ранга
Регистрация
09.12.2017
Сообщения
5 412
Карма
1 598
Возраст
61
Город
Москва
Имя
Сергей
Лодка
А нету.
Мотор
Тоже нету.
Дык на динисторе DB-3 сейчас собираю, и отвод на обмотке сделал, просто у новикова динистора не было, он собрал аналог динистора, на котором светорегуляторы собирали.
Схема №3 насколько проста в сборке, настолько сложна в настройке, на многих форумах с ней бьются, то катушки горят, то угол не там, то УЭ пробивает.
Я просто попробовать решил, окончательно точно будет не она, потомучто хочу ещё хотя бы 3 ватта получить на светодиод, а он у этой схемы уводит угол на 6-8 градусов.
Видимо всётаки сделаю отдельный индуктивный датчик, что бы угол не плавал от нагрузки.
Хотя, по нынешним временам, фару нужно всегда держать включенной, так безопаснее.
 

Андрей-3-1

капитан 1-го ранга
Регистрация
11.09.2016
Сообщения
2 337
Карма
1 089
Город
Самара
Лодка
Была алюминиевая, была летающая, теперь надувная.
Мотор
Салют, Ветерок 8-12, Вихрь-30, Ямаха-25, МТР-2.5, Джонсон-25, Хайди-20.
Мотор какой? Если Ветерок, то скорее всего катушки.
Джонсон 18-20-25. Катушки и модуль от Самоделкина. Как можно вычислить неисправный элемент зажигания? Неужели только заменой?
 

Сергей Б

капитан 1-го ранга
Регистрация
09.12.2017
Сообщения
5 412
Карма
1 598
Возраст
61
Город
Москва
Имя
Сергей
Лодка
А нету.
Мотор
Тоже нету.
Скользкий вопрос :D, электронщик вычислит неисправность без замены, неэлектронщик только с заменой.
Подмаховичные зарядные катушки можно проверить лампочкой накаливания на 220 вольт 7 ватт, при вращении мотора электродрелью должны светиться в четверть накала или ярче, но одинаково, лучше взять две лампочки, и проверять одновременно.
Сигнальные катушки можно проверить 1 ваттным светодиодом, должен пыхать при продёргивании.
Катушки зажигания меняются местами, где пропало там труп.
С коммутатором сложнее, его нужно подключить высоковольтным входом через ту же лампочку к анодной обмотке трансформатора от старого лампового приёмника, там обычно 250 вольт, а сигнальные входы подключить к накальной обмотке через резистор на 100 ом, на этой обмотке 6,3 вольта. В обеих катушках должна появиться постоянная искра.
Если есть друзья электронщики, они всё это сделают за полчаса.
 

Андрей-3-1

капитан 1-го ранга
Регистрация
11.09.2016
Сообщения
2 337
Карма
1 089
Город
Самара
Лодка
Была алюминиевая, была летающая, теперь надувная.
Мотор
Салют, Ветерок 8-12, Вихрь-30, Ямаха-25, МТР-2.5, Джонсон-25, Хайди-20.
С электроникой дружу, только засада в том что неисправность плавающая и проявляется на высоких оборотах. Не факт что дрелью так раскрутишь.
 

Сергей Б

капитан 1-го ранга
Регистрация
09.12.2017
Сообщения
5 412
Карма
1 598
Возраст
61
Город
Москва
Имя
Сергей
Лодка
А нету.
Мотор
Тоже нету.
Можно параллельно первичкам катушек зажигания поставить неонки или светодиоды, пропуски сразу будут видны, или неонки на высокой стороне, последовательно со свечой.
В 90-е даже были высоковольтные провода с неонками в свечных наконечниках, я ими какраз пользовался для диагностики, очень наглядно.
 

yoric

капитан 1-го ранга
Регистрация
06.05.2012
Сообщения
6 118
Карма
696
Город
Нью-сибирск
Имя
Йорик, в миру Юрий
Лодка
Ока4
Мотор
П25
хочу ещё хотя бы 3 ватта получить на светодиод
 

танкист

капитан 1-го ранга
Регистрация
15.11.2014
Сообщения
12 410
Карма
3 901
Город
г. Пермь
Имя
Андрей
Лодка
Прогресс-4
Мотор
Нептун-23 Вихрь-25 Вихрь-30 Ветерок-8М Johnson-60
Джонсон 18-20-25. Катушки и модуль от Самоделкина. Как можно вычислить неисправный элемент зажигания? Неужели только заменой?
Андрей, нужно проверить касание полюсных наконечников о сердечники. Это первое и основное. Далее нужно проверить правильность монтажа.

Неисправность деталей проверяют обычным тестером. ВВ трансформаторы на сопротивление. (обрыв первичной и вторичной намотки)
И наконец простой способ установить причину, подключить обычный стрелочный вольтметр к аноду тиристора. Если такой возможности нет, то к накопительной катушке. То есть нужно измерить высокое напряжение, либо уже не посредственно на конденсаторе, либо по пути к нему, то есть до выпрямителя. Если там нет ни каких скачков и провалов, стало быть причина лежит в ВВ трансформаторе, или после него.
А после него у нас ВВ провода и свечные колпачки которые могут быть с неисправными резисторами. (сопротивление звонится как обрыв.)
 

танкист

капитан 1-го ранга
Регистрация
15.11.2014
Сообщения
12 410
Карма
3 901
Город
г. Пермь
Имя
Андрей
Лодка
Прогресс-4
Мотор
Нептун-23 Вихрь-25 Вихрь-30 Ветерок-8М Johnson-60
Дык на динисторе DB-3 сейчас собираю, и отвод на обмотке сделал, просто у новикова динистора не было, он собрал аналог динистора, на котором светорегуляторы собирали.
Ты про какую схему на динисторе? Мы похоже говорим о разных схемах. Схема №3 она же Лукича- это заводская схема ПЛМ Тохатсу.
В ней нет опережения и динисторов. А если имеется опережение, то это говорит о том что схема работает не в режиме.


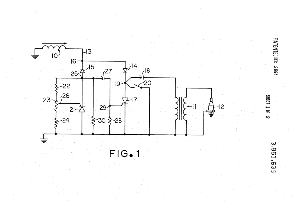
С регулировкой есть схема из патента. Ты вот про эту?

156473
Если про эту, то автоматического опережения и в этой схеме нет. Тут только ручная регулировка.
Это всё та же схема №3 но в ней как видишь есть дополнительный микротоковый тиристор который и смещает угол в очень не большом диапазоне. В реальности на магнитной системе Нептуна угол смещается на 5-8 градусов.
 

Андрей-3-1

капитан 1-го ранга
Регистрация
11.09.2016
Сообщения
2 337
Карма
1 089
Город
Самара
Лодка
Была алюминиевая, была летающая, теперь надувная.
Мотор
Салют, Ветерок 8-12, Вихрь-30, Ямаха-25, МТР-2.5, Джонсон-25, Хайди-20.
Нужно измерить высокое напряжение, либо уже не посредственно на конденсаторе, либо по пути к нему, то есть до выпрямителя. Если там нет ни каких скачков и провалов, стало быть причина лежит в ВВ трансформаторе, или после него.
А после него у нас ВВ провода и свечные колпачки которые могут быть с неисправными резисторами. (сопротивление звонится как обрыв.)
Начнём с простого: свечи, провода, наконечники - с ними всё отлично, проблем нет.

А вот с измерением напряжения с катушки засада - ведь к примеру если даёт сбои модуль зажигания, то нагрузка на катушку будет меняться, и напряжение будет прыгать. Так что такая диагностика может только обмануть.
 

Сергей Б

капитан 1-го ранга
Регистрация
09.12.2017
Сообщения
5 412
Карма
1 598
Возраст
61
Город
Москва
Имя
Сергей
Лодка
А нету.
Мотор
Тоже нету.
Андрей, вот видео работы 2500 витков, я ещё не дочитал что это за схема, но что то простое.
На динисторе вот. Схема из патента то же самое, только напряжение пробоя можно регулировать. Суть в катушке с малой индуктивностью, с 5000 витков всё хуже работает, только искра мощнее, а опережения нет.
 

Вложения

Последнее редактирование:

Сергей Б

капитан 1-го ранга
Регистрация
09.12.2017
Сообщения
5 412
Карма
1 598
Возраст
61
Город
Москва
Имя
Сергей
Лодка
А нету.
Мотор
Тоже нету.
Вот, я потому и озадачился преобразователем.
 

танкист

капитан 1-го ранга
Регистрация
15.11.2014
Сообщения
12 410
Карма
3 901
Город
г. Пермь
Имя
Андрей
Лодка
Прогресс-4
Мотор
Нептун-23 Вихрь-25 Вихрь-30 Ветерок-8М Johnson-60
А вот с измерением напряжения с катушки засада - ведь к примеру если даёт сбои модуль зажигания, то нагрузка на катушку будет меняться, и напряжение будет прыгать. Так что такая диагностика может только обмануть.
Это как раз и есть суть диагностики. Коммутатор и вся накопительная часть включая генераторные катушки, не зависит от ВВ трансформатора. То есть если есть скажем межвитковое замыкание в генераторной катушке, или касание наконечников, то напряжение заряда будет нелинейно расти от оборотов.
Тут как раз и будут проявляться скачки напряжения. А скачков быть не должно.То есть конденсатор должен заряжаться от повышения оборотов без всяких скачков. Эти же скачки можно диагностировать и по переменному току, то есть до выпрямителя и конденсатора. До коммутатора одним словом.

Соответственно ВВ трансформатор, если имеет межвитковое замыкание вторичной обмотки, или обрыв её, то пропуски искры будут уже на выходе трансформатора. Это можно диагностировать в первичной обмотке, но увы уже только осциллографом, или заменой ВВ трансформатора.
То есть нужно понять, на каком этапе есть перебои. На этапе заряда конденсатора, или на этапе уже трансформации разряда.
А далее всё элементарно. Замена неисправных элементов системы зажигания.
 

танкист

капитан 1-го ранга
Регистрация
15.11.2014
Сообщения
12 410
Карма
3 901
Город
г. Пермь
Имя
Андрей
Лодка
Прогресс-4
Мотор
Нептун-23 Вихрь-25 Вихрь-30 Ветерок-8М Johnson-60
Андрей, вот видео работы 2500 витков, я ещё не дочитал что это за схема, но что то простое.
Я понял о чем речь. Тут надо повозиться с подбором данных катушки. У Д-4 Д-6 красивая и широкая амплитуда импульса. На ней можно реализовать любой УОЗ буквально до 60 градусов. Но путь ты выбрал не простой. Схема очень затратная по току. Если скажем так избавится от лишних затрат тока, то можно не принужденно регулировать угол чисто элементами схемы.
 

Сергей Б

капитан 1-го ранга
Регистрация
09.12.2017
Сообщения
5 412
Карма
1 598
Возраст
61
Город
Москва
Имя
Сергей
Лодка
А нету.
Мотор
Тоже нету.
Я вобщем из любопытства хочу попробовать и отмакетировать то о чём пишут, а себе буду собирать с карасёвским преобразователем на Джонсон, только пока не пробовал запустить его на два канала, а товарищу на Дэшку однозначно будет двухполупериодный выпрямитель и возможно отдельный индуктивный датчик с микротоковым тиристором, попробую 5Р4М, ВТ 258 и MCR 8, или "дарлингтон" на MCR 100 управляющий ВТ 145 или 152, у сотого пофакту ток управления вообще 2мка.
У меня УЭ всегда защищён диодами от перегрузки, и диоды в отличие от резистивного делителя, не мешают микротоковому тиристору видеть магниты за 3-5 сантиметров, с отдельным датчиком УОЗ должен получиться правильный, может получится в Джонсоне избавиться от механики, хотя она там неюзанная и раздолбанная.
 
Последнее редактирование:

Андрей-3-1

капитан 1-го ранга
Регистрация
11.09.2016
Сообщения
2 337
Карма
1 089
Город
Самара
Лодка
Была алюминиевая, была летающая, теперь надувная.
Мотор
Салют, Ветерок 8-12, Вихрь-30, Ямаха-25, МТР-2.5, Джонсон-25, Хайди-20.
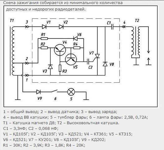
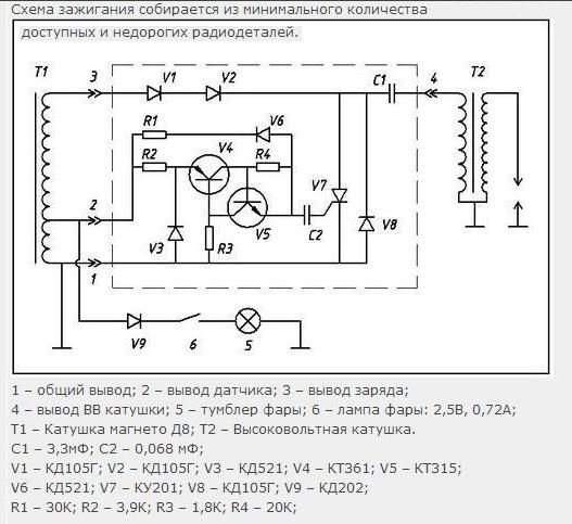
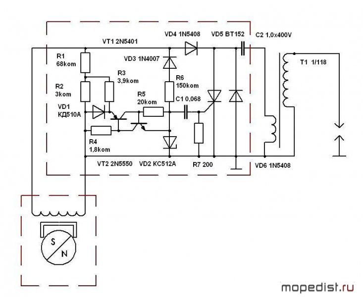
Ну в общем чем гадать что и почему не работает, быстренько собрал схему зажигания из 5 деталей, подключил, и мотор запел!
Что ни говори редкость конечно что блок зажигания сгорает не совсем, а начинает сбоить, но чего в жизни не бывает.
Оставлю схему тут, может кому пригодится.
 

Сергей Б

капитан 1-го ранга
Регистрация
09.12.2017
Сообщения
5 412
Карма
1 598
Возраст
61
Город
Москва
Имя
Сергей
Лодка
А нету.
Мотор
Тоже нету.
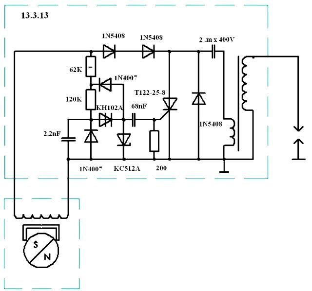
Андрей, здесь выпрямительный диод должен быть из двух послдовательно, когда конденсатор заряжен до 400 вольт, на катушке в обратной полярности может быть 600-700, и оно на диоде сложится в 1000 и более, сейчас уже многие рисуют схемы с двумя диодами.
 

Вложения

Андрей-3-1

капитан 1-го ранга
Регистрация
11.09.2016
Сообщения
2 337
Карма
1 089
Город
Самара
Лодка
Была алюминиевая, была летающая, теперь надувная.
Мотор
Салют, Ветерок 8-12, Вихрь-30, Ямаха-25, МТР-2.5, Джонсон-25, Хайди-20.
Интересно, симистор даёт какую то выгоду в устройствах зажигания по сравнению с тиристором? Может автоколебания дольше затухают?
 
Вверх Снизу