tushev
капитан 3-го ранга
- Регистрация
- 21.03.2012
- Сообщения
- 593
- Карма
- 20
- Возраст
- 56
- Имя
- Андрей
- Лодка
- (Был Прогресс-2), Есть Крым, Прогресс-4, Кайман 280, Прогресс-2М
- Мотор
- остался только Вихрь20, Хонда5, YAMAHA F 25 DES
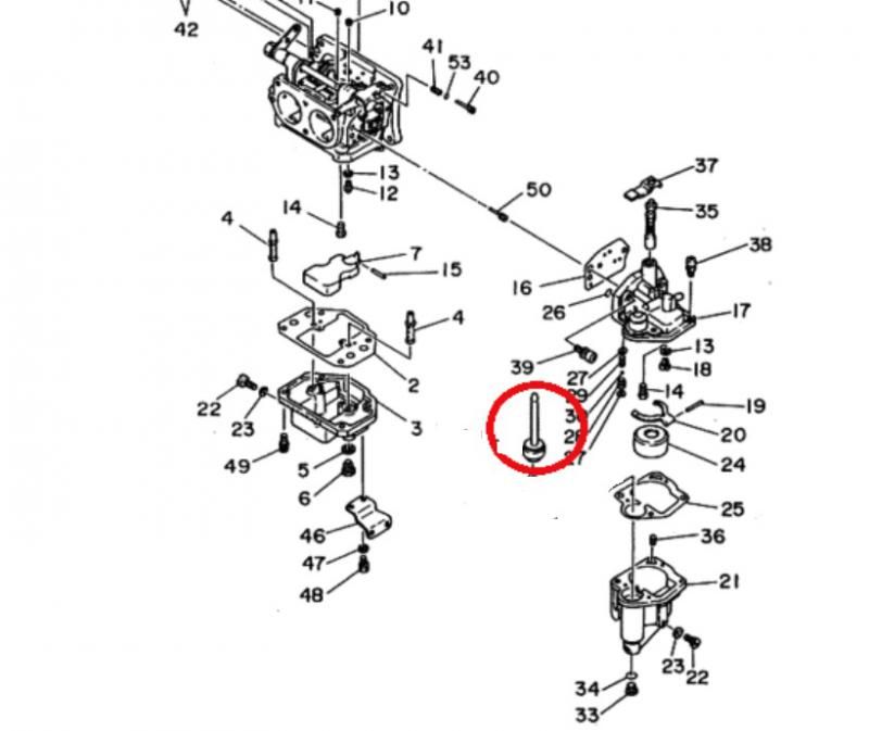
Re: Yаmaha 40 JEMK kerosene (Код модели: 6H9). 1993г.
Давай пополняй, а то скучновато стало, хорош бездельничать. Как ни как мне про керосинку тоже интересно.Саня С сказал(а):крутятся без заеданий.
я Старался. да есть "кулибины" да если еще и не для себя делают
