JVL
капитан 3-го ранга
- Регистрация
- 14.03.2016
- Сообщения
- 844
- Карма
- 249
- Город
- Ногинск
- Имя
- Юрий
- Лодка
- Романтика 3, Nissamaran TR320, Hydra 350
- Мотор
- Mercury 15M
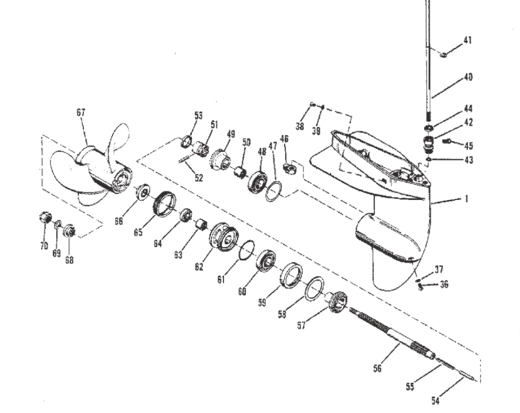
Сальники буквально любых размеров в т.ч. дюймовых в "Оилсеал" на Амурской д. 2 Сейчас Квиксилвер заказывает сальники у WLT. Брал на днях верхний и нижний сальники на 15-ку. Сравнил с родными 1 в 1 только названия WLT на оригинале не было. Цена 89 и 44 р. а ориганал 867 и 268 соответственно.
Вот например сальник гребного вала с родной посадкой в 1 дюйм (25,4) по валу на 0.2 мм поменьше, по высоте тоже меньше на 0,2мм Ссылка
Вы размеры сальников исходя из замеров взяли? Если переводить из дюймов в мм то размеры не такие.Сальник вала гребного винта 14,3*25,5*8 ; Сальник помпы (низ) 11*22*6,5 ; Сальник помпы (верх) 11*21,5*4,7 ; Сальник штока переключения передач 7,8*15*3,5
Вот например сальник гребного вала с родной посадкой в 1 дюйм (25,4) по валу на 0.2 мм поменьше, по высоте тоже меньше на 0,2мм Ссылка



