дмитрий22
капитан 2-го ранга
- Регистрация
- 11.05.2010
- Сообщения
- 1 472
- Карма
- 160
- Город
- Украина,Херсон
- Имя
- Дмитрий
- Лодка
- "Крым"; "Кайман-305";"Пелла Фиорд 430"
- Мотор
- Джонсон 15 4-т, Ветерок-12, Вихри
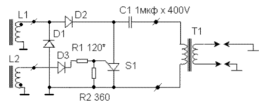
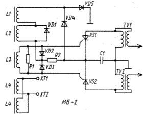
Новая система зажигания CDI для моторов Вихрь с МВ-1 или МБ-2, Нептун, Привет, Прибой с МН-1
Вложения
-
154,6 КБ Просмотры: 1 837
Последнее редактирование модератором: