Александр Marx

капитан 2-го ранга
Регистрация
06.02.2010
Сообщения
1 304
Карма
98
Возраст
57
Город
г. Маркс Саратовская обл.
Имя
Александр.
Лодка
Нептун.
Мотор
Tohatsu MFS 30B EPTS
Re: Батарейное зажигание для Вихря.

По мосту, верно подключено.
Повозился, рассмотрел. Все верно. Только каждый корпус не должен замыкать на крепежную пластину.
Если используете штатное подключение к заводским генераторным катушкам, и этот диодный мост, то реле регулятор ставить не нужно. Ток не превысит 3-4 ампер, а если магниты подсевшие ток будет еще меньше, этот ток достигается при оборотах 4000 до 5000.
Для получения зарядного тока при минимальных оборотах, используем две пары генераторных катушек и два диодных моста последовательно. Схема на первой странице, тогда реле регулятор необходим.
 

Aleksanders

матрос
Регистрация
12.08.2010
Сообщения
29
Карма
1
Город
Г.Орёл
Re: Батарейное зажигание для Вихря.

Провода стоят с сечением 0,75 такие же как и на фарах в авто, даже побольше.
Проверить скорее всего ни как не получится, так как негде взять трансформатор 10-20 Вольт. И автоэлетриков нужно у нас еще и поикать! Все занятые работой, а на такую "ерунду" (по их мнению) у этих электриков времени нет. А что если проверить на месте, на моторе???
Последовательное подключение - это плюс к плюсу, минус к минусу или + к -?
Крепление к корпусу исправим.
А сейчас ничего страшного если будет стоять реле-регулятор?
 

Александр Marx

капитан 2-го ранга
Регистрация
06.02.2010
Сообщения
1 304
Карма
98
Возраст
57
Город
г. Маркс Саратовская обл.
Имя
Александр.
Лодка
Нептун.
Мотор
Tohatsu MFS 30B EPTS
Re: Батарейное зажигание для Вихря.

По реле, может не хватить напряжения для нормальной работы. Но работать будет.
На движке проверить естественно можно, только рекомендую пока без реле подключить сразу к аккумулятору, затем на клеммах во время работы двигателя замерить напряжение. на малых оборотах, на средних, и на максимальных. Без аккумулятора замерить не получится, показания будут не стабильны.....

Последовательное подключение, это когда + к -. Как батарейки в приемнике.
Там на первой странице есть это подключение, поймете.
А + к + . - к - это параллельное.
 

Aleksanders

матрос
Регистрация
12.08.2010
Сообщения
29
Карма
1
Город
Г.Орёл
Re: Батарейное зажигание для Вихря.

Спасибо буду пробовать!!! О результатах отпишусь сразуже.
P.S. Я полный чайник в радиоэлектронике, т.к. профессия далеко не связана с электричеством.
Спасибо Вам что объясняете азы электротехники!
 

alexsims

ст. лейтенант
Регистрация
06.07.2010
Сообщения
312
Карма
7
Возраст
39
Город
Моск. Область. С.Дединово.
Имя
Александр
Лодка
ока-4, казанка
Мотор
эвинруд-50 ларк 1973 г., вихрь-30
Re: Батарейное зажигание для Вихря.

Привет всем!!! Решил в общем ппопобовать батарейную систему зажигания. Схему Дмитрия отложил до лучших времен когда маховик нормальный найду. В общем купил проводку, коммутатор, датчик холла, все от 2108,бабина с оки. От датчика оторвал магнит, сделал в общем все так:
065.JPG066.JPG067.JPG068.JPG

Маховик от МБ-2, так вообще искры нет, при проводке одного датчика от одного магнита к другому искра проскакивает, а когда все в сборе нет искры. зазор между маховиком и датчиком минимальный. Вот фотки. Контактный маховик тоже пробовал, нет искры. Кто что может подсказать по данной проблеме?
 

Вложения

alexsims

ст. лейтенант
Регистрация
06.07.2010
Сообщения
312
Карма
7
Возраст
39
Город
Моск. Область. С.Дединово.
Имя
Александр
Лодка
ока-4, казанка
Мотор
эвинруд-50 ларк 1973 г., вихрь-30
...вот еще фотки...
 

Вложения

alexsims

ст. лейтенант
Регистрация
06.07.2010
Сообщения
312
Карма
7
Возраст
39
Город
Моск. Область. С.Дединово.
Имя
Александр
Лодка
ока-4, казанка
Мотор
эвинруд-50 ларк 1973 г., вихрь-30
...маховик...
 

Вложения

ribac666

капитан 2-го ранга
Регистрация
03.06.2010
Сообщения
1 209
Карма
74
Возраст
51
Город
Россия
Имя
Владимир
Лодка
Колибри-240,Колибри КМ-330Д, Таврия
Мотор
Меркурий 6, ямаха 2, вихрь 30, ветерки 8-12, гибриды 2-6,5л.с
Re: Батарейное зажигание для Вихря.

возможно не подходит сам датчик вроде они имеют отличия по принципу срабатывания у меня эта схема пашет 5 год без проблем другие мучались проще сделать со шторками будет работать любой датчик
 

Александр Marx

капитан 2-го ранга
Регистрация
06.02.2010
Сообщения
1 304
Карма
98
Возраст
57
Город
г. Маркс Саратовская обл.
Имя
Александр.
Лодка
Нептун.
Мотор
Tohatsu MFS 30B EPTS
Re: Батарейное зажигание для Вихря.

Расстояние до башмаков от датчика попробовать увеличить, крепить его можно и на расстоянии 1 см в глубь самой ванночки, но в том же месте. Для этого можно его в таком положении прихватить герметиком, но глубже к центру. Если будет работать залить совсем. В противном случае заменить сам датчик, как посоветовал ribak666.
Закрепите глубже, не на край...., если искра не в тот момент, переверните его другой стороной на 180 гр. Там все просто, попробуйте, все получиться.
 

alexsims

ст. лейтенант
Регистрация
06.07.2010
Сообщения
312
Карма
7
Возраст
39
Город
Моск. Область. С.Дединово.
Имя
Александр
Лодка
ока-4, казанка
Мотор
эвинруд-50 ларк 1973 г., вихрь-30
Re: Батарейное зажигание для Вихря.

Спасибо большое! Попробую.
 

igorM_

лейтенант
Регистрация
02.09.2010
Сообщения
255
Карма
9
Город
Измаил, Украина
Имя
Игорь
Лодка
МКМ
Мотор
Вихрь30,СУЗА15
Re: Батарейное зажигание для Вихря.

С интересом просматриваю эту и подобные темы, т.к. у самого ВИХРЬ и проблемы с устойчивой работой на малых оборотах по причине слабой искры.
Что нам надо от мотора?
1.НАДЁЖНОСТЬ, РЕМОНТОПРИГОДНОСТЬ.
2.Лёгкий пуск, устойчивая работа на разных режимах.
Короче, чтоб при поломке на выезде можно было отремонтировать и вернуться...
Таскать с собой кучу запчастей тоже не выход.
Исходя из этого, решил сделать электронное зажигание на базе имеющегося контактного, чтоб в случае чего с минимальными затратами вернуться к исходной схеме.
За основу решил использовать модернизированную схему Ю. Сверчкова
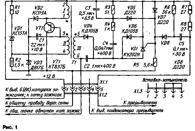
Эта конструкция может быть рекомендована подготовленным радиолюбителям, уже имеющим опыт изготовления простых блоков зажигания и желающим иметь устройство, из которого, образно говоря, «выжато» все, на сегодня кажущееся возможным. За истекшие годы стабилизированный блок зажигания [1] повторили очень многие авто- и радиолюбители, и несмотря на выявленные недостатки, можно считать, что он проверку временем выдержал. Существенно также, что в литературе пока не появились публикации сходных по простоте конструкций с аналогичными параметрами. Эти обстоятельства и побудили автора сделать еще одну попытку основательно улучшить показатели блока, сохранив его простоту. Основное отличие усовершенствованного блока зажигания от [1] — заметное улучшение его энергетических характеристик. Если у исходного блока максимальная длительность искры не превышала 1,2 мс, причем она могла быть получена лишь на самых низких значениях частоты искрообразования, то у нового длительность искры постоянна во всей рабочей полосе 5...200 Гц и равна 1,2...1,4 мс. Это значит, что на средних и максимальных оборотах двигателя — а это наиболее часто используемые режимы — длительность искры практически соответствует установившимся в настоящее время требованиям. Ощутимо изменилась и мощность, подводимая к катушке зажигания. На частоте 20 Гц при катушке Б-115 она достигает 50...52 мДж, а на 200 Гц — около 16 мДж. Расширены также пределы питающего напряжения, в которых блок работоспособен. Уверенное искрообраэование при пуске двигателя обеспечивается при бортовом напряжении 3,5 В, но работоспособность блока сохраняется и при 2,5 В. На максимальной частоте искрообразование не нарушается, если питающее напряжение достигает 6 В, а длительность искры — не ниже 0,5 мс. . Указанные результаты получены главным образом за счет изменения режима работы преобразователя, особенно условий его возбуждения. Эти показатели, которые, по мнению автора, находятся на практическом пределе возможностей при использовании всего одного транзистора, обеспечены также применением ферритового магнитопровода в трансформаторе преобразователя.

Как видно из принципиальной схемы блока, показанной на рис.1, основные ее изменения относятся к преобразователю, т.е. генератору зарядных импульсов, питающих накопитель—конденсатор С2. Упрощена цепь запуска преобразователя, выполненного, как и прежде, по схеме однотактного стабилизированного блокинг-генератора. Функции пускового и разрядного диодов (соответственно VD3 и VD9 по прежней схеме) выполняет теперь один стабилитрон VD1. Такое решение обеспечивает более надежный запуск генератора после каждого цикла искрообразования путем значительного увеличения начального смещения на эмиттерном переходе транзистора VT1. Это не снизило тем не менее общей надежности блока, поскольку режим транзистора ни по одному из параметров не превысил допустимых значений. Изменена и цепь зарядки конденсатора задержки С1. Теперь он после зарядки накопительного конденсатора заряжается через резистор R1 и стабилитроны VD1 и V03. Таким образом, в стабилизации участвуют два стабилитрона, суммарным напряжением которых при их открывании и определяется уровень напряжения на накопительном конденсаторе С2. Некоторое увеличение напряжения на этом конденсаторе скомпенсировано соответствующим увеличением числа витков базовой обмотки II трансформатора. Средний уровень напряжения на накопительном конденсаторе уменьшен до 345...365 В, что повышает общую надежность блока и обеспечивает вместе с тем требуемую мощность искры.
bl_zaj1.gif

В разрядной цепи конденсатора С1 использован стабисторVD2, позволяющий получить такую же степень перекомпенсации при уменьшении бортового напряжения, как три-четыре обычных последовательных диода. При разрядке этого конденсатора стабилитрон VD1 открыт в прямом направлении (подобно диоду VD9 исходного блока).

Конденсатор СЗ обеспечивает увеличение длительности и мощности импульса, открывающего тринистор VS1. Это особенно необходимо при большой частоте искрообразования, когда средний уровень напряжения на конденсаторе С2 существенно снижается.

В блоках электронного зажигания с многократной разрядкой накопительного конденсатора на катушку зажигания [1,2] длительность искры и в определенной степени ее мощность определяет качество тринистора, поскольку все периоды колебаний, кроме первого, создаются и поддерживаются только энергией накопителя. Чем меньше затраты энергии на каждое включение тринистора, тем большее число запусков будет возможно и тем большее количество энергии (и за большее время) будет передано катушке зажигания. Крайне желательно поэтому подобрать тринистор с минимальным открывающим током. Хорошим можно считать тринистор, если блок обеспечивает начало искрообразования (с частотой 1 ...2 Гц) при питании блока напряжением 3 В. Удовлетворительному качеству соответствует работа при напряжении 4...5 В. С хорошим тринистором длительность искры равна 1,3...1,5 мс, при плохом — уменьшается до 1...1,2мс. При этом, как это ни покажется странным, мощность искры в обоих случаях будет примерно одинаковой по причине ограниченной мощности преобразователя. 8 случае большей длительности конденсатор-накопитель разряжается практически полностью, начальный (он же средний) уровень напряжения на конденсаторе, задаваемый преобразователем, несколько ниже, чем в случае с меньшей длительностью. При меньшей же длительности начальный уровень более высок, но высок и остаточный уровень напряжения на конденсаторе из-за его неполной разрядки. Таким образом, разность между начальным и конечным уровнями напряжения на накопителе в обоих случаях практически одинакова, а от нее и зависит количество вводимой в катушку зажигания энергии [З]. И все-таки при большей длительности искры достигается лучшее дожигание горючей смеси в цилиндрах двигателя, т.е. повышается его КПД.

При нормальной работе блока формированию каждой искры соответствуют 4,5 периода колебаний в катушке зажигания. Это означает. что искра представляет собой девять знакопеременных разрядов в свече зажигания, непрерывно следующих один за другим. Нельзя поэтому согласиться с мнением (изложенным в [4]) о том, что вклад третьего и тем более четвертого периодов колебаний не удается обнаружить ни при каких условиях. На самом деле каждый период вносит свой совершенно конкретный и ощутимый вклад в общую энергию искры, что подтверждают и другие публикации, например [2]. Однако, если источник бортового напряжения включен последовательно с элементами контура (т.е. последовательно • с катушкой зажигания и накопителем), сильное затухание, вносимое именно источником, а не другими элементами, действительно, не позволяет обнаружить упомянутый выше вклад. Такое включение как раз и использовано в [4]. В описываемом блоке источник бортового напряжения в колебательном процессе участия не принимает и упомянутых потерь, естественно, не вносит. Один из наиболее ответственных узлов блока — трансформатор Т1. Его магнитопровод Ш15х12 изготовлен из оксифера НМ2000. Обмотка 1 содержит 52 витка провода ПЭВ-2 0,8; 11—90 витков провода ПЭВ-2 0,25; III — 450 витков провода ПЭВ-2 0,25. Зазор между Ш-образными частями магнитопровода должен быть выдержан с максимально возможной точностью. Для этого при сборке между его крайними стержнями помещают без клея по гетинаксовой (или текстолитовой) прокладке толщиной 1,2+0,05 мм, после чего детали магнитопровода стягивают прочными нитками.Снаружи трансформатор необходимо покрыть несколькими слоями эпоксидной смолы, нитроклея или нитроэмали. Катушку можно выполнить на прямоугольной шпуле без щек. Первой наматывают обмотку III, в которой каждый слой отделяют от следующего тонкой изоляционной прокладкой, а завершают трехслойной прокладкой. Далее наматывают обмотку II. Обмотку 1 отделяют от предыдущей двумя слоями изоляции. Крайние витки каждого слоя при намотке на шпуле следует фиксировать любым нитроклеем. Гибкие выводы катушки лучше всего оформить по окончании всей намотки. Выводить концы обмотки 1 и II следует в сторону диаметрально противоположную концам обмотки Й1, но все выводы должны быть на одном из торцов катушки. В таком же порядке располагают и гибкие выводы, которые закрепляют нитками и клеем на прокладке из электрокартона (прессшпана). Перед заливкой выводы маркируют. Кроме КУ202Н, в блоке можно применить тринистор КУ221 с буквенными индексами А—Г. При выборе тринистора следует принять во внимание, что, как показывает опыт, КУ202Н по сравнению с КУ221 имеют в большинстве случаев меньший ток откры-вания, но более критичны к параметрам импульса запуска (длительности и частоте). Поэтому для случая использования тринистора из серии КУ221 номиналы элементов цепи удлинения искры необходимо скорректировать — конденсатор СЗ должен иметь емкость 0,25 мкф, а резистор, R4 — сопротивление 620 Ом. Транзистор КТ837 может быть с любыми буквенными индексами, кроме Ж, И, К, Т, У, Ф. Желательно, чтобы статический коэффициент передачи тока не был менее 40. Применение транзистора другого типа нежелательно. Теплоотвод транзистора должен иметь полезную площадь не менее 250см2. В роли теплоотвода удобно использовать металлический кожух блока или его основание, которые следует дополнить охлаждающими ребрами. Кожух должен обеспечивать и брызгозащищенность блока. Стабилитрон VD3 также необходимо устанавливать на теплоотвод. В блоке он представляет собой две полосы размерами 60х25х2 мм, согнутые П-образно и вложенные одна в другую. Стабилитрон Д817Б можно заменить последовательной цепью из двух стабилитронов ДВ16В; при бортовом напряжении 14 В и частоте искрообра-зования 20 Гц эта пара должна обеспечивать на накопителе напряжение 350.. .360 В. Каждый из них устанавливают на небольшой теплоотвод. Стабилитроны подбирают только после выбора и установки тринистора.

Стабилитрон VD1 подборки не требует, но он обязательно должен быть в металлическом корпусе. Для увеличения общей надежности блока целесообразно этот стабилитрон снабдить небольшим теплоотводомв виде обжимки из полоски тонкого дюралюминия. Стабистор КС119А (VD2) можно заменить тремя диадами Д223А (или другими кремниевыми диодами с импульсным прямым томом не менее 0,5 А), включенными последовательно. Для блока, предназначенного работать в местностях с суровым зимним климатом, оксидный конденсатор С1 желательно использовать танталовый с рабочим напряжением не ниже 10 В. Конденсатор С2 — МБГО.МБГЧ или К73-17 на напряжение 400...600 В. Проверку работоспособности и тем более регулировку следует проводить именно с такой катушкой зажигания, с которой блок будет работать в дальнейшем. Следует иметь в виду, что включение блока без катушки зажигания, нагруженной запальной свечой, совершенно недопустимо. Для проверки вполне достаточно измерять пиковым вольтметром напряжение на накопительном конденсаторе С2. Таким вольтметром может служить авометр, имеющий предел постоянного напряжения 500 В. Авометр подключают к конденсатору С2 через диод Д226Б (или подобный), а зажимы авометра шунтируют конденсатором емкостью 0,1.. .0,5 мкФ на напряжение 400...600 В. При номинальном напряжении питания (14 В) и частоте искрообразования 20 Гц напряжение на накопителе должно находиться в пределах 345...365 В. Если напряжение меньше, то прежде всего подбирают тринистор с учетом сказанного выше. Если после подборки будет обеспечено искрооб-разование при понижении напряжения питания до 3 В, но на конденсаторе С2 при номинальном напряжении литания будет повышенное напряжение, следует подобрать стабилитрон VD3 с несколько пониженным напряжением стабилизации. Далее проверяют блок на высшей частоте искрообраэования (200 Гц), поддерживая номинальное бортовое напряжение. Напряжение на конденсаторе С2 должно находиться в пределах 185...200 В, а потребляемый блоком ток после непрерывной работы в течение 15...20 мин не должен превышать 2,2 А. Если транзистор за это время нагреется выше 60°С при комнатной окружающей температуре, теплоотводящую поверхность следует несколько увеличить.
bl_zaj4.gif


bl_zaj5.gif

Конденсатор СЗ и резистор R4 подборки, как правило, не требуют. Однако для отдельных экземпляров тринисторов (как того, так и другого типа) может потребоваться корректировка номиналов, если на частоте 200 Гц будет обнаружена неустойчивость в искрообразовании. Она проявляется обычно в виде кратковременного сбоя в показаниях вольтметра, подключенного к накопителю, и хорошо заметна на слух. В этом случае следует увеличить емкость конденсатора СЗ на 0,1...0,2мкФ,а если это не поможет, вернуться к прежнему значению и увеличить сопротивление резистора R4 на 100...200 Ом. Одна из этих мер, а иногда и обе вместе, обычно устраняют неустойчивость запуска. Заметим, что увеличение сопротивления уменьшает, а увеличение емкости увеличивает длительность искры. Если есть возможность воспользоваться осциллографом, то полезно убедиться в нормальном течении колебательного процесса в катушке зажигания и фактической его длительности. До полного затухания должны быть хорошо различимы 9—11 полуволн, суммарная длительность которых должна быть равна 1,3...1,5 мс на любой частоте искрообраэования. Вход Х осциллографа следует подключать к общей точке обмоток катушки зажигания.Типичный вид осциллограммы показан на рис.4. Всплески посредине минусовых полуволн соответствуют единичным импульсам блокинг-генератора при изменении направления тока в катушке зажигания. Целесообразно проверить также зависимость напряжения на накопительном конденсаторе от бортового напряжения. Ее вид не должен заметно отличаться от показанного на рис.5. Изготовленный блок рекомендуется устанавливать в моторном отсеке в передней, более прохладной его части. Искрогасящий конденсатор прерывателя следует отключить и соединить его вывод с соответствующим контактом розетки разьема Х1. Переход на классическое зажигание выполняют, как и в прежней конструкции, установкой вставки-замыкателя Х1.3. В заключение отметим, что попытки получить столь же «длинную» искру с трансформатором на стальном магнитопроводе, даже из стали самого высокого качества, не приведут к успеху. Наибольшая длительность, которая может быть достигнута, — 0,8...0,85 мс. Тем не менее блок почти без изменений (сопротивление резистора R1 следует уменьшить до 6...80м) работоспособен и с трансформатором на стальном магнитопроводе с указанными намоточными характеристиками, и эксплуатационные качества блока выше, чем у его прототипа [1].

ЛИТЕРАТУРА

1. Г.Карасев. Стабилизированный блок электронного зажигания. — Радио, 1988, № 9, с. 17; 1989, № 5, с.91.

2. П.Гацанюк. Усовершенствованная электронная система зажигания. В сб.: «В помощь радиолюбителю», вып. 101, с. 52, — М.:ДОСААФ.

3. А.Синельников. Электроника в автомобиле. — М.: Радио и связь, 1985, с.46.

4. Ю-Архипов. Полуавтоматический блок зажигания. — Радио, 1990, № 1, с. 31—34; № 2, с. 39-42.

Источник: РАДИО 8/94
Автор: Г.КАРАСЕВ г. Санкт-Петербург
добавив в него простейший сумматор на 2 входа(2 прерывателя), катушки зажигания соединить последовательно или поставить от ОКИ или ВОЛГИ с двумя выводами на свечи.
Что скажите?
Дополнение:
На форумах мотоциклистов жалуются на датчики ХОЛЛА по причине паразитного воздействия магнитных полей генератора( в лодочных моторах-магнитов маховика), поэтому предлагаю в схеме переключения угла зажигания использовать оптопары и шторку.Оптопары можно использовать от древних мышек. Идея использовать переключение угла опережения зажигания от оборотов интересна, но, видимо, реализовывать её надо на микроконтроллере, меньше места, выше надёжность.
 

Александр Marx

капитан 2-го ранга
Регистрация
06.02.2010
Сообщения
1 304
Карма
98
Возраст
57
Город
г. Маркс Саратовская обл.
Имя
Александр.
Лодка
Нептун.
Мотор
Tohatsu MFS 30B EPTS
Re: Батарейное зажигание для Вихря.

Доброго времени!
Оптопара, как вариант неплохой выход из положения при надлежащих знаниях. Проводил тест с применением оптопары от принтера Епсон, там она контролирует перемещение головки. Результат замечательный. Пробовал перекрывать зазор белым утеплителем для дверей 5мм (имитируя налет пыли и грязи) так вот это не помешало лучу, так как он работает в ИК диапазоне. Смело можно применять. В случае загрязнения уж очень большим количеством грязи, можно за минуту почистить. Реализовать схему с коммутатором от ваз можно.

Что касается датчиков холла, надежность на порядок выше, чем применение пик контроллера. Связано это с максимально широким диапазоном питающих напряжений компараторов, и использовании не одного датчика холла, что позволяет перемычкой обойти неисправный (если так случится) и спокойно завести двигатель, получив возможность движения дальше, игнорируя один из режимов.
Пик контроллеры, работают, но не блещут надежностью.
Это уже выбор пользователя, спорить ни к чему.
Метод применения ДХ на платформе снизу, исключает проблемы магнитных наводок.
 

igorM_

лейтенант
Регистрация
02.09.2010
Сообщения
255
Карма
9
Город
Измаил, Украина
Имя
Игорь
Лодка
МКМ
Мотор
Вихрь30,СУЗА15
Re: Батарейное зажигание для Вихря.

Александр Marx сказал(а):
Что касается датчиков холла, надежность на порядок выше, чем применение пик контроллера.
- не согласен.контроллеры десятками лет работают в автомобилях. Можно скомбинировать: контроллер считает обороты и управляет датчиками.

Александр Marx сказал(а):
Связано это с максимально широким диапазоном питающих напряжений компараторов, и использовании не одного датчика холла, что позволяет перемычкой обойти неисправный (если так случится) и спокойно завести двигатель, получив возможность движения дальше, игнорируя один из режимов.
Пик контроллеры, работают, но не блещут надежностью.
Это уже выбор пользователя, спорить ни к чему.
- в споре рождается истина...

Александр Marx сказал(а):
Метод применения ДХ на платформе снизу, исключает проблемы магнитных наводок.
[/quote]

- это как-то проверялось практически?

Если я правильно понимаю, эта тема организована для того, чтоб найти оптимальное решение замены имеющегося на ВИХРЕ зажигания.Давайте жить дружно.
 

дмитрий22

капитан 2-го ранга
Регистрация
11.05.2010
Сообщения
1 472
Карма
160
Город
Украина,Херсон
Имя
Дмитрий
Лодка
"Крым"; "Кайман-305";"Пелла Фиорд 430"
Мотор
Джонсон 15 4-т, Ветерок-12, Вихри
Re: Батарейное зажигание для Вихря.

igorM_ сказал(а):
С интересом просматриваю эту и подобные темы, т.к. у самого ВИХРЬ и проблемы с устойчивой работой на малых оборотах по причине слабой искры.
Что нам надо от мотора?
1.НАДЁЖНОСТЬ, РЕМОНТОПРИГОДНОСТЬ.
2.Лёгкий пуск, устойчивая работа на разных режимах.
Короче, чтоб при поломке на выезде можно было отремонтировать и вернуться...
Таскать с собой кучу запчастей тоже не выход.
Исходя из этого, решил сделать электронное зажигание на базе имеющегося контактного, чтоб в случае чего с минимальными затратами вернуться к исходной схеме.
За основу решил использовать модернизированную схему Ю. Сверчкова
добавив в него простейший сумматор на 2 входа(2 прерывателя), катушки зажигания соединить последовательно или поставить от ОКИ или ВОЛГИ с двумя выводами на свечи.
Что скажите?
Дополнение:
На форумах мотоциклистов жалуются на датчики ХОЛЛА по причине паразитного воздействия магнитных полей генератора( в лодочных моторах-магнитов маховика), поэтому предлагаю в схеме переключения угла зажигания использовать оптопары и шторку.Оптопары можно использовать от древних мышек. Идея использовать переключение угла опережения зажигания от оборотов интересна, но, видимо, реализовывать её надо на микроконтроллере, меньше места, выше надёжность.
Не согласен по пунктам.Выбор коммутатора-однотактный генератор собрать,запустить и отладить сможет 1% водномоторников.Надежность по сравнеию с обычным транзисторным заводским коммутатором на порядок ниже.Я собирал такие коммутаторы еще на свой первый "Москвич 408",себе и знакомым.Знаю насколько они привередливы к качеству трансформатора и характеристикам транзисторов и тиристоров.
По Датчику Холла.Если уже делать шторку,то однолзначно только Датчик Холла.При использовании шторки датчик смещается внутрь от башмаков и магнитные поля никакого заметного воздействия на него не оказывают.Надежность его тоже,думаю,несравнима с какой-то оптопарой.
ИМХО- применять батарейное зажигание на лодочном моторе оправдано если только полностью неработоспособный маховик.
Если уже собираешься делать такой сложный вариант ради -"1.НАДЁЖНОСТЬ, РЕМОНТОПРИГОДНОСТЬ.
2.Лёгкий пуск, устойчивая работа на разных режимах.",а не просто выпендриться перед соседями по причалу,то делай на одном седечнике CDI-схему с деталями на порядок выше требуемых характеристик и два десятка запасных коммутаторов,на другом оставляй контактное.Между контактами текстолитовые прокладки,а катушки пока не случилась авария с CDI можно использовать для подзарядки.
Надежностиь в таком варианте точно обеспечена.
 

igorM_

лейтенант
Регистрация
02.09.2010
Сообщения
255
Карма
9
Город
Измаил, Украина
Имя
Игорь
Лодка
МКМ
Мотор
Вихрь30,СУЗА15
Re: Батарейное зажигание для Вихря.

1.Согласен, что собрать эл. зажигание по приведенной ссылке доступно не каждому. Паралллельно проверю вариант с коммутатором от "ВАЗ 9-ки".
2.НЕ СОГЛАСЕН, что оптопара менее надёжна, чем датчик Холла.НЕ РАЗУ не встречал поломку оптопары в мышке. Как влияет магнитное поле внутри маховика на датчик Холла, сказать сложно, надо провести исследования, которые вряд-ли кто-то проведёт. По моему, имеют право на жизнь оба варианта-датчик Холла и опто-датчик. Опто-шторку проще изготовить, не обязательно из металла, да и внешние воздействия минимальны. По возможности проверю оба варианта. Если на моторе нет стартера, бесконтактное зажигание просто реализовать без демонтажа контактного с опто-датчиком, закрепив на внешней поверхности маховика легкие оптически не прозрачные шторки.( После испытаний приложу фото).
 

Serg

админ
Команда форума
Регистрация
21.11.2009
Сообщения
2 047
Карма
893
Возраст
45
Город
Иркутск
Имя
Сергей
Лодка
Прогресс-2М, ProfMarineAir330
Мотор
Suzuki DT30, DF2,5
Re: Батарейное зажигание для Вихря.

igorM_ сказал(а):
1.Согласен, что собрать эл. зажигание по приведенной ссылке доступно не каждому. Паралллельно проверю вариант с коммутатором от "ВАЗ 9-ки".
2.НЕ СОГЛАСЕН, что оптопара менее надёжна, чем датчик Холла.НЕ РАЗУ не встречал поломку оптопары в мышке. Как влияет магнитное поле внутри маховика на датчик Холла, сказать сложно, надо провести исследования, которые вряд-ли кто-то проведёт. По моему, имеют право на жизнь оба варианта-датчик Холла и опто-датчик. Опто-шторку проще изготовить, не обязательно из металла, да и внешние воздействия минимальны. По возможности проверю оба варианта. Если на моторе нет стартера, бесконтактное зажигание просто реализовать без демонтажа контактного с опто-датчиком, закрепив на внешней поверхности маховика легкие оптически не прозрачные шторки.( После испытаний приложу фото).
Игорь, будет хорошо? если вы поделитесь своими наработками - схемы, фотографии, комментарии...
 

Александр Marx

капитан 2-го ранга
Регистрация
06.02.2010
Сообщения
1 304
Карма
98
Возраст
57
Город
г. Маркс Саратовская обл.
Имя
Александр.
Лодка
Нептун.
Мотор
Tohatsu MFS 30B EPTS
Re: Батарейное зажигание для Вихря.

igorM_ сказал(а):
1.Согласен, что собрать эл. зажигание по приведенной ссылке доступно не каждому. Паралллельно проверю вариант с коммутатором от "ВАЗ 9-ки".
2.НЕ СОГЛАСЕН, что оптопара менее надёжна, чем датчик Холла.НЕ РАЗУ не встречал поломку оптопары в мышке. Как влияет магнитное поле внутри маховика на датчик Холла, сказать сложно, надо провести исследования, которые вряд-ли кто-то проведёт. По моему, имеют право на жизнь оба варианта-датчик Холла и опто-датчик. Опто-шторку проще изготовить, не обязательно из металла, да и внешние воздействия минимальны. По возможности проверю оба варианта. Если на моторе нет стартера, бесконтактное зажигание просто реализовать без демонтажа контактного с опто-датчиком, закрепив на внешней поверхности маховика легкие оптически не прозрачные шторки.( После испытаний приложу фото).
Собирал схему на фото, результат понравился.
Под разные оптопары подбираем R2, 47 кОм у меня получилось для оптопары от принтнра.
На выходе подвешиваем светодиод, и подбираем параметры, их нужно подобрать так, что бы сработка была только при попадании ИК луча. Если сделать большую чувствительность, то будет воздействовать на него дневной свет, солнечные лучи (отраженка). Добиваясь четкой сработки, при минимальных воздействиях окружающего света.
Вот схема.
 

Вложения

igorM_

лейтенант
Регистрация
02.09.2010
Сообщения
255
Карма
9
Город
Измаил, Украина
Имя
Игорь
Лодка
МКМ
Мотор
Вихрь30,СУЗА15
Re: Батарейное зажигание для Вихря.

Александр, сильно сложно... Если уж очень хочется применить микросхемы, можно использовать формирователь
на К 561ЛА8,
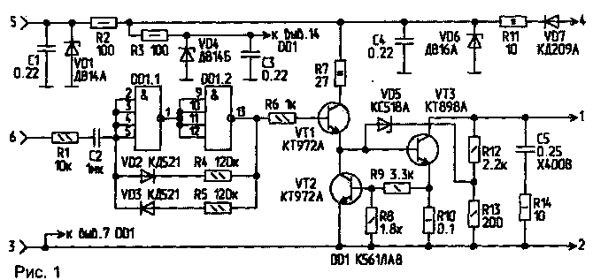
Автомобильные системы зажигания сейчас в основном построены на тиристорах [1], тем не менее, транзисторные системы не потеряли своей актуальности [2, З]. В последнее время выпускается много мощных, в том числе составных, транзисторов с характеристиками, позволяющими использовать их для автомобильных систем зажигания.

Предлагаемая схема автомобильного электронного блока зажигания разработана и испытана автором в автомобиле "Жигули 2108" и др., в которых применяются транзисторные коммутаторы (3620-3734) с бесконтактным датчиком Холла (53.013706).

Отличием данной конструкции от штатной [2] является то, что для формирования импульсов прерывания используется микросхема К561ЛА8, включенная по схеме триггера Шмитта.

Технические характеристики практически не отличаются от штатного блока зажигания, но с применением триггера Шмитта импульсы прерывания формируются с более крутым задним фронтом, что позволяет практически мгновенно отключать источник тока от катушки зажигания, тем самым повышая высокое напряжение на ее вторичной обмотке.

Применение конденсатора С2 обеспечивает отключение катушки зажигания от источника тока при остановке двигателя автомобиля, тем самым предотвращая бесполезный нагрев катушки.

blok_za1.gif

Схема блока электронного зажигания, изображенная на рис.1, содержит:
- схему формирования импульсов с регулируемой скважностью на микросхеме DD1. собранную по схеме триггера Шмитта;
- мощный ключ на транзисторах VT1 и VT3 с активным ограничителем тока на транзисторе VT2,делителем напряжения на резисторах R8, R9 и токоизмерительным резистором R10;
- стабилизатор напряжения для питания микросхемы DD1 на стабилитроне VD4, конденсаторе СЗ и резисторе R3;
- схему защиты от превышения импульсного напряжения в бортовой сети на стабилитроне VD6, конденсаторе С4 и резисторе R11;
- схему защиты блока от неверного присоединения аккумуляторной батареи на диоде VD7;
- схему защиты транзистора VT3 от импульсных перегрузок при работе катушки зажигания на диоде VD5. резисторах R12, R13.

Работает схема следующим образом. При включении зажигания напряжение от аккумуляторной батареи подается на схему через диод VD7 и резистор R 11. На катушку зажигания напряжение в начальный момент не поступает, так как стартер не вращает вал двигателя, и на входе микросхемы DD1.2 отсутствуют импульсы. На выходе DD1 присутствует напряжение низкого уровня, которое удерживает транзистор VT1 в закрытом состоянии, поэтому закрыт и транзистор VT3.

Когда стартер поворачивает вал двигателя, на выходе датчика возникают импульсы, поступающие через С2 на вход элемента DD1.1. Последний переключается, и на выходе DD1.2 появляется импульс, который открывает транзисторы VT1 и VT3. Через катушку зажигания проходит ток, и в магнитном поле катушки накапливается электрическая энергия. В следующий момент, когда с выхода датчика исчезает импульс положительной полярности, триггер Шмитта резко переключается в обратное состояние, на выходе элемента DD1.2 появляется низкий уровень, поступающий на базу транзистора VT1. Транзисторы VT1 и VT3 быстро закрываются, и ток, проходящий через катушку зажигания, также быстро исчезает. При этом в первичной обмотке катушки индуцируется ЭДС самоиндукции напряжением 400 В, а во вторичной обмотке катушки зажигания возникает импульс высокого напряжения — 23000...25000 В.

В мощном ключе на транзисторах VT1 и VT3 применена схема активного ограничения тока в катушке зажигания, которая защищает транзистор VT3 от перегрузки и стабилизирует величину тока"разрыва"при колебаниях питающего напряжения бортовой сети автомобиля, тем самым обеспечивая неизменность выходных характеристик системы зажигания [З].

При отпирании транзистора VT1 выходной транзистор VT3 насыщается, обеспечивая низкую величину остаточного напряжения на выходе блока электронного зажигания. Пока ток, протекающий через выходной транзистор VT3 и токоизме-рительный резистор R10, включенный в его эмиттерную цепь, ниже допустимого уровня ограничения, транзистор VT2 заперт.

При достижении выходным током предельного уровня,транзистор VT2 начинает открываться, и потенциал на его коллекторе понижается, что приводит к уменьшению величины тока управления. Транзистор VT3 при этом выходит из режима насыщения в активный режим, напряжение на выходе возрастает до уровня, при котором поддерживается заданный режим тока ограничения. В случае превышения импульсного напряжения в катушке зажигания, оно через делитель R12-R13 подается на стабилитрон VD5, который, открываясь, запирает транзистор VT3. Цепочка C5-R14, включенная параллельно выходному транзистору,является элементом колебательного контура ударного возбуждения,т.е. определяет величину и скорость нарастания вторичного напряжения, развиваемого системой зажигания. Резистор R14 ограничивает емкостный ток через транзистор VT3 в момент отпирания последнего, если конденсатор С5 разряжен.

В электронном блоке зажигания использована микросхема К561ЛА8 и резисторы МЛТ. Резистор R10 — типа С5-16 мощностью не менее 1 Вт. Конденсаторы — К73-11 на напряжение не менее 63 В. Диоды VD2, VD3 — КД521А или любые кремниевые маломощные. Стабилитрон VD1 — на напряжение стабилизации 8 В, типа Д814А или КС182А. Стабилитрон VD4 — на напряжение стабилизации 9 В, типа Д814Б или КС191А. Стабилитрон VD5 — КС518А или КС508Г. Диод VD7 — типа КД209А, можно заменить диодом КД226Г. Транзисторы VT1, VT2 — КТ972А; VT3 — КТ898А или КТ890А (КТ8109А). VT3 устанавливается на штатный радиатор из алюминиевой пластины толщиной 4 мм, изолированный от корпуса двойной слюдяной прокладкой с термопроводной пастой.

Для налаживания блока применяется звуковой генератор с частотой от 30 до 400 Гц, имитирующий работу датчика прерывателя. Для получения выходного сигнала напряжением 7...9 В, в случае необходимости, к нему нужно изготовить усилитель мощности на транзисторе КТ815 [4]. Для просмотра импульсов годится любой осциллограф, лучше двухлучевой. Кроме того, необходим блок питания с регулировкой напряжения от 8 до 18 В с током не менее 10 А.

На момент настройки схемы можно обойтись без катушки зажигания, нагрузив коллектор транзистора VT3 на дроссель с магнитопроводом из пластин электротехнической стали индуктивностью 3,8 мГн, сопротивлением 0,5 Ом. Для этого можно использовать унифицированный низкочастотный дроссель типа Д 179-0,01-6,3. Генератор-имитатор датчика импульсов подключают на вход схемы и наблюдают на осциллографе форму и амплитуду выходных импульсов.

Изменением сопротивлений в цепях VD2-R4 и VD3-R5 можно регулировать скважность импульсов, что позволяет регулировать время замыкания и размыкания катушки зажигания.

Для установки необходимого тока ограничения осциллограф подключают к эмиттеру транзистора VT2. При этом в эмиттерную цепь транзистора VT2 необходимо временно подключить резистор сопротивлением 0,1 Ом. Изменяя напряжение на блоке питания, наблюдают появление сигнала на эмиттере. Регулировка уровня ограничения тока производится резисторами R12 и R13. После предварительной настройки схему устанавливают в автомобиле в соответствии со схемой подключения [2] и производят ее окончательную настройку.

Литература:
1. Ломакин Л. Электроника за рулем. — Радио, 1996, N8, С.58,
2. Старков В. Транзисторные системы зажигания — Радио, 1991, N9. С.26-29.
3. Бела Буна. Электроника на автомобиле. — М.: Транспорт,1979.
4. Автомобили "Жигули 2108" и их модификации. Устройство и ремонт. — М.: Транспорт,1987.
5. Ютт В.Е. Электрооборудование автомобилей: Учебник. — М.: Транспорт,1989, 175с.
6. Сидорчук В. Электронный октан-корректор. — Радио, 1991, N11, С.26.

Автор: Г.СКОБЕЛЕВ
, или собрать всю схему, дополнив её опто/Холла датчиком.
Нет сейчас времени заняться испытанием, а идея такова:
1.Изготовить из тонкого гибкого текстолита прямоугольные пластинки длиной 60 град. от окружности маховика, высота = высоте маховика.
2.Закрепить опто-датчик на подвижной пластине (на которой контакты прерывателя) так, чтоб оптодатчик находился в плоскости внешней боковой поверхности маховика.
3.Установить маховик в ВМТ или НМТ.
4. Скотчем к маховику примотать текстолитовую пластину так, чтоб её край был на уровне оптодатчика(момент искры).Вторую пластину установить симметрично для второй МТ.
Контактное зажигание остаётся на месте!
Собрать ЖИГУЛЁВСКУЮ схему(см. выше в данной теме) и проверить наличие искры в НМТ и ВМТ.
5. если всё ок, закрепить нитками и клеем пластины на маховике.
Вперёд!
Контактное зажигание остаётся на месте. В случае неполадки переключиться на него-5 мин.
Примечание: Всё это годится для магнето БЕЗ зубцов электростартера.
 
A

Anonymous

Guest
Re: Батарейное зажигание для Вихря.

привет всем можно вопрос : При отключении акб при заведенном моторе зажигание будет работать ? с генераторных катушек мощности хватит ?
 

Александр Marx

капитан 2-го ранга
Регистрация
06.02.2010
Сообщения
1 304
Карма
98
Возраст
57
Город
г. Маркс Саратовская обл.
Имя
Александр.
Лодка
Нептун.
Мотор
Tohatsu MFS 30B EPTS
Re: Батарейное зажигание для Вихря.

С генераторных катушек, при заведенном моторе и отключении АКБ, напряжение будет не стабильно так как пропорционально зависит от оборотов колен вала. Не стоит пробовать.
АКБ является аналогом мощного стабилитрона, от чего при минимальных оборотах напряжение не ниже 12 вольт, а при максимальных оборотах напряжение не превышает 13 - 14 вольт.
Без АКБ увеличиваются пульсации.
Работать на коммутатор от 99-й, без него не будет.
 
A

Anonymous

Guest
Re: Батарейное зажигание для Вихря.

Очень интересная тема! Спасибо, я на основе датчика холла разрабатываю зажигание на пик контроллере, считаю что микроконтроллеры очень надежно!!!!!!!!
 

igorM_

лейтенант
Регистрация
02.09.2010
Сообщения
255
Карма
9
Город
Измаил, Украина
Имя
Игорь
Лодка
МКМ
Мотор
Вихрь30,СУЗА15
Re: Батарейное зажигание для Вихря.

FANAT5 сказал(а):
Очень интересная тема! Спасибо, я на основе датчика холла разрабатываю зажигание на пик контроллере, считаю что микроконтроллеры очень надежно!!!!!!!!
Всё уже разработано http://twowheel-oppozit.narod.ru/
Если разбираетесь в МК, надо адаптировать к ВИХРЮ.
Там надо задать кривую опережения зажигания для ВИХРЯ. У кого есть для 30? Дайте график или ссылку.
 

Александр Marx

капитан 2-го ранга
Регистрация
06.02.2010
Сообщения
1 304
Карма
98
Возраст
57
Город
г. Маркс Саратовская обл.
Имя
Александр.
Лодка
Нептун.
Мотор
Tohatsu MFS 30B EPTS
Re: Батарейное зажигание для Вихря.

FANAT5 сказал(а):
Очень интересная тема! Спасибо, я на основе датчика холла разрабатываю зажигание на пик контроллере, считаю что микроконтроллеры очень надежно!!!!!!!!
Спасибо за проявленный интерес!
Если есть желание можете поделиться своим творчеством.

Для вихря 25-30 опережение имеет линейный график, в этом можно убедиться посмотрев на конструкцию механизма уоз.
Делить его на сотые доли не стоит, так как это не мотоцикл, инерционность на воде - от этого никуда не деться. максимум на 30, минимум 10. Это если на микроконтроллере.
Обладатели вихрей нуждаются в трех позициях, с их слов, 5 гр, 15 гр, 30 гр. С линейной зависимостью от оборотов.
 

FANAT5

гл. старшина
Регистрация
11.09.2010
Сообщения
103
Карма
4
Город
САРАТОВ
Re: Батарейное зажигание для Вихря.

igorM_ спасибо за ссылку!
Александр Marx Вы пишите минимум 10 градусов, почему именно столько, а например не от нуля?
В двигателях пока разбираюсь неочень хорошо, поэтому мне будут требоваться Ваши советы!
Своим творчеством обязательно поделюсь, но пока особо делиться нечем, сейчас прорабатываю схемотехнику комутатора.
 

Александр Marx

капитан 2-го ранга
Регистрация
06.02.2010
Сообщения
1 304
Карма
98
Возраст
57
Город
г. Маркс Саратовская обл.
Имя
Александр.
Лодка
Нептун.
Мотор
Tohatsu MFS 30B EPTS
Re: Батарейное зажигание для Вихря.

Я не градусы имел ввиду, деление 30 градусов опережения на 10, то есть по 3 градуса - это если на пик контроллере делать. Вполне будет достаточно.
Как писал Дмитрий, и трех позиций будет достаточно при условии простоты исполнения.
 
Вверх Снизу