mura555555

капитан 1-го ранга
Регистрация
24.08.2015
Сообщения
29 839
Карма
8 732
Возраст
42
Город
Ратомка Беларусь
Имя
Андрей
Лодка
Нырок2(был)Кефаль(была) плоскадонка дерево (была)калибри330 (была)прогресс2м(был)Афалина 460
Мотор
ветер8,12(умер на троллинге) стрела( была переделана первая на гибрид)ветерок гибрид, вихрь30 хонда40а(была),вихрь25 Mariner60 bigfoot

Тугарин

капитан 1-го ранга
Регистрация
08.03.2015
Сообщения
25 981
Карма
11 685
Возраст
44
Город
Саратов - Рай
Имя
Александр сын Сергея
Лодка
П2, К, К5м, К5м4, К2м, Амур-д, ПрофМарин 350 нднд было, Обь-м НТ, ямаран т330, гулянка есть
Мотор
Ямахa 2, Вихрь 25,30, HDX T5, Меркурий 50ЕО, джонсон 70 было. Джонсон 15, Ямаха F25AEHT, Вихрь 30 есть

vcmma

капитан-лейтенант
Регистрация
15.05.2012
Сообщения
397
Карма
144
Возраст
59
Город
Дзержинск, Нижегородская область
Имя
Александр
Лодка
П4; VK200ob; Днепр
Мотор
Н23х2; Y E115AET; Suzuki dt30; Honda BF30D
Просто вспомнилось что где то друг к дружке ставились, ну уж точно не на хонде
на фото с BF40-50 -пружинками наружу (ГВ), а вот с сервис-мануала BF30...пружинками врось...почему -не известно204163
 

mura555555

капитан 1-го ранга
Регистрация
24.08.2015
Сообщения
29 839
Карма
8 732
Возраст
42
Город
Ратомка Беларусь
Имя
Андрей
Лодка
Нырок2(был)Кефаль(была) плоскадонка дерево (была)калибри330 (была)прогресс2м(был)Афалина 460
Мотор
ветер8,12(умер на троллинге) стрела( была переделана первая на гибрид)ветерок гибрид, вихрь30 хонда40а(была),вихрь25 Mariner60 bigfoot

vcmma

капитан-лейтенант
Регистрация
15.05.2012
Сообщения
397
Карма
144
Возраст
59
Город
Дзержинск, Нижегородская область
Имя
Александр
Лодка
П4; VK200ob; Днепр
Мотор
Н23х2; Y E115AET; Suzuki dt30; Honda BF30D
Ну 30л.с. была выпущина раньше чем 40л.с. ,видемо неудачно воткнули ,и в 40л. с .переделали :lol::lol::hahaha:
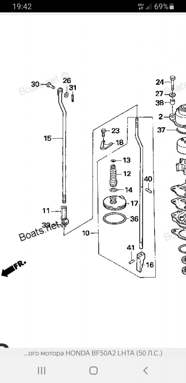
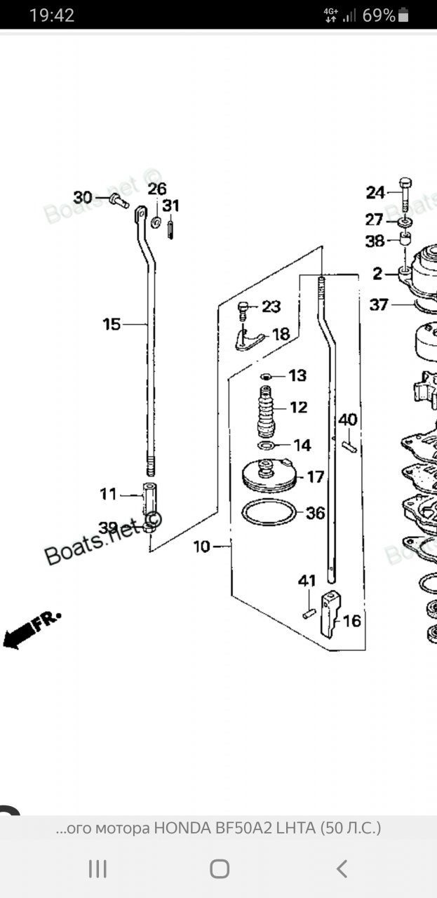
ну - хз :?, подскажите лучше - можно ли поменять сальник штока реверса, не выдергивая корпус сальника? Уж больно так не хочется этого делать :(. Сальники ГВ саморезами вытаскиваются, а вот штока - маленький, не повредить бы посадочное место...не меняли кто?
 

Pavel_164

матрос
Регистрация
04.05.2021
Сообщения
7
Карма
3
Город
Балаково
Имя
Павел
Лодка
Прогресс-2М
Мотор
Хонда бф30
Разобрал.
Буду напаивать если не найду подходящий пруток из нж.
 

Вложения

Тугарин

капитан 1-го ранга
Регистрация
08.03.2015
Сообщения
25 981
Карма
11 685
Возраст
44
Город
Саратов - Рай
Имя
Александр сын Сергея
Лодка
П2, К, К5м, К5м4, К2м, Амур-д, ПрофМарин 350 нднд было, Обь-м НТ, ямаран т330, гулянка есть
Мотор
Ямахa 2, Вихрь 25,30, HDX T5, Меркурий 50ЕО, джонсон 70 было. Джонсон 15, Ямаха F25AEHT, Вихрь 30 есть

vcmma

капитан-лейтенант
Регистрация
15.05.2012
Сообщения
397
Карма
144
Возраст
59
Город
Дзержинск, Нижегородская область
Имя
Александр
Лодка
П4; VK200ob; Днепр
Мотор
Н23х2; Y E115AET; Suzuki dt30; Honda BF30D
Разобрал.
Буду напаивать если не найду подходящий пруток из нж.
Точно - когда то меняли и сорвав шпонку перезажали прям на месте сальников(((...а моге заказать новый? 2000 +/-...или - в разборе моторы попадались
 

mura555555

капитан 1-го ранга
Регистрация
24.08.2015
Сообщения
29 839
Карма
8 732
Возраст
42
Город
Ратомка Беларусь
Имя
Андрей
Лодка
Нырок2(был)Кефаль(была) плоскадонка дерево (была)калибри330 (была)прогресс2м(был)Афалина 460
Мотор
ветер8,12(умер на троллинге) стрела( была переделана первая на гибрид)ветерок гибрид, вихрь30 хонда40а(была),вихрь25 Mariner60 bigfoot
ну - хз :?, подскажите лучше - можно ли поменять сальник штока реверса, не выдергивая корпус сальника? Уж больно так не хочется этого делать :(. Сальники ГВ саморезами вытаскиваются, а вот штока - маленький, не повредить бы посадочное место...не меняли кто?
Я неменял сальник штока реверса,там наверно подругому
 

Вложения

vcmma

капитан-лейтенант
Регистрация
15.05.2012
Сообщения
397
Карма
144
Возраст
59
Город
Дзержинск, Нижегородская область
Имя
Александр
Лодка
П4; VK200ob; Днепр
Мотор
Н23х2; Y E115AET; Suzuki dt30; Honda BF30D

vcmma

капитан-лейтенант
Регистрация
15.05.2012
Сообщения
397
Карма
144
Возраст
59
Город
Дзержинск, Нижегородская область
Имя
Александр
Лодка
П4; VK200ob; Днепр
Мотор
Н23х2; Y E115AET; Suzuki dt30; Honda BF30D
Отвечу сам)...пробовал выковырять сальник на штоке без снятия-вырвал только верхнюю часть, а внутри осталась еще часть более узкая...)не добраться. Выбил корпус сальника (вышел достаточно легко, но постучать легонько пришлось по приспособе. Накинул какую то железку с петлей, закрепил петлю на конце штока и сделал груз с упором-выбивалка). Дальше все как по маслу-корпус вытащился, но при этом (как не сильно не колотил) сорвалась пружинная шпонка на штоке 2х12 мм (оем 9430520122)...и теперь не знаю что делать - заказ от 35 дней((, в сервисах Хонда нет (а может не говорят), хотя эта шпонка и в карбюраторах используется на мотиках, где то в машинах. Что делать?
 

neherta

капитан 1-го ранга
Регистрация
13.12.2013
Сообщения
3 642
Карма
481
Город
Костромская обл.
Имя
Николай
Лодка
ОКА 4
Мотор
ХОНДА20
23 дня в автодоке и 212 руб.
 

Pavel_164

матрос
Регистрация
04.05.2021
Сообщения
7
Карма
3
Город
Балаково
Имя
Павел
Лодка
Прогресс-2М
Мотор
Хонда бф30
Отвечу сам)...пробовал выковырять сальник на штоке без снятия-вырвал только верхнюю часть, а внутри осталась еще часть более узкая...)не добраться. Выбил корпус сальника (вышел достаточно легко, но постучать легонько пришлось по приспособе. Накинул какую то железку с петлей, закрепил петлю на конце штока и сделал груз с упором-выбивалка). Дальше все как по маслу-корпус вытащился, но при этом (как не сильно не колотил) сорвалась пружинная шпонка на штоке 2х12 мм (оем 9430520122)...и теперь не знаю что делать - заказ от 35 дней((, в сервисах Хонда нет (а может не говорят), хотя эта шпонка и в карбюраторах используется на мотиках, где то в машинах. Что делать?
Я применил присадочную проволоку для аргонной сварки 2мм. По краям расплющил и всё она на месте, у неё нагрузки ни какой, думаю все будет норм.
 

vcmma

капитан-лейтенант
Регистрация
15.05.2012
Сообщения
397
Карма
144
Возраст
59
Город
Дзержинск, Нижегородская область
Имя
Александр
Лодка
П4; VK200ob; Днепр
Мотор
Н23х2; Y E115AET; Suzuki dt30; Honda BF30D
Не рискнул втыкать полнотелые шпонки...заказал в воднике, должны приехать через 10 дней. Кое как снял проставку помпы, а вот тут ждал «сюрприз»(( Обратил внимание, что по периметру следы герметика, причём старого, с сильным налетом. Если бы не знал, что герметика там быть не должно, подумал бы, что заводской. Тем более, что утечек в данном узле при опрессовке не было. Из-за герметика и снималась проставка очень тяжело.
После снятия обнаружилось, что уплотнительное кольцо по кругу было промазано серым герметиком, а причина-скол посадочного места проставки(. Имхо-скол образовался при криворукой выпрессовке подшипника...больше причин не предположу(. Кроме того скол был глубже проставки, заварен аргоном, а дальше дыра осталась(...теперь думаю, что делать: 1. либо полный разбор редуктора, наварка и проточка посадочного места (надо ещё толковых мастеров найти) 2. Восстановление стенки смолой (че т сомнительно).
204548
3. После замены сальников снова поставить на герметик (что и посоветовали Уссурийцы) как и было.
Зы: вот такой сюрприз бушного мотора
 

vcmma

капитан-лейтенант
Регистрация
15.05.2012
Сообщения
397
Карма
144
Возраст
59
Город
Дзержинск, Нижегородская область
Имя
Александр
Лодка
П4; VK200ob; Днепр
Мотор
Н23х2; Y E115AET; Suzuki dt30; Honda BF30D
Кстати заказ в Воднике отменил...наипалово(...на сайте пишут одно, а в сообщении-через неделю сформируют заказ на ДВ и потом ехать будет ещё дней 10...в общем чудес не бывает. Штифт кстати стоит такой на поплавке карбюратора у моторов Хонда (гены и тд) где то был стукнутый-надо карб разобрать).
 

vcmma

капитан-лейтенант
Регистрация
15.05.2012
Сообщения
397
Карма
144
Возраст
59
Город
Дзержинск, Нижегородская область
Имя
Александр
Лодка
П4; VK200ob; Днепр
Мотор
Н23х2; Y E115AET; Suzuki dt30; Honda BF30D
Разобрал редуктор полностью, шестерни и подшипники в отличном состоянии, дыру в корпусе полставки помпы заклеил холодной сваркой по алюминию weicon (ждал три недели) получилось неплохо. Вал торсионный не снимал. Диаметр отверстия под полставку помпы 45 мм+, нашёл трубу 45 и использовал в качестве оправки. Заодно замазал пару каверз. Долго, нудно, неудобно, но на ощупь получилось не плохо. Обойма гребного вала вытащилась хорошо, но стояла на герметике. На корпусе редуктора присутствуют не большие окислы. Отчистил, полирнул, резиновые кольца новые, сальники естественно тоже-оригинал. Так как окружность посадочного места проставки помпы полировал вручную, сегментом 45 трубы. решил не рисковать и поставил на серый герметик. После сборки опресовал давлением 1атм. При переключении скоростей давление не падает (полировал шток), но увы, медленно но верно давление все таки падает(…минут за 10-15 до «0»…завтра окуну в бочку, посмотрю -что пропускает…сегодня уже сил не было(…лень).
 

Вложения

vcmma

капитан-лейтенант
Регистрация
15.05.2012
Сообщения
397
Карма
144
Возраст
59
Город
Дзержинск, Нижегородская область
Имя
Александр
Лодка
П4; VK200ob; Днепр
Мотор
Н23х2; Y E115AET; Suzuki dt30; Honda BF30D
Пропуск был под проставкой причём в стороне от дырки. Снова вскрыл, прокладку выкинул. Думаю причина была в том, что смазал резиновое кольцо смазкой обильно и смазка попала под герметик(. В общем все счистил и на простаке нанёс герметик-формователь прокладок DoneDeal серного цвета, поставил все на место и попробовал 0,5атм, не пропускалось. Больше давление качать не стал, тк полимеризация герметика 24 часа. Через сутки накачал 1атм, крутил валы, шток реверса дергал, шатал и тд. Давление не падает совсем. Оставил под давлением на несколько часов-норма, не упало))). Вакуумом проверить не довелось, нет установки. Следующий шаг-погонять в корыте).
206591206592
 

vcmma

капитан-лейтенант
Регистрация
15.05.2012
Сообщения
397
Карма
144
Возраст
59
Город
Дзержинск, Нижегородская область
Имя
Александр
Лодка
П4; VK200ob; Днепр
Мотор
Н23х2; Y E115AET; Suzuki dt30; Honda BF30D
Откатал нынешний сезон, правда не много(, часов 15-20, цейтнот(( Проверял несколько раз после крайнего выезда после отстоя, воды - "0"))
 
Вверх Снизу