Куркуль

матрос
Регистрация
21.09.2013
Сообщения
14
Карма
0
Имя
Куркуль
Лодка
Казанка, Крым
Мотор
Suzuki 30, Mercury 15? Yamaha 9,9
тунель то точно нет. У нас воды мало в реках стновиться конец июля август дно реки "деревянное" боишься за мотор да ещё песчанные закоски. на казанки-м стоит сузуки DT30s вполне нормально передвигаемся а у крыма транец получаеться ниже значит и мотор будет ниже
 

Куркуль

матрос
Регистрация
21.09.2013
Сообщения
14
Карма
0
Имя
Куркуль
Лодка
Казанка, Крым
Мотор
Suzuki 30, Mercury 15? Yamaha 9,9
да не надо мне туннелей да водомётов. у меня Сузуки 30S казанке м. там транец ваше чем на крыме если поставлю этот мотор на крым то мотор ниже будет, получается будет больше углубление.
 

Fugitive

лейтенант
Регистрация
17.10.2012
Сообщения
251
Карма
14
Город
Эстония, Таллинн
Имя
Владимир
Лодка
Крым
Мотор
Honda BF30 LRTU
Что ж тут непонятного. У большинства моторов АКП выставляется вровень с днищем, если струбцина мотора при этом не опирается на транец, значит нужно подложить дощечку(или поднять транец), вот и все, у меня на лодке Крым стоит мотор с длинной ногой, но двигатель находится ниже днища не больше, чем у Вас на казанке с сузуки коротконогой. Думаю стоит потратить немного времени на то, чтобы ознакомиться с правилами установки ПЛМ, а то сейчас создается впечатление, что у Вас каша в голове и вы не понимаете на что влияет длина ноги и как все это зависит от высоты транца.
 

Куркуль

матрос
Регистрация
21.09.2013
Сообщения
14
Карма
0
Имя
Куркуль
Лодка
Казанка, Крым
Мотор
Suzuki 30, Mercury 15? Yamaha 9,9
для меня один вывод короткий дейдвуд
 

Fugitive

лейтенант
Регистрация
17.10.2012
Сообщения
251
Карма
14
Город
Эстония, Таллинн
Имя
Владимир
Лодка
Крым
Мотор
Honda BF30 LRTU

tushev

капитан 3-го ранга
Регистрация
21.03.2012
Сообщения
593
Карма
20
Возраст
56
Город
(Жил в Астраханской обл.) с 2011 МО Серпухов
Имя
Андрей
Лодка
(Был Прогресс-2), Есть Крым, Прогресс-4, Кайман 280, Прогресс-2М
Мотор
остался только Вихрь20, Хонда5, YAMAHA F 25 DES
Куркуль сказал(а):
для меня один вывод короткий дейдвуд
Мотор устанавливается на лодку индивидуально.
Поставишь выше - будут прохваты воздуха ...
Поставишь ниже - будет много брызг и снижение КПД ...
Я на ногу L Ямаха 40 поднимал транец на 12,5 см. АКПП находилась ниже среза днища на 2,5 см. мало брызг и отсутствие прохватов.
 

Fugitive

лейтенант
Регистрация
17.10.2012
Сообщения
251
Карма
14
Город
Эстония, Таллинн
Имя
Владимир
Лодка
Крым
Мотор
Honda BF30 LRTU
Вот как должен стоять двигатель и ситуация не изменится ни от короткой ни от длинной ноги, ниже антикавитационной плиты у них размеры одинаковы.
 

tushev

капитан 3-го ранга
Регистрация
21.03.2012
Сообщения
593
Карма
20
Возраст
56
Город
(Жил в Астраханской обл.) с 2011 МО Серпухов
Имя
Андрей
Лодка
(Был Прогресс-2), Есть Крым, Прогресс-4, Кайман 280, Прогресс-2М
Мотор
остался только Вихрь20, Хонда5, YAMAHA F 25 DES
Fugitive сказал(а):
Куркуль сказал(а):
для меня один вывод короткий дейдвуд
Вам об этом 30 раз уже сказано - это не выход. Ситуация не изменится от того, что Вы назовете ногу дейдвудом. Марш читать тут http://ru.wikipedia.org/wiki/%D0%9B%D0% ... 0%BE%D1%80
+ 100
 

Саня С

капитан 1-го ранга
Регистрация
16.03.2012
Сообщения
3 263
Карма
134
Возраст
53
Город
Краснодар
Имя
Саня
Лодка
Badger Duck Line 300 AL
Мотор
Merkury 8М
Fugitive сказал(а):
Вот как должен стоять двигатель и ситуация не изменится ни от короткой ни от длинной ноги, ниже антикавитационной плиты у них размеры одинаковы.
а на ямаху сказано1-2 см.
 

Fugitive

лейтенант
Регистрация
17.10.2012
Сообщения
251
Карма
14
Город
Эстония, Таллинн
Имя
Владимир
Лодка
Крым
Мотор
Honda BF30 LRTU
Скажем так - для всех моторов от 0 до 50мм, но это зависит как от самого мотора и винта, так и от лодки. Картинка спонтанно найденная в интернете, за чистую правду ее не стоит принимать, она лишь для того, чтобы объяснить человеку всю глубину наших глубин :)
 

Саня С

капитан 1-го ранга
Регистрация
16.03.2012
Сообщения
3 263
Карма
134
Возраст
53
Город
Краснодар
Имя
Саня
Лодка
Badger Duck Line 300 AL
Мотор
Merkury 8М
Согласен, надо смотреть по месту и строению дна лодки
 

Вложения

tushev

капитан 3-го ранга
Регистрация
21.03.2012
Сообщения
593
Карма
20
Возраст
56
Город
(Жил в Астраханской обл.) с 2011 МО Серпухов
Имя
Андрей
Лодка
(Был Прогресс-2), Есть Крым, Прогресс-4, Кайман 280, Прогресс-2М
Мотор
остался только Вихрь20, Хонда5, YAMAHA F 25 DES
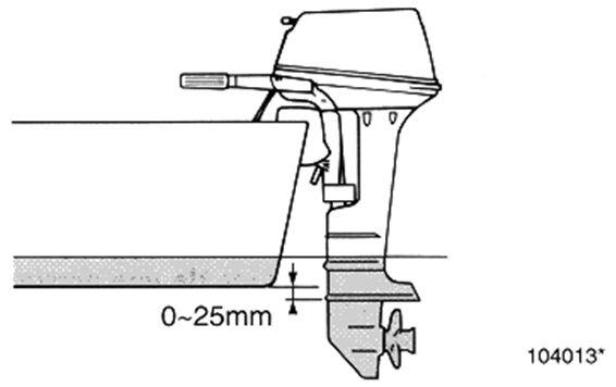
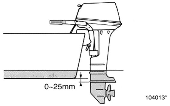
Из инструкции по установке мотора Ямаха
"Высота установки мотора
Чтобы Ваша лодка показывала наилучшие
результаты при эксплуатации, необходимо
снизить до минимума сопротивление воды
лодке и мотору. Высота установки подвесного
лодочного мотора имеет огромное значение
для снижения сопротивления воды. Если
мотор установлен на слишком большой
высоте, это ведёт к кавитации, что снижает
поступательное движение (тягу). Если концы
лопастей гребного винта режут воздух, число
оборотов двигателя возрастёт до
ненормальных пределов и приведёт к
перегреву двигателя. Если мотор установлен
слишком низко, увеличится сопротивление
воды, что приведёт к ухудшению показателей
работы мотора. Мотор следует устанавливать
таким образом, чтобы антикавитационная
пластина находилась ниже донной части
лодки на 25 мм (1 дюйм)."


Рисунки из инструкции
 

Вложения

tushev

капитан 3-го ранга
Регистрация
21.03.2012
Сообщения
593
Карма
20
Возраст
56
Город
(Жил в Астраханской обл.) с 2011 МО Серпухов
Имя
Андрей
Лодка
(Был Прогресс-2), Есть Крым, Прогресс-4, Кайман 280, Прогресс-2М
Мотор
остался только Вихрь20, Хонда5, YAMAHA F 25 DES
Куркуль сказал(а):
для меня один вывод короткий дейдвуд
Прежде чем делать такие выводы нужно понимать суть заданного вопроса. Если тебе всеравно как будет идти лодка тогда можешь поднять так как тебе хочется, а если нужно чтоб ходовые качества твоего аппарата приближались и идеальным тогда нужно регулировать высоту установки мотора.
На фото ниже моя лодка с поднятым транцем. Первая установка транца была такой, что АКП находилась вровень со срезом днища - прохваты на поворотах. Путем подрезания транцевой доски опустил до 2,5 см. идеальная высота для П4 под 40 ЯмаКеросин.
 

Вложения

ao77

матрос
Регистрация
12.12.2011
Сообщения
11
Карма
0
Город
Астрахань
Имя
Андрей
Лодка
Крым
Мотор
Вихрь
Добрый день! Напишу сюда, к сороковке.
Крым + Суз dt40, винт штатный 11 1/2*13, немного перекручивает, скорость по GPS макс 42-43. Хочу купить более скоростной винт.
Видел инфу, что якобы Соласы делают свою геометрию и их надо брать +1шаг желаемого, тогда как Баексаны копируют штатный винт, но качество хуже. Разница в цене 2000.
Насколько правда не знаю.
Что взять мне?
-14 баексан с диаметром четко 11 1/2 как у штатного 13?
-14 солас с диаметром как пишут 11,6 (чуть больше).
А если правда с шагом соласов, то возможно солас 11,4*15
Разница качества баексана и соласа ощутимо не в пользу первого? Обороты - точно доверять таху не приходится, китайский дешевый тах "от свечей", думаю так погрешность +-200, поэтому возможно для неполной загрузки и 15 шаг на сороковку пойдет? Спасибо
 

дмитрий18989

пассажир
Регистрация
19.08.2015
Сообщения
1
Карма
0
Возраст
37
Город
конаково
Имя
дмитрий
Лодка
крым
Мотор
suzuki 40
всем доброго времени суток. ребят подскажите .покупаю крым с сузуки 40. поставят на учет в гимс или нет?
 

shkiper

капитан 2-го ранга
Регистрация
17.11.2014
Сообщения
1 490
Карма
101
Возраст
63
Город
г Херсон
Имя
андрей
Лодка
неман 2
Мотор
Parsun F20bms
ставь любую коротконогую сороковку и брусочек на транец..(на совколодках транец 380 а иномарки чуть выше.......)
 
Вверх Снизу