Al-r_K

капитан 1-го ранга
Регистрация
07.10.2021
Сообщения
1 810
Карма
641
Город
Иркутск
Имя
Александр
Лодка
Несколько
Мотор
Несколько разных
16343127432676457574599727180073.jpg

Япония
 

Вложения

Реакции: Serg

hanter2013

капитан 1-го ранга
Регистрация
10.08.2014
Сообщения
20 683
Карма
1 055
Возраст
70
Город
Темрюк
Имя
Иосиф (Юзик) 69 года
Лодка
казанка 5 Катран Прогресс 4 уже в прошлом
Мотор
ямаха25, ямаха 40
Вот во что японцы превратили нашу "Каму"
 

Al-r_K

капитан 1-го ранга
Регистрация
07.10.2021
Сообщения
1 810
Карма
641
Город
Иркутск
Имя
Александр
Лодка
Несколько
Мотор
Несколько разных

Вложения

Реакции: Serg

Al-r_K

капитан 1-го ранга
Регистрация
07.10.2021
Сообщения
1 810
Карма
641
Город
Иркутск
Имя
Александр
Лодка
Несколько
Мотор
Несколько разных
Гораздо более ранний вариант.
TAS MOTOR, модели TOB/12b (с красной полосой), и TOB/12c (с синей полосой).
Различия в подвеске, стартере, и по мелочам.
 

Вложения

Последнее редактирование:

Сергей Б

капитан 1-го ранга
Регистрация
09.12.2017
Сообщения
5 412
Карма
1 599
Возраст
62
Город
Москва
Имя
Сергей
Лодка
А нету.
Мотор
Тоже нету.
А редуктор 2/1 или 4/1 ?
 

Al-r_K

капитан 1-го ранга
Регистрация
07.10.2021
Сообщения
1 810
Карма
641
Город
Иркутск
Имя
Александр
Лодка
Несколько
Мотор
Несколько разных

Al-r_K

капитан 1-го ранга
Регистрация
07.10.2021
Сообщения
1 810
Карма
641
Город
Иркутск
Имя
Александр
Лодка
Несколько
Мотор
Несколько разных
Ещё
 

Вложения

Al-r_K

капитан 1-го ранга
Регистрация
07.10.2021
Сообщения
1 810
Карма
641
Город
Иркутск
Имя
Александр
Лодка
Несколько
Мотор
Несколько разных
Тот же мотор, только чуть чуть другой. 2 л. с. Производитель Tanaka, торговая марка Sea King.
Туда-же, в Америку...
 

Вложения

Al-r_K

капитан 1-го ранга
Регистрация
07.10.2021
Сообщения
1 810
Карма
641
Город
Иркутск
Имя
Александр
Лодка
Несколько
Мотор
Несколько разных
Статья из журнала "Катера и Яхты", 1972 год, N39.

В отделе подвесных моторов Нью-йоркской лодочной выставки 1972 года всеобщее внимание привлек односильный одноцилиндровый лодочный подвесной моторчик «Аква Баг» (в переводе это водяной жук или водяной клоп). Мы уже упоминали об этом моторе, ранее именовавшемся «Пушер», в обзоре, помещенном в №35.

Вес этого самого легкого в мире подвесного мотора — 3,86 кг, цена 99 долларов 95 центов. Американская корпорация «Си-Бори Систем» продает свой мотор только по почтовым заказам.

Новый мотор, во всех отношениях превосходящий своего собрата «Майти-Майт» — «Нептун» (1,7 л. с.), имеет полностью закрытый капотом заводной механизм, более современную конструкцию и оформление, вдвое меньший вес. Значительное снижение веса достигнуто главным образом путем широкого применения современных пластмасс и специальных легких сплавов. В частности, конические шестерни передачи выполнены из легкого и устойчивого против истирания поликарбоната, армированного стекловолокном.

Скользящая подвеска позволяет устанавливать «Аква Баг» на транце любой высоты, поднимать мотор выше при прохождении мелководья. При испытании на стенде этот мотор с рабочим объемом 22 см3 развил мощность 1,2 л. с. при 5000 об/мин. Конечно, «Аква Баг» пригоден для применения лишь на самых маленьких судах — байдарках и каноэ, малых надувных лодках; нередко его используют в качестве вспомогательного двигателя на небольших парусниках. Основную часть покупателей составляют охотники и рыболовы, промышляющие на малых реках и озерах.
 

Вложения

Одиссей83

капитан 1-го ранга
Регистрация
28.09.2014
Сообщения
17 763
Карма
3 122
Город
А-Мелентьево
Имя
Андрей
Лодка
Раскладушка- кулас
Мотор
Оса, салют
Техника... У загнивающего запада все выпускалось что пользовалось спросом.. вот у них полно таких моделей разных фирм с 1—3 кобылами мощьности.. интересно все таки назначение таких моторчиков — у них за бугром.. вот что то кажется мне это разнообразие москитов — совсем не докатки:)) Это основные моторы для какой то задачи.. неужели там столько много типа Романтики лодок?
 

Сергей Б

капитан 1-го ранга
Регистрация
09.12.2017
Сообщения
5 412
Карма
1 599
Возраст
62
Город
Москва
Имя
Сергей
Лодка
А нету.
Мотор
Тоже нету.
У многих из этих моторов было написано - троллинговый мотор, они не убивали большие моторы холостыми оборотами.
 

Одиссей83

капитан 1-го ранга
Регистрация
28.09.2014
Сообщения
17 763
Карма
3 122
Город
А-Мелентьево
Имя
Андрей
Лодка
Раскладушка- кулас
Мотор
Оса, салют
У многих из этих моторов было написано - троллинговый мотор, они не убивали большие моторы холостыми оборотами.
Может и так.. Но помню что давно какой то американский фильм был про двух чудиков — помешанных на рыбалке.. сам фильм как у них какая то вещь мафии оказалась и мафия за ними гонялась. Там рыбалки было чуть чуть — но лодка была у них метра 4 и мотор был маломощный.. рыбалка была не тролинг — с места на место они переходили под этим мотором..
 

yaua1974

капитан 1-го ранга
Регистрация
09.10.2020
Сообщения
8 540
Карма
2 691
Город
Покровск
Имя
Алексей
Лодка
Ривьера360-320 были.Нептун км280.Аква2900ск. Обь.
Мотор
Тохатсу 2.5 -Был. Нептун23-есть.
Капец техника...Так кто тут постоянно ноет,что мы в совке "отставали" от запада?"Ужастик "кама" к примеру...
 

Al-r_K

капитан 1-го ранга
Регистрация
07.10.2021
Сообщения
1 810
Карма
641
Город
Иркутск
Имя
Александр
Лодка
Несколько
Мотор
Несколько разных
Следующая модель. Tanaka 300.
3 лошадинные силы. Воздушное охлаждение.
 

Вложения

Al-r_K

капитан 1-го ранга
Регистрация
07.10.2021
Сообщения
1 810
Карма
641
Город
Иркутск
Имя
Александр
Лодка
Несколько
Мотор
Несколько разных
ТОВ-300 называется.
 

Вложения

Al-r_K

капитан 1-го ранга
Регистрация
07.10.2021
Сообщения
1 810
Карма
641
Город
Иркутск
Имя
Александр
Лодка
Несколько
Мотор
Несколько разных
Цилиндром вперёд, и румпель с другой стороны.
 

Вложения

Al-r_K

капитан 1-го ранга
Регистрация
07.10.2021
Сообщения
1 810
Карма
641
Город
Иркутск
Имя
Александр
Лодка
Несколько
Мотор
Несколько разных
Винт уже трехлопастной
 

Вложения

Al-r_K

капитан 1-го ранга
Регистрация
07.10.2021
Сообщения
1 810
Карма
641
Город
Иркутск
Имя
Александр
Лодка
Несколько
Мотор
Несколько разных
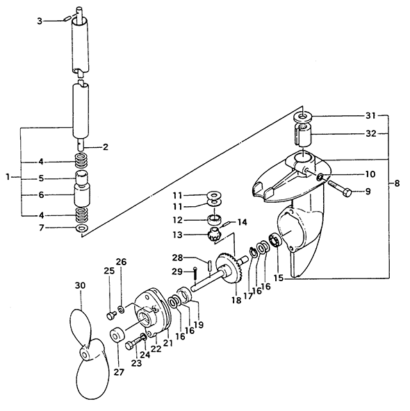
И самое интересное, из литературы, двухступенчатый автоматический редуктор.
Не разбирал, не знаю устройство.
Может кто в курсе, что это?
Центробежное сцепление присутствует.
 

Вложения

Al-r_K

капитан 1-го ранга
Регистрация
07.10.2021
Сообщения
1 810
Карма
641
Город
Иркутск
Имя
Александр
Лодка
Несколько
Мотор
Несколько разных
На американском рынке тоже шёл под маркой Gamefisher
 

Вложения

Сергей Б

капитан 1-го ранга
Регистрация
09.12.2017
Сообщения
5 412
Карма
1 599
Возраст
62
Город
Москва
Имя
Сергей
Лодка
А нету.
Мотор
Тоже нету.
Трудности перевода, двухступенчатый автоматический = центробежное сцепление + редуктор.
У скутеров тоже так пишут, цену набить.
 

Al-r_K

капитан 1-го ранга
Регистрация
07.10.2021
Сообщения
1 810
Карма
641
Город
Иркутск
Имя
Александр
Лодка
Несколько
Мотор
Несколько разных

Al-r_K

капитан 1-го ранга
Регистрация
07.10.2021
Сообщения
1 810
Карма
641
Город
Иркутск
Имя
Александр
Лодка
Несколько
Мотор
Несколько разных
TOB-120
 

Вложения

Реакции: Serg
Вверх Снизу