Al-r_K

капитан 1-го ранга
Регистрация
07.10.2021
Сообщения
1 806
Карма
617
Город
Иркутск
Имя
Александр
Лодка
Несколько
Мотор
Несколько разных
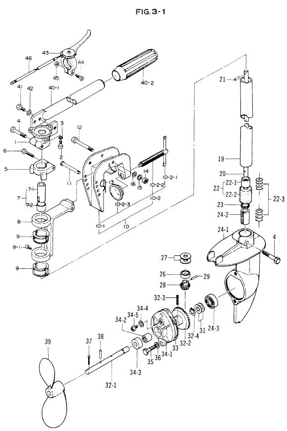
TOB-300
 

Вложения

Al-r_K

капитан 1-го ранга
Регистрация
07.10.2021
Сообщения
1 806
Карма
617
Город
Иркутск
Имя
Александр
Лодка
Несколько
Мотор
Несколько разных
Немножко истории фирмы Tanaka.
Извините за английский, кто захочет, тот поймёт.

In 1918, the Tanaka business was started in Japan by Takashi Tanaka who created “Tanaka Iron Works” near Tokyo, Japan. In 1941 the manufacturing plant near Narashino (approximately 25 miles SE of Tokyo) was built and in 1948, Tanaka began research and development of compact internal combustion engines. In 1950, the company name was changed to Tanaka Kogyo Co., Ltd. The word “Kogyo” (pronounced “Koh-gyoh”) means industries in Japanese.


In 1951, Tanaka began mass production of moped engines and in 1954 produced and marketed a 125 cc motorcycle engine. Their focus on larger, moped and motorcycle engines continued until 1962, when they opened a plant in Shirako and introduced the world’s smallest industrial, general purpose 2-cycle engine (22cc/P-7). In 1965, Sieken Tanaka (Takashi’s son) became President of the company and they began their pursuit of worldwide markets.



In 1968, Tanaka began marketing 50, 60 and 100 cc motorcycle engines for export to North America. In 1971, they produced a new chainsaw and hedge trimmer for export markets and in 1974, introduced a 2.5 hp outboard motor that would eventually be private label for Sears. In 1975, Tanaka expanded its production plant in Shirako and began production of a 23 cc (1.2 hp) bicycle motor.



In 1978, Tanaka Kogyo (USA) Co., Ltd. was established in Kent, WA to pursue and support North American sales. In 1984, Tanaka acquired a small mail order company, Aquabug International, expanded its product offering and renamed it Sporting Edge.



In 1985, Tanaka relocated its entire operation to a new 70,000 sq. ft. facility in Bothell, WA. In 1987, the Tanaka Kogyo (USA) Co., Ltd/Sporting Edge assets were purchased from Tanaka Japan by an investment group led by Bill Thomson. The company, while now separate from Tanaka Japan, retained the identity of Tanaka Kogyo (USA) Co., Ltd and the exclusive marketing rights for Tanaka North, Central and South America.



In 1989, Tanaka’s USA assets and marketing rights were purchased by the Ariens Co. of Brillion, Wisconsin. Soon after, a new subsidiary company of Ariens, Tanaka Ltd., was established to continue marketing and support of Tanaka products. In 1990, a new line of Ariens brand 2-cycle handheld products (made by Tanaka) was introduced for Ariens Distributors and Dealers. In 1992, Ariens discontinued its relationship with Tanaka and ISM was established by a five long-time Tanaka employees.



In May of 2007, Hitachi Koki Co., Ltd from Japan acquired Tanaka and created two new companies- Nikko Tanaka Engineering Co., Ltd. to conduct OPE manufacturing and domestic sales in Japan and then Nikko Tanaka Engineering USA Ltd., to conduct North American sales and support, based out of Auburn, WA.



By January 2009, the business functions of Nikko Tanaka Engineering USA were fully absorbed as a brand within Hitachi Koki Co., Ltd’s North American division; Hitachi Koki USA Ltd (commonly referred to as Hitachi Power Tools) based out of Norcross, GA. The goal has been to create synergy between Tanaka Outdoor Power Equipment and the Hitachi Power Tool business resulting in improved business efficiencies, and the collaboration of product lines to benefit from technological innovations, as well as share in R&D endeavors going forward.





TIMELINE


1943 Tanaka became the leading manufacturer in aero plane industry with the development and production of high accuracy airborne fuel and hydraulic pumps

1951 Began production and marketing of moped engines

1954 Produced and marketed TAS Vanguard 125cc motorcycle engines

1955 Produced and marketed compact general-purpose D-51 (50cc) engines

1957 Began production of the TAS moped (50cc) and general purpose J-1 (37cc) engines

1960 Pioneered an innovative concept in backpack sprayer design by combining the blower fan and engine cooling fan into one unit.

P5 engine

1962 Introduced the world’s smallest industrial general-purpose two-cycle engine- P7 (22cc)

1964 Incorporated the successful P-7 engine into lightweight power products, including liquid pumps (PC-12), engine drills (PED-3), electric generators (PEG-200), and Japan’s smallest chainsaws (PCS-3).

1966 Villers Engineering Co., Ltd., England, obtained a licensing agreement to manufacture the successful (P-7) engine

1968 Produced the “Chibi” (50cc), “Tora” (60cc) and “Taka” (100cc) motorcycles and exported them to North America

1971 Produced ECS-5 (37cc) chain saws and PHT-22 Hedge trimmers. Received a special importation license enabling a joint venture between Tanaka and a Brazillian company for the manufacture of back pack sprayers

1973 Introduced a new generation of lightweight, general-purpose engines. Developed the QEG-300 Generator

1974 Introduced the TOB-25 outboard motor. Began local production of the B-70 (70cc) and B-100 (100cc) chain saws in Brazil, as part of the Brazilian joint venture

1975 Developed a 23 cc front wheel drive bicycle engine- QBM-23 Bicycle Motor. Produced the general purpose T-50 engine and T-23 engine used on Grass Trimmer, Hedge Trimmer, Drill

1977 Developed and produced the ECS-35 Chainsaw (35cc). Introduced the TCP-38 Centrifugal Pump

1980 Introduced a revolutionary concept in outboard motor design by producing lightweight outboard motors which feature dual automatic drive (TOB-175 & TOB-300) with Dual Automatic Clutch systems. Produced the THT-162 hedge trimmer

1981 Introduced the ECS-405 and -505 Chainsaws

1982 Color Coded Nylon Line

1983 The BRAIN® Fully Automatic and adjustable cutting head

1984 Perfect Mix® 2-Cycle Oil in a 16 oz. self-measuring bottle

1985 TLE-500 Edger featuring gear / shaft driven cutting blade

1986 AST-7000 Electric Start Trimmer / Brushcutter

1986 TLE-550 Edger and TBL-455 Backpack Blower with innovative frame / harness system

1987 TED-260 Reversible and TED-265 Reversible / Hammer Drill

1988 TST-218 Telescopic Shaft Trimmer / Brush Cutter

1989 New Accessory Merchandiser Kits

1990 ECS-320 / ECS-330 (32cc) Chainsaws and TED-262 Drill

1991 SRS Sound Reduction System used on TBC-220SS, THT-210, TED-210 and TCP-210

1992 TBC-250 / 300 Grass Trimmers with SRS

1993 TPE-250 Portable / Handheld Edger / TED-262L Drill with locking gear case

1994 THT-2120 26" Double Sided Hedge trimmer with the Quick-Twist pivoting rear handle

1995 TED-262R Drill with reverse

1996 TBC-2510 Trimmer, ECS-3301 / 3351 Chainsaws

1997 THT-2520 30” Double Sided Hedge Trimmer

1998 40cc PureFire Engine, TCS-3401 Chainsaw

1999 26cc PureFire Engine, Articulating Hedge Trimmer Attachment

2000 25cc PureFire Engine

2003 PF-3300 PureFire Engine

2010 PureFire II Engine

Facebook Twitter Instagram Contact Us YouTube LinkedIn
Safety Notice Recall
Safety Information
Buy Reconditioned Tool
Metabo HPT History
Purchase Metabo HPT Gear
Distributor Co-op Login
Contact Us
Terms Of Use | Privacy Policy | Sitemap
© Koki Holdings America Ltd., 2021. All Rights Reserved.
 

Al-r_K

капитан 1-го ранга
Регистрация
07.10.2021
Сообщения
1 806
Карма
617
Город
Иркутск
Имя
Александр
Лодка
Несколько
Мотор
Несколько разных
Эти, что были описаны, из моей коллекции
 

Вложения

Al-r_K

капитан 1-го ранга
Регистрация
07.10.2021
Сообщения
1 806
Карма
617
Город
Иркутск
Имя
Александр
Лодка
Несколько
Мотор
Несколько разных
Но Tanaka выпускала ещё несколько моделей.
TOB-175, и TOB-550.
Попробую найти в сети информацию по ним, чтобы обзор был полным.
 

Al-r_K

капитан 1-го ранга
Регистрация
07.10.2021
Сообщения
1 806
Карма
617
Город
Иркутск
Имя
Александр
Лодка
Несколько
Мотор
Несколько разных
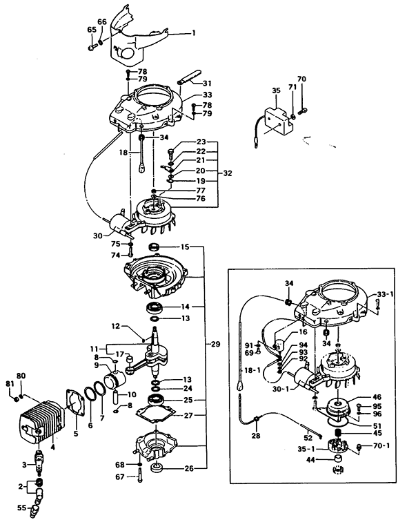
TOB-175
 

Вложения

Al-r_K

капитан 1-го ранга
Регистрация
07.10.2021
Сообщения
1 806
Карма
617
Город
Иркутск
Имя
Александр
Лодка
Несколько
Мотор
Несколько разных
TOB-175 схемы.
 

Вложения

chebarik

капитан 1-го ранга
Регистрация
28.01.2015
Сообщения
15 837
Карма
4 197
Город
Земля
Имя
Андрей
Лодка
Романтика
Мотор
Mcculloch 4

Al-r_K

капитан 1-го ранга
Регистрация
07.10.2021
Сообщения
1 806
Карма
617
Город
Иркутск
Имя
Александр
Лодка
Несколько
Мотор
Несколько разных
В Иркутске Танаки, у нас Вольвопенты))) И Алдели всякие.
Да...
Нельзя объять необъятное, но нужно стремиться...
Для меня европейские моторы, это терра инкогнита, не доходят они до Сибири.
Но интересных инженерных решений очень много.
Больше, чем, например, у японцев.
Япония начала, оттолкнувшись от европы. Начала жестко, быстро, и задушила почти всех. Но интересных экземпляров мало, и те JDM.
 

Al-r_K

капитан 1-го ранга
Регистрация
07.10.2021
Сообщения
1 806
Карма
617
Город
Иркутск
Имя
Александр
Лодка
Несколько
Мотор
Несколько разных
В отличие от автомобилей. Здесь наоборот. Японцы экспериментировали от всей души. В коллекции 11 штук, 7 япов. Все бодрые.
Аксиому "Хороших автомобилей с левым рулём не бывает" поддерживаю на все 100...
 

Al-r_K

капитан 1-го ранга
Регистрация
07.10.2021
Сообщения
1 806
Карма
617
Город
Иркутск
Имя
Александр
Лодка
Несколько
Мотор
Несколько разных
Tanaka TOB-175 на американском рынке продавалась под маркой Gamefisher-1,75
 

Вложения

ovchinnikov 1966

капитан 1-го ранга
Регистрация
29.01.2012
Сообщения
9 407
Карма
1 301
Имя
Alex
Лодка
Terhi 405. Flinc 320
Мотор
Johnson, Evenrud, Chrysler.Terhi . Volvo Penta ///...
Да...
Нельзя объять необъятное, но нужно стремиться...
Для меня европейские моторы, это терра инкогнита, не доходят они до Сибири.
Но интересных инженерных решений очень много.
Больше, чем, например, у японцев.
Япония начала, оттолкнувшись от европы. Начала жестко, быстро, и задушила почти всех. Но интересных экземпляров мало, и те JDM.
История повторяется:)) Китайцы содрали у японцев. Больше американцев ни кто не производил плм.

Полная библиотека по моторам, лодкам, прицепам и т. д. всех производителей в сша.

 

Al-r_K

капитан 1-го ранга
Регистрация
07.10.2021
Сообщения
1 806
Карма
617
Город
Иркутск
Имя
Александр
Лодка
Несколько
Мотор
Несколько разных
История повторяется:)) Китайцы содрали у японцев. Больше американцев ни кто не производил плм.

Полная библиотека по моторам, лодкам, прицепам и т. д. всех производителей в сша.

Спасибо!
Да... просто кладезь информации.
Прям очень благодарен!
 

Al-r_K

капитан 1-го ранга
Регистрация
07.10.2021
Сообщения
1 806
Карма
617
Город
Иркутск
Имя
Александр
Лодка
Несколько
Мотор
Несколько разных
Статья из журнала "Катера и Яхты", 1972 год, N39.

В отделе подвесных моторов Нью-йоркской лодочной выставки 1972 года всеобщее внимание привлек односильный одноцилиндровый лодочный подвесной моторчик «Аква Баг» (в переводе это водяной жук или водяной клоп). Мы уже упоминали об этом моторе, ранее именовавшемся «Пушер», в обзоре, помещенном в №35.

Вес этого самого легкого в мире подвесного мотора — 3,86 кг, цена 99 долларов 95 центов. Американская корпорация «Си-Бори Систем» продает свой мотор только по почтовым заказам.

Новый мотор, во всех отношениях превосходящий своего собрата «Майти-Майт» — «Нептун» (1,7 л. с.), имеет полностью закрытый капотом заводной механизм, более современную конструкцию и оформление, вдвое меньший вес. Значительное снижение веса достигнуто главным образом путем широкого применения современных пластмасс и специальных легких сплавов. В частности, конические шестерни передачи выполнены из легкого и устойчивого против истирания поликарбоната, армированного стекловолокном.

Скользящая подвеска позволяет устанавливать «Аква Баг» на транце любой высоты, поднимать мотор выше при прохождении мелководья. При испытании на стенде этот мотор с рабочим объемом 22 см3 развил мощность 1,2 л. с. при 5000 об/мин. Конечно, «Аква Баг» пригоден для применения лишь на самых маленьких судах — байдарках и каноэ, малых надувных лодках; нередко его используют в качестве вспомогательного двигателя на небольших парусниках. Основную часть покупателей составляют охотники и рыболовы, промышляющие на малых реках и озерах.
В этой статье упоминается мотор "Aqua Bug". Это очередная торговая марка фирмы "Tanaka Kogyo" на американском рынке.
Светлый мотор - аналог ТОВ/12c
Чёрный мотор - аналог ТОВ/12b
 

Вложения

Последнее редактирование:

Al-r_K

капитан 1-го ранга
Регистрация
07.10.2021
Сообщения
1 806
Карма
617
Город
Иркутск
Имя
Александр
Лодка
Несколько
Мотор
Несколько разных
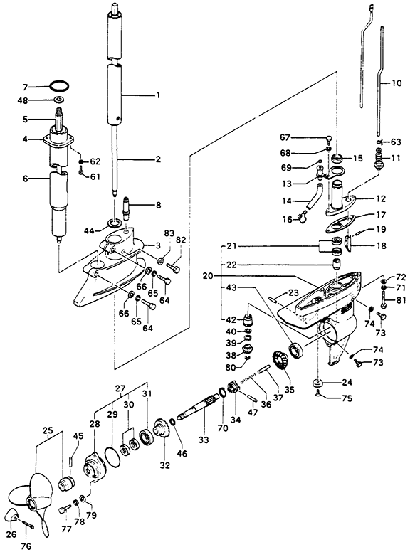
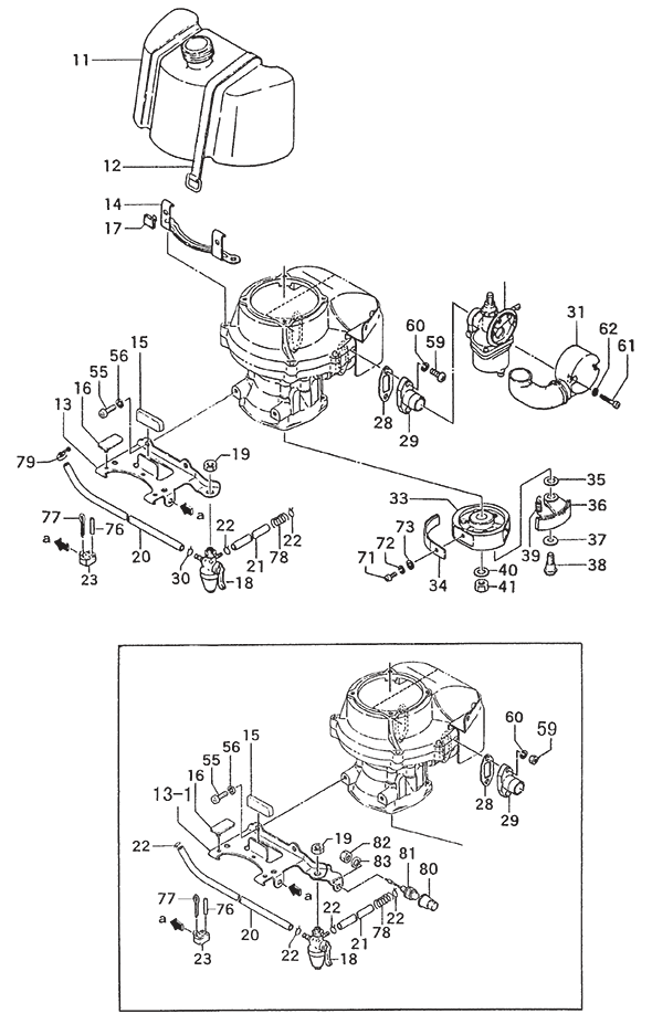
Самая мощная модель фирмы Tanaka.
TOB-550
 

Вложения

Al-r_K

капитан 1-го ранга
Регистрация
07.10.2021
Сообщения
1 806
Карма
617
Город
Иркутск
Имя
Александр
Лодка
Несколько
Мотор
Несколько разных
Двигатели Aspera, как ни странно в последние годы, совсем не Techumseh выпускались, а японской Tanaka
 

Al-r_K

капитан 1-го ранга
Регистрация
07.10.2021
Сообщения
1 806
Карма
617
Город
Иркутск
Имя
Александр
Лодка
Несколько
Мотор
Несколько разных
Tanaka TOB-550


 

Вложения

Al-r_K

капитан 1-го ранга
Регистрация
07.10.2021
Сообщения
1 806
Карма
617
Город
Иркутск
Имя
Александр
Лодка
Несколько
Мотор
Несколько разных
Последнее редактирование:

Al-r_K

капитан 1-го ранга
Регистрация
07.10.2021
Сообщения
1 806
Карма
617
Город
Иркутск
Имя
Александр
Лодка
Несколько
Мотор
Несколько разных
HMS Marine. "Cruise' n Carry". Модель 6500.
1,2 л.с.
 

Вложения

Последнее редактирование:

Al-r_K

капитан 1-го ранга
Регистрация
07.10.2021
Сообщения
1 806
Карма
617
Город
Иркутск
Имя
Александр
Лодка
Несколько
Мотор
Несколько разных
HMS Marine. "Cruise' n Carry". Модель 6600.
1,5 л.с.
 

Вложения

Последнее редактирование:

Al-r_K

капитан 1-го ранга
Регистрация
07.10.2021
Сообщения
1 806
Карма
617
Город
Иркутск
Имя
Александр
Лодка
Несколько
Мотор
Несколько разных
Хороший человек уступил мотор Tanaka- 175. Жду транспортной. Теперь только Tanaka - 550 не будет хватать в коллекции.
Придёт, с меня подробные фотографии.
 

Al-r_K

капитан 1-го ранга
Регистрация
07.10.2021
Сообщения
1 806
Карма
617
Город
Иркутск
Имя
Александр
Лодка
Несколько
Мотор
Несколько разных

Вложения

Al-r_K

капитан 1-го ранга
Регистрация
07.10.2021
Сообщения
1 806
Карма
617
Город
Иркутск
Имя
Александр
Лодка
Несколько
Мотор
Несколько разных
Дейдвуд, винт трехлопастной, такой-же, как у Tanaka tob-300, но цилиндром вперёд.
В сети информацию когда искал, там цилиндр назад.
Как минимум две модификации существуют.
 
Вверх Снизу