Александр1984
ст. матрос
- Регистрация
- 03.09.2019
- Сообщения
- 31
- Карма
- 9
- Город
- Усть-каменогорск
- Имя
- Александр
- Лодка
- ПВХ RYBD(S)-370R
- Мотор
- вихрь 20
Спасибо всем за советы, опыты по регулировке зажигания буду теперь проводить только в новом сезоне.
Здравствуйте, а чем шлифовали?Аналогично. Несколько токарей отказались точить. А потом нашел нормального токаря. Он, хоть раньше и не точил вихревские картера, немного подумал и все сделал, как надо. Станок у него ИЖ-250, самый простой. Там вся премудрость- правильно зажать деталь сложной формы.
А вручную шлифовать я бы не стал, плоскость нарушить раз плюнуть. Там счет на сотки. Лучше уж канавки оставить.
Здравствуйте!Станок оптимальный с патроном 250мм
типа 1к62/16к20.
Брать на расжим за полость картера и выставить хотя бы до двух соток по наружному торцу там где идут прокладки полумесяцем и забилить плоскость. В идеале вынуть штифты и там забелить за одну установку, так же и с другой стороны.
. Можно хоть название правильное и фоткуПростите за мой французский, ибо не знаю правильных названийДля токарных работ ничего не надо вот фото
Все, беги от этого токаря, испортит картер. Вот тебе для пониманияПростите за мой французский, ибо не знаю правильных названий
Токарь сказало наждачкой отшлифовать можно, зажать картер в патрон и крутить, а чем держать её он не знает, рукой держать не будет ибо оторвет нахрен.
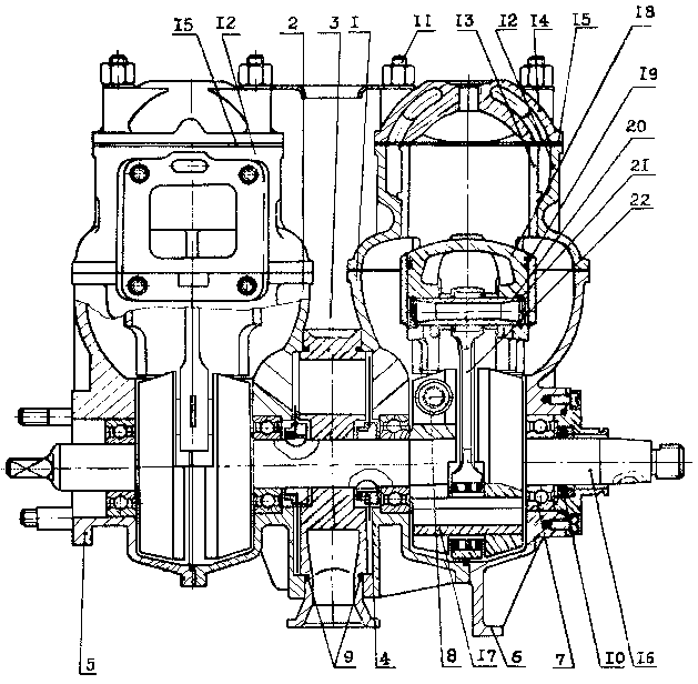
Какой инструмент нужен для обработки плоскости.
Спасибо за совет!Все, беги от этого токаря, испортит картер. Вот тебе для понимания
Плоскость по которой работает золотник должна быть параллельна привалочной плоскости под ответную часть картера. Важно выставить в патроне или на план шайбе.Точили маленьким резцом, номер не помню. Весь смысл сделать идеальную плоскость, убрать царапины недостаточно. Может быть, есть смысл поискать токаря здесь на форуме и отправить картер к нему почтой. До лета еще далеко, успеете.
Или ПТУ (училище) при каждом нормальном машиностроительном заводе есть свои училища для молодых ребят.Как бы там ни было наждачкой не касайся. Никакого абразива, только режущий инструмент.
Ну а токаря хорошего...тут просто токарю головой надо подумать немного. На видео обычный школьный станок, ТВ-4 или ТВ-6. Я когдато пользовался услугами своего учителя трудов ). Порекомендую обратиться если не в школу то в техникум или хабзай. Я по первости в химико технологическом технаре учился и у нас были знатные мастерские с огромным станочным парком. Учился кстати на "обработке материалов на станках и автоматических линиях" ). Также нашел у себя в городе токарей на городском форуме в разделе услуги. Ищите и обрящете!
В Москве парки в основном отдают делать агрегаты в сторонние фирмы. А станки, если где и остались, то по большей части раздолбанные. Может, в регионах иначе.Еще в автобусном парке находил токаря. Их реально много, нужно прикинуть где они прячутся )

