реф-мех

капитан 1-го ранга
Регистрация
16.01.2012
Сообщения
4 462
Карма
191
Возраст
83
Город
Мариуполь
Имя
Михаил
Лодка
Казанка 5М2, ПВХ Thunder ТМ-270
Мотор
Вихрь-30, Вихрь-45
В какой-то теме я уже намекал, что надо проверять при монтаже узла, если совместно устанавливается другой маховик, коленвал, сегментная шпонка. Но хочу боле подробно описать, что же все-таки может произойти без дополнительной проверки указанных деталей и конкретно какие размеры надо проверять при монтаже этих трех деталей. Дело в том, что глубина шпоночного паза на конусах разных коленвалов тоже разная и бывают отклонения несколько десятых долей мм, разная глубина шпоночного паза и на маховиках, разная высота самих сегментных шпонок (разница их высот вообще доходит до 0,5мм) . Поэтому, если шпонка будет выглядывать из гнезда конуса больше, чем глубина паза в маховике, то маховик не сядет плотно своим конусом на конус коленвала, и тогда дно шпоночного паза маховика упрется в шпонку. В результате при затяжке гайки маховика его тонкая ступица растянется по шпонке. Аналогично , как если бы шпонка съехала частично вниз. Поэтому, чтобы такого не произошло, не поленитесь взять штангель и проверить насколько выступает шпонка из паза и, соответственно, глубину шпоночного паза маховика, чтобы обеспечить гарантированный зазор. И снова повторюсь: приклеивайте шпонку в пазу намертво. Удачи.
 

yoric

капитан 1-го ранга
Регистрация
06.05.2012
Сообщения
6 331
Карма
766
Город
Нью-сибирск
Имя
Йорик, в миру Юрий
Лодка
Ока4
Мотор
П25
А зачем намертво? Чтоб не сползло во время установки маховика или чтобы не телепалась потом во время работы, если есть слабина?
И ещё, динамический дисбаланс выявить понятно как, но так относительно просто, как статический, его не устранить в гаражных условиях?
 

реф-мех

капитан 1-го ранга
Регистрация
16.01.2012
Сообщения
4 462
Карма
191
Возраст
83
Город
Мариуполь
Имя
Михаил
Лодка
Казанка 5М2, ПВХ Thunder ТМ-270
Мотор
Вихрь-30, Вихрь-45

Pilot-by

капитан 1-го ранга
Регистрация
20.09.2010
Сообщения
5 255
Карма
157
Имя
--
Лодка
--
Мотор
--
yoric, динамический дисбаланс чего? маховика? в чём он для тебя выражается?

если то, о чём я думаю, то в гаражных условиях ИМХО никак.
 

yoric

капитан 1-го ранга
Регистрация
06.05.2012
Сообщения
6 331
Карма
766
Город
Нью-сибирск
Имя
Йорик, в миру Юрий
Лодка
Ока4
Мотор
П25
Насколько я знаю, это когда при прокрутке маховик останавливается в любом положении (статически отбалансирован), а при вращении его трясёт (чуть выше вроде описано). Это когда неравные центры масс (пучности :D ) расположены на пропорциональном расстоянии от центра, компенсируются по закону рычага. Ещё и могут быть сдвинуты друг относительно друга не только в плоскости вращения, но и по толщине, по оси, лежать в другой параллельной плоскости вращения. Объяснил как мог, надеюсь понятно :D

Да что там мудрствовать, вот из инета, вместо "колесо" подставить "маховик":
Динамический дисбаланс появляется из-за неравномерного распределение масс в плоскостях колеса. При динамическом дисбалансе на колесо действует пара противоположно направленных сил F , действующих на определенном плече относительно плоскости вращения колеса.
Динамический дисбаланс — это неравномерное распределение масс в плоскостях параллельных направлению движения.

На шиномонтажках понятно, там вал облеплен датчиками со всех сторон. В принципе, можно наверное сделать переходник, чтобы маховик на шиномонтажный стенд втиснуть. Хотя не так-то и просто.

Теоретические рассуждения, зарядка для ума))
В гаражной установке, если будет возможность менять положение оси испытуемой детали относительно горизонта, изменять её наклон, то не поможет ли это выявить неравномерное распределение масс в плоскостях детали? Понятно, что тут много трудностей, и установка усложняется, и вращение должно быть очень лёгким, но теоретически вроде можно выявить этот случай.
А вот когда "неравные центры масс (пучности :D ) расположены на пропорциональном расстоянии от центра, компенсируются по закону рычага", не подпадает ли это всё-таки под статику?
 

Вложения

игорёк 1988

пассажир
Регистрация
09.06.2014
Сообщения
1
Карма
0
Город
г. Купянск
Имя
igor
Лодка
поргрес-2
Мотор
вихрь 30
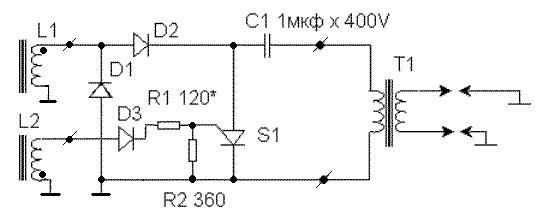
Привет всем любителям "Вихря" !!!!! Помогите пожалуйста! Поставил зажигание МБ-22!Уже 2 недели долбусь с искрообразованием! На нижнем цилиндре искра есть,а на верхнем нет! подключил по схеме! Почему ????? Заранние огромное Спасобо!!!!!
 

реф-мех

капитан 1-го ранга
Регистрация
16.01.2012
Сообщения
4 462
Карма
191
Возраст
83
Город
Мариуполь
Имя
Михаил
Лодка
Казанка 5М2, ПВХ Thunder ТМ-270
Мотор
Вихрь-30, Вихрь-45
игорёк 1988 сказал(а):
Привет всем любителям "Вихря" !!!!! Помогите пожалуйста! Поставил зажигание МБ-22!Уже 2 недели долбусь с искрообразованием! На нижнем цилиндре искра есть,а на верхнем нет! подключил по схеме! Почему ????? Заранние огромное Спасобо!!!!!
Возможно маховик у тебя не соответствует магдино МБ-22. Задай этот вопрос в теме: topic783.html
 

lednic606

вице-адмирал
Команда форума
Регистрация
25.04.2011
Сообщения
18 866
Карма
911
Город
Саратов
Имя
Дмитрий
Лодка
Нептун-3,Прогресс-2,2М, Сарепта(были) ,Орионбот 53НТ Pro, АКВА ОПТИМА 260(есть).
Мотор
Вихрь М; Honda BF90; Honda BF2
игорёк 1988 сказал(а):
Привет всем любителям "Вихря" !!!!! Помогите пожалуйста! Поставил зажигание МБ-22!Уже 2 недели долбусь с искрообразованием! На нижнем цилиндре искра есть,а на верхнем нет! подключил по схеме! Почему ????? Заранние огромное Спасобо!!!!!
Игорь, так МБ-22 "одноканалка"

и отсутствие искры на одном из цилиндров:
1)Неисправная свеча зажигания
2)Неисправный ВВ провод
3)Неисправная катушка зажигания

Если не помогло, то только лезть внутрь :yes:

Вроде всё :pardon:
 

Вложения

Лёшик

капитан 1-го ранга
Регистрация
08.01.2014
Сообщения
2 414
Карма
347
Возраст
60
Город
Киев
Имя
Алексей
Лодка
прогресс-4 надувашка Навигатор ЛП-300
Мотор
вихрь30,20 Ямаха-2
lednic606 сказал(а):
игорёк 1988 сказал(а):
Привет всем любителям "Вихря" !!!!! Помогите пожалуйста! Поставил зажигание МБ-22!Уже 2 недели долбусь с искрообразованием! На нижнем цилиндре искра есть,а на верхнем нет! подключил по схеме! Почему ????? Заранние огромное Спасобо!!!!!
Игорь, так МБ-22 "одноканалка"

и отсутствие искры на одном из цилиндров:
1)Неисправная свеча зажигания
2)Неисправный ВВ провод
3)Неисправная катушка зажигания

Если не помогло, то только лезть внутрь :yes:

Вроде всё :pardon:
Я сделал так:поставил новое механическое магдино МВ-1,новые ТЛМ,провода и свечи и поехал.Механическое магдино надёжнее и ремонтопригоднее любой электроники.Это моё личное мнение.Электронику себе никогда не поставлю!!!!!!!!!!!!!!
 

победа

капитан 1-го ранга
Регистрация
04.03.2011
Сообщения
1 539
Карма
43
Имя
Виктор
Лодка
Прогресс-2(был); Прогресс-4 красавчик
Мотор
Мercury-50 ELPTО
Так как "Кёнинг" был создан в конце 30-х прошлого столетия, то мех. зажигание ему в самый раз! Но мир не стоит на месте и хош не хош электроника будет впереди планеты всей! Я все свои МВ-1 пораздовал и поставил "от ДИМЫ-22" и забыл что такое зажигание вообще! А так, это дело такое, кому блондинка, а кому богатая блондинка!
 

skv6410

капитан-лейтенант
Регистрация
18.03.2011
Сообщения
417
Карма
77
Возраст
64
Город
саратов
Имя
кирилл
Лодка
каз2м автобот обь м
Мотор
Я55 ветерок 8 вихрь 30
победа сказал(а):
Так как "Кёнинг" был создан в конце 30-х прошлого столетия, то мех. зажигание ему в самый раз! Но мир не стоит на месте и хош не хош электроника будет впереди планеты всей! Я все свои МВ-1 пораздовал и поставил "от ДИМЫ-22" и забыл что такое зажигание вообще! А так, это дело такое, кому блондинка, а кому богатая блондинка!
Есть такой предмет(преподают в институтах механикам)Теория надежности станков и механизмов.Так вот с этой точки зрения электронная зажигалка имея большее количество комплектующих с своем составе менее надежна чем почти голимая механика МВ-1. Потому ИМЕЯ ОДИН ЗАПАСНОЙ КОНДЕНСАТОР И ПРЕРЫВАТЕЛЬ можно отремонтировать зажигание на воде.Зажигание от любого мастера не подвержено ремонту в полевых условиях.Увы.Либо запасное в сборе либо или комплект другого.Именно этот момент меня и остановил от новоделов.Благо что сейчас Вихри и запчасти хранящиеся еще с советских времен новоиспеченные ямахо и прочие буржуиноводы отдают просто даром с умилением на лице.Это позволило мне набрать столько качественного железа и зажиганий что хватит и моим внукам.А нормальная механика работает ничуть не хуже электроники.Да и сезон мой любимый это октябрь ноябрь и декабрь до льда.Просто как в июле не позвонишь товарищам с просьбой притащить за 50 60 км от города.Потому только своими силами.Длинно нудно но наверно понятно.
 

Pilot-by

капитан 1-го ранга
Регистрация
20.09.2010
Сообщения
5 255
Карма
157
Имя
--
Лодка
--
Мотор
--
skv6410, знаем такой предмет, прикольно было места паек считать....
я скажу, что важно как и из чего оно было изготовлено. если детали все фирменные, работают в режиме и надёжный, защищённый от влаги монтаж, то не вижу причин выходить ему из строя. с контактным тоже бывают хлопоты, надо чистить, регулировать... но починить согласен, в некоторых случаях проще. тут каждый выбирает, что по душе.
 

IGNAT

капитан 2-го ранга
Регистрация
27.01.2013
Сообщения
1 322
Карма
120
Город
Псков
Имя
Константин
Лодка
Прогресс-4
Мотор
Вихрь-30 2шт. Ветерок-8
Pilot-by сказал(а):
...... важно как и из чего оно было изготовлено. если детали все фирменные, работают в режиме и надёжный, защищённый от влаги монтаж, то не вижу причин выходить ему из строя.....
Полностью согласен :yes: .
 

Данилыч

мл. лейтенант
Регистрация
23.12.2013
Сообщения
204
Карма
8
Город
Краснодарский край
Имя
ЯКОВ
Лодка
Романтика
Мотор
Ветерки и много других
IGNAT сказал(а):
Pilot-by сказал(а):
...... важно как и из чего оно было изготовлено. если детали все фирменные, работают в режиме и надёжный, защищённый от влаги монтаж, то не вижу причин выходить ему из строя.....
Полностью согласен :yes: .
 

Олег Бертов

матрос
Регистрация
31.08.2011
Сообщения
26
Карма
0
Мужики! наверно покажусь дураком, но у меня вопрос. есть три вихря и ни одного нормального маховика. а рядом лежат три хороших нептуновских маховика. Можно ли нептуновский маховик присобачить к вихрю и с каким зажиганием. никто не пробовал????
 

Msmer54

капитан 3-го ранга
Регистрация
30.08.2011
Сообщения
915
Карма
130
Город
Новосибирск
Имя
Александр
Лодка
Самодельная ПВХ 3.40, казанка 5М1
Мотор
ветерок 8,12, Бийск 45, Вихрь 30, ВетроМося.
Вчера хирургическим методом и какой то матери снял маховик и ох...л, от увиденного :crazy: . Это же как его и с каким зазорам была посадка маховика.
P.S. Когда брал вихря съемник маховика был приварен... Потом удивления, что он не работает.
 

Вложения

Вверх Снизу