kos-kazan

вице-адмирал
Команда форума
Регистрация
26.10.2010
Сообщения
1 019
Карма
86
Возраст
36
Город
Казань
Имя
Константин
Подскажите кто-нибудь пожалуйста какие заводские релюшки можно поставить на лодочный мотор.
 

ribac666

капитан 2-го ранга
Регистрация
03.06.2010
Сообщения
1 209
Карма
74
Возраст
51
Город
Россия
Имя
Владимир
Лодка
Колибри-240,Колибри КМ-330Д, Таврия
Мотор
Меркурий 6, ямаха 2, вихрь 30, ветерки 8-12, гибриды 2-6,5л.с
для какой цели?
 
A

Anonymous

Guest
блок электронного зажигания мотоциклов Восход или Минск. Там есть встроенный реле-регулятор.
 
A

Anonymous

Guest
Ни от одного мотоцикла (восход ,минск итд) Реле регулятор не подходит
 

ribac666

капитан 2-го ранга
Регистрация
03.06.2010
Сообщения
1 209
Карма
74
Возраст
51
Город
Россия
Имя
Владимир
Лодка
Колибри-240,Колибри КМ-330Д, Таврия
Мотор
Меркурий 6, ямаха 2, вихрь 30, ветерки 8-12, гибриды 2-6,5л.с
если подойти к вопросу грамотно то на коммутаторе-стабилизаторе от минска можно и зажигание сделать и реле регулятор подключить на таком блоке у меня сделано зажигание для москвы и ветерка особенность коммутатора данного типа в том что он стабилизирует входное напряжение до 120 вольт то есть соединяем катушки зарядки последовательно и на выходе имеем 13.5
 

kos-kazan

вице-адмирал
Команда форума
Регистрация
26.10.2010
Сообщения
1 019
Карма
86
Возраст
36
Город
Казань
Имя
Константин
А Может от авто подойдет какая нибудь?
 

ribac666

капитан 2-го ранга
Регистрация
03.06.2010
Сообщения
1 209
Карма
74
Возраст
51
Город
Россия
Имя
Владимир
Лодка
Колибри-240,Колибри КМ-330Д, Таврия
Мотор
Меркурий 6, ямаха 2, вихрь 30, ветерки 8-12, гибриды 2-6,5л.с
Спрашиваю во второй раз для какого мотора и для чего. в слепую трудно дать адекватный совет
 
A

Anonymous

Guest
Собери эл. схему сам, специально для лодочного мотора. Проверено пятью годами- сбоев нет. Материал КиЯ №130 1987г.
 

ribac666

капитан 2-го ранга
Регистрация
03.06.2010
Сообщения
1 209
Карма
74
Возраст
51
Город
Россия
Имя
Владимир
Лодка
Колибри-240,Колибри КМ-330Д, Таврия
Мотор
Меркурий 6, ямаха 2, вихрь 30, ветерки 8-12, гибриды 2-6,5л.с
Вот это по нашему собирать схемы по журналам 87 года то есть этой разработке минимум 24 года когда можно найти готовое решение и адаптировать к любым условиям и любому мотору с намного большим кпд знать бы еще для какой цели если для двух чахлых катушек вихря то там и схем почти не надо и так перезарядить не смогут как ты их не включай
 
A

Anonymous

Guest
Все новое-это хорошо забытое старое, только дороже.(это так, между делом). Если использовать катушки освещения только для зарядки бортовой батареи,то достаточно простого штатного выпрямителя (где он есть) или диодного моста. Если же генератор ПМ будет использоваться как бортовое питание во время работы двигателя постоянным напряжением 12v (как на авто), то тогда необходим реле-регулятор.
 

kos-kazan

вице-адмирал
Команда форума
Регистрация
26.10.2010
Сообщения
1 019
Карма
86
Возраст
36
Город
Казань
Имя
Константин
Мотор нептун. Катушки освещения в параллель + диодные мосты на каждую. Аккумулятора не будет. Питать должно свет, магнитофон, сигнал. Основание магнето мн-1.
 
A

Anonymous

Guest
Нужен реле-регулятор.Иначе питать не будет.При включении сигнала все потухнет.На полном газу сгорит магнитофон.
 

kos-kazan

вице-адмирал
Команда форума
Регистрация
26.10.2010
Сообщения
1 019
Карма
86
Возраст
36
Город
Казань
Имя
Константин
Гость сказал(а):
Нужен реле-регулятор.Иначе питать не будет.При включении сигнала все потухнет.На полном газу сгорит магнитофон.
О чем речь и идет. Прошу подсказать какой лучше из заводских желательно от авто.
 

ribac666

капитан 2-го ранга
Регистрация
03.06.2010
Сообщения
1 209
Карма
74
Возраст
51
Город
Россия
Имя
Владимир
Лодка
Колибри-240,Колибри КМ-330Д, Таврия
Мотор
Меркурий 6, ямаха 2, вихрь 30, ветерки 8-12, гибриды 2-6,5л.с
от авто никакой не тот принцип работы. Мощности катушек в 30 ватт хватит на ходовые огни и только. для питания магнитофона этого мало в любом случае без дополнительного генератора шансов нет или же без аккумулятора
 

kos-kazan

вице-адмирал
Команда форума
Регистрация
26.10.2010
Сообщения
1 019
Карма
86
Возраст
36
Город
Казань
Имя
Константин
Понял спасибо.
 

FANAT5

гл. старшина
Регистрация
11.09.2010
Сообщения
103
Карма
4
Город
САРАТОВ
У меня на Вихре стоит две пары осветительных доработаных катушек (домотанных), два диодных моста (с барьером шоттки), и импульсный стабилизатор на 10А...
При испытаниях в диапазоне 2000-5000 оборотов стабильно выдавал 14,2В (можно регулировать +\-), при токе 5,5А. Возможно можно получить и большей ток, у меня в качестве нагрузки в испытаниях присутствовал шунтируюший резистор одного номинала... Ну, а при таком токе можно питать свет (смотря конечно какой), в фароискателе у меня стоит 3 белых 5 ваттных светодиода с коллиматорами, это тока 1А, в топовом огне один белый свехяркий светодиод 20мА, в боковых четыре зеленых, и четыре красных, 20+20=40мА... Покупная китайская крякалка с микрофоном, при замерах ток не привысил 1А... Что касается музыки, то средний потребляемый ток моей магнитолы 1,8_2.5А в пиках до 4,8(лечится конденсатором большой емкости)... Правда слушать музыку при работе мотора, все равно, что на асфальте плавать! Считаем 1+1+60мА=2,06А свет + крякалка, 2,5А музыка=4,56А, остается почти 1А в запасе... Все бы хорошо только надо питать еще зажигание, оно забирает довольно ощутимую мощь генератора(работаю над этим), вот так то, надо думать....
 

kos-kazan

вице-адмирал
Команда форума
Регистрация
26.10.2010
Сообщения
1 019
Карма
86
Возраст
36
Город
Казань
Имя
Константин
Спасибо...
 

LPB

капитан 1-го ранга
Регистрация
10.05.2010
Сообщения
1 634
Карма
93
Город
Новосибирск
Имя
Павел
Лодка
Прогресс-2
Мотор
HONDA BF-30
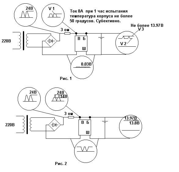
В лодочных моторах с тиристорным зажиганием применяются так называемые ШУНТИРУЮЩИЕ схемы регуляторов, недающие вырасти напряжению на генераторных обмотках выше приемлемой величины.
Обычно диодный мост шунтируют тиристором как во второй схеме
Она прилично регулирует напряжение и достаточно проста.
Но возможно и шунтирование транзистором или "таблеткой" от автомобильного генератора как в первой схеме.
 

Вложения

LPB

капитан 1-го ранга
Регистрация
10.05.2010
Сообщения
1 634
Карма
93
Город
Новосибирск
Имя
Павел
Лодка
Прогресс-2
Мотор
HONDA BF-30
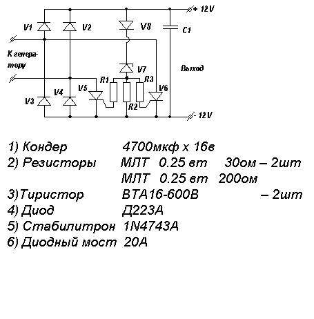
Смысл можно понять из схем Лукича с сайта мотолодка
Схема с тиристором опробована мной и дала неплохие результатв при стабилизации выходного напряжения в районе 13,7-13,8в и пульсаций в районе 0,5в
 

Вложения

Вверх Снизу