Rusdis
ст. лейтенант
- Регистрация
- 05.03.2012
- Сообщения
- 305
- Карма
- 19
- Имя
- Руслан
- Лодка
- Прогресс 4
- Мотор
- Sea-pro 40 ES
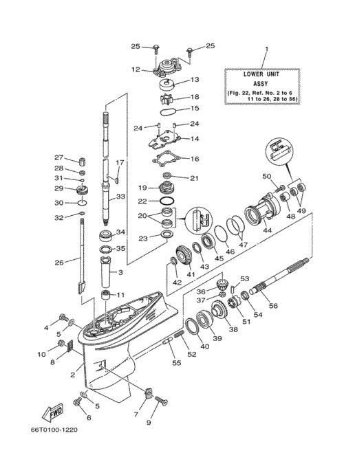
Скажите пожалуйста, я у себя на редукторе нашел микро трещенку из которой подтекает масло (ну как подтекает ну за месяц стоянки в гараже в вертикальном состоянии выделилась капелька масла). Выглядит она как не аккуратная отливка, небольшой наплыв чтоли. Я отметил её расположение на фото. (правда это фото редуктора ямаха 50, а у меня аналог ямахи 40XWS - Sea-pro 40, но конструкция та же)
Подскажите, там есть сообщение с внутренним пространсвом самого редуктора, или в том месте идет пустота под тягу реверса.
Возможны последствия от вибрации, воды?
ЕСть вероятность попадания воду в редуктор?
Подскажите, там есть сообщение с внутренним пространсвом самого редуктора, или в том месте идет пустота под тягу реверса.
Возможны последствия от вибрации, воды?
ЕСть вероятность попадания воду в редуктор?
Вложения
-
62,1 КБ Просмотры: 3 266
). Правда ценник не намного отличается порядка 10-15 т. руб. Но что то на воде я с Китаем очконул