Admiral Hunter
ст. матрос
- Регистрация
- 29.09.2018
- Сообщения
- 34
- Карма
- 17
- Возраст
- 37
- Город
- питер
- Имя
- Ярослав
- Лодка
- Ладога 1, Неман 450 open
- Мотор
- Mariner 25, Tohatsu M30A4,Honda BF50
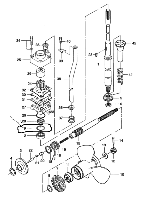
Мужики всем привет. Такая тема, менял сальники вертикального и горизонтального вала в редукторе ну и че то мне приперло вынуть шестерню, которая в пятке стоит,ну короче обратно че то не могу её поставить. Как её правильно ставить нужно снять пиньон? По идеи она просто там лежит на подшипнике, но блин че за хрень появился шум работы шестеренок до этого все тихо было. Либо может неправильно выставляю зазор на вертикальном вале? Шайба там есть поставил её обратно которая и стояла. присутствует люфт вверх и вниз на вертикальном валу. до разборки все было норм.подшипники оригинал возможно что ни кто туда не лазил. Возможно такое что нужно другую рег шайбу на вертикальный вал ставить, что старая не подходит уже. как то в яме попроще было!)))видео приложил
https://youtu.be/8TUSYllmdAA
https://youtu.be/8TUSYllmdAA
Вложения
-
261,5 КБ Просмотры: 559
-
110,1 КБ Просмотры: 596