Алексей Vgg
пассажир
- Регистрация
- 23.07.2011
- Сообщения
- 3
- Карма
- 0
Уважаемые коллеги,
Прошу вашей помощи.
Ситуация сложилась следующая. В движении с почти пустым баком двигатель сначала стал работать с перебоями, и впоследствии заглох. Долил топливо, но мотор в штатном режиме, после подкачки грушей, уже запустить не удалось.
Искра есть. Пробовал вывернуть свечи и налить по несколько мл. в цилиндры. Пускается и глохнет.
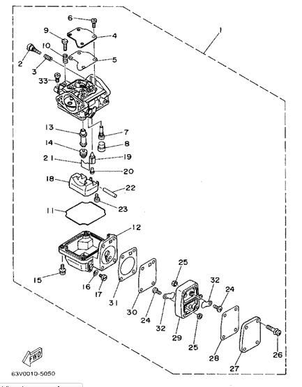
Фильтр-отстойник чистый. Давление топлива от груши доходит до "Шайтан - коробочки" поз. №29 и далее по пути к цилиндрам где то теряется.
До официального сервиса сто с лишним верст. И прежде, чем пытаться самому долезть до карбюратора, хочу спросить вашего совета.
1. Насколько это будет сложно, включая ревизию системы подачи топлива, если имею руки "средней прямоты"?
2. В каком порядке это нужно делать, чтобы не демонтировать лишние детали?
3. Оправдана ли попытка самостоятельной починки мотора с вышеуказанными "симптомами"?
Либо с таким диагнозом потребуется замена оригинальных деталей, вроде мембраны топливного насоса или иголки карбюратора?
Заранее вам благодарен!
Алексей.
Прошу вашей помощи.
Ситуация сложилась следующая. В движении с почти пустым баком двигатель сначала стал работать с перебоями, и впоследствии заглох. Долил топливо, но мотор в штатном режиме, после подкачки грушей, уже запустить не удалось.
Искра есть. Пробовал вывернуть свечи и налить по несколько мл. в цилиндры. Пускается и глохнет.
Фильтр-отстойник чистый. Давление топлива от груши доходит до "Шайтан - коробочки" поз. №29 и далее по пути к цилиндрам где то теряется.
До официального сервиса сто с лишним верст. И прежде, чем пытаться самому долезть до карбюратора, хочу спросить вашего совета.
1. Насколько это будет сложно, включая ревизию системы подачи топлива, если имею руки "средней прямоты"?
2. В каком порядке это нужно делать, чтобы не демонтировать лишние детали?
3. Оправдана ли попытка самостоятельной починки мотора с вышеуказанными "симптомами"?
Либо с таким диагнозом потребуется замена оригинальных деталей, вроде мембраны топливного насоса или иголки карбюратора?
Заранее вам благодарен!
Алексей.
Вложения
-
32,4 КБ Просмотры: 1 619