Morozik

пассажир
Регистрация
21.07.2015
Сообщения
2
Карма
0
Город
гор. Волгоград
Имя
Александр
Лодка
Крым
Мотор
Yаmaha 40VETO 2000 г.
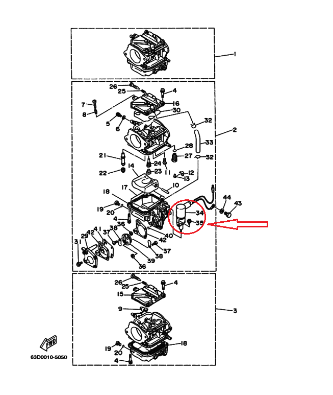
Здравствуйте, помогите с проблемой холостого хода. Мотор Yamaha 40 VETO, не держит холостой ход, работает 10 сек. и глохнет. Полез разбираться. Топливо, свечи, искра - поменяно, почищено, заменено. Без изменений. На втором карбюраторе увидел электромагнитный клапан. На работающем моторе (подгазовывая вручную дроссельной заслонкой) отключил клапан, затем подключил обратно, без изменения, двигатель дёргается и глохнет. После проверил напряжение идущее на клапан = 5 Вольт, замерил сопротивление клапана, а его нет, - обрыв обмоток катушки внутри клапана. Вынул клапан из посадочного места, убрал иглу, установил на место, завёл - работает, держит холостой. Но мотор стал "вялым" на тягу, перестал тянуть, долго набирает обороты.
Заказал новый электромагнитный клапан в http://www.megazip.ru. Пришёл клапан, установил его, завёл - мотор глохнет. Глохнет с новым клапаном, а со старым - со снятой иглой, держит холостой. Начал я прозванивать новы клапан, питание подаётся = 4.7 Вольт, сопротивление датчика = 3 Ом, я удивился, это равносильно короткому замыканию обмоток катушки. Сопротивление на автомобильном электромагнитном клапане 50-60 Ом.
Вопрос:
1. Какое напряжение подаётся на электромагнитный клапан?
2. Какое сопротивление имеет этот клапан?
 

Вложения

Morozik

пассажир
Регистрация
21.07.2015
Сообщения
2
Карма
0
Город
гор. Волгоград
Имя
Александр
Лодка
Крым
Мотор
Yаmaha 40VETO 2000 г.
Ребята, помогите, пожалуйста!
У кого мотор Yamaha 40VMHO, 40VEO, 40VETO, 40YETO, 40YMHO с исправным холостым ходом. Замерьте напряжение питания на электромагнитном клапане и его сопротивление, чтобы мне убедиться, что дело в самом клапане. Он мне обошёлся 7 117 р. + доставка, а мотор как не работал, так и не работает (не держит холостые).
Заранее спасибо.
 

ЮМ1

матрос
Регистрация
17.04.2015
Сообщения
24
Карма
2
Город
Барнаул
Имя
Юрий
Лодка
крым
Мотор
ямаха
Это не электромагнитный клапан а термоклапан проверяется на акб подключаешь и игла должна выйти через 15-30сек видно визуально значит клапан рабочий она затыкает обогатитель на работающем двс.
 
Вверх Снизу