Тим
ст. матрос
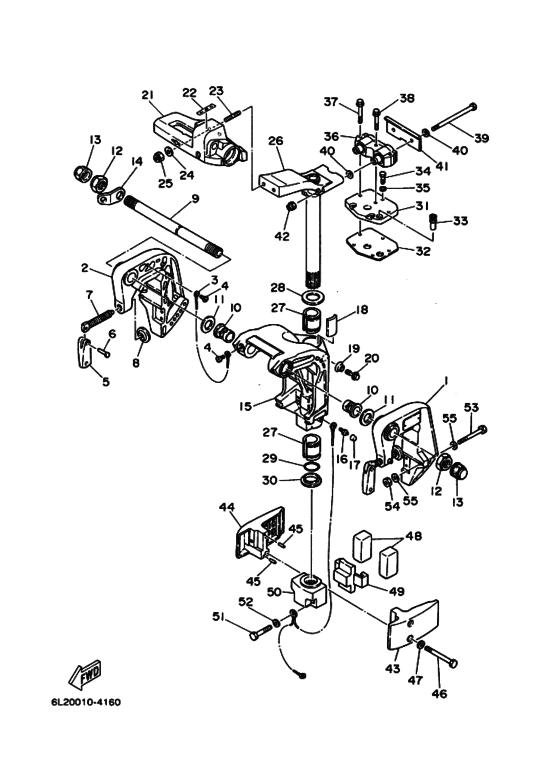
Доброго времени суток. Эксплуатирую YAMAHA 25 NM 2000 г.в. Появилась такая проблема: В конце сезона пришла Тугая рулёжка. Смазка есть. Выкрутил уже совсем винт усилия (поз. 20), со смазкой данного места вообще не понятно: качаю смазку в тавотницу (поз. 16), а рулёжка всё туже и туже. Принял решение на разбор и ремонт. Руки растут от куда надо- с механизмами на ТЫ. Не могу понять как туда залезть. Снял редуктор, само двигло, поддончик. И тупик. Не понятно как добраться до узла фрикциона (поз. 27, 18). На оси (поз. 26) с обоих сторон шлицы. Думаю надо снять нижний кронштейн-опору (поз. 50). Не могу сбить, силумин- боюсь расколоть. Может садится и снимается на "горячую"? Инструкций по разбору данного узла не могу найти. А может всё проще? Хотелось бы к сезону встать на воду в исправном состоянии.
Вложения
-
44,9 КБ Просмотры: 1 250
