lexaban2

старшина 1ст.
Регистрация
22.03.2012
Сообщения
81
Карма
0
Имя
Алексей
Лодка
Обь-м
Мотор
Вихрь 25. Yamaha 30 HMHS
Добрый вечер друзья. в прошлом году имел один случай. Подключил к аккумулятору без всяких выпрямителей лодочный мотор по проводам. и не учел полярность. в итоге когда попробывал подключить простую лампочку, то она от рабочего мотора не загорелась, на прямую предохранителей не видно, да их там и нет, думаю что я пожжег саму катушку, подсоединяли к рабочему мотору и тестр, тоже стрелка как лежала , так и продолжила лежать. теперь вопросы. мог ли я сжечть катушку генератора, если да то как можно снять маховик что бы ее достать (нужен ли специальный съемник для этого?) какие подводные камни могут ьыть при снятии маховика, сказывается ли не рабочая катушка на мощности самого мотора? заранее спасибо.
 

Ярослав

капитан 1-го ранга
Регистрация
25.11.2012
Сообщения
2 998
Карма
1 059
Город
Чайковский
Имя
Ярослав
Лодка
Волжанка 46, Казанка 5м2
Мотор
Honda BF60, Yamaha 50
неплохо бы видеть куда вы подключались на моторе, и если и спалили что-то так это реле-регулятор а не генераторные катушки. Проверьте напрямую с катушек напряжение.
 

lexaban2

старшина 1ст.
Регистрация
22.03.2012
Сообщения
81
Карма
0
Имя
Алексей
Лодка
Обь-м
Мотор
Вихрь 25. Yamaha 30 HMHS
подсоединял к двум зеленым проводам, которые выходят из маховика, а реле это где стоит? можете подсказать?
 

Ярослав

капитан 1-го ранга
Регистрация
25.11.2012
Сообщения
2 998
Карма
1 059
Город
Чайковский
Имя
Ярослав
Лодка
Волжанка 46, Казанка 5м2
Мотор
Honda BF60, Yamaha 50
зеленые провода это переменка напрямую с катушек, они идут в реле-регулятор а с него выходит красный провод это +12В
 

Ярослав

капитан 1-го ранга
Регистрация
25.11.2012
Сообщения
2 998
Карма
1 059
Город
Чайковский
Имя
Ярослав
Лодка
Волжанка 46, Казанка 5м2
Мотор
Honda BF60, Yamaha 50
сейчас глянул по каталогу похоже нет реле-регулятора на этом моторе, фото надо проводки на моторе чтобы выводы можно было какие-то делать
 

Pilot-by

капитан 1-го ранга
Регистрация
20.09.2010
Сообщения
5 255
Карма
157
Имя
--
Лодка
--
Мотор
--
если там предохранителя нету (на проводе, чёрная вставочка такая должна быть), мог катушку вальнуть. искрило наверное хорошо?
 

Ярослав

капитан 1-го ранга
Регистрация
25.11.2012
Сообщения
2 998
Карма
1 059
Город
Чайковский
Имя
Ярослав
Лодка
Волжанка 46, Казанка 5м2
Мотор
Honda BF60, Yamaha 50
если зеленые провода перемкнули между собой то могли и высадить катушки
 

Pilot-by

капитан 1-го ранга
Регистрация
20.09.2010
Сообщения
5 255
Карма
157
Имя
--
Лодка
--
Мотор
--
так без разницы, перемкнуть или на аккум накинуть.... на аккум даже хуже. без предохранителя это беда.
 

Ярослав

капитан 1-го ранга
Регистрация
25.11.2012
Сообщения
2 998
Карма
1 059
Город
Чайковский
Имя
Ярослав
Лодка
Волжанка 46, Казанка 5м2
Мотор
Honda BF60, Yamaha 50
такой как на фото мотор? так тут точно реле-регулятора нет
 

Ярослав

капитан 1-го ранга
Регистрация
25.11.2012
Сообщения
2 998
Карма
1 059
Город
Чайковский
Имя
Ярослав
Лодка
Волжанка 46, Казанка 5м2
Мотор
Honda BF60, Yamaha 50
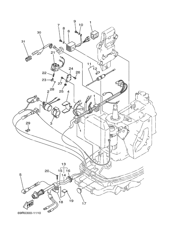
схема электрооборудования от другой 30-ки реле-регулятор поз.№6
 

Вложения

Ярослав

капитан 1-го ранга
Регистрация
25.11.2012
Сообщения
2 998
Карма
1 059
Город
Чайковский
Имя
Ярослав
Лодка
Волжанка 46, Казанка 5м2
Мотор
Honda BF60, Yamaha 50
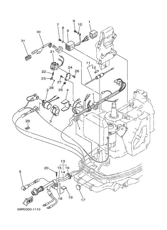
похоже ошибочка вышла вот ваш мотор :? два зеленых провода в синей изоляции надо смотреть напряжение на них, если напряжение есть доукомплектовывайте реле-регулятором, если нет - кирдык катушке пришел :pardon:
 

Вложения

lexaban2

старшина 1ст.
Регистрация
22.03.2012
Сообщения
81
Карма
0
Имя
Алексей
Лодка
Обь-м
Мотор
Вихрь 25. Yamaha 30 HMHS
да мотор такой, два зеленых провода на нем, и их я замкнул на аккумуляторе. И провода чуть чуть потемнели, фотку я выложу сюда. а между собой их не замыкал
 

Ярослав

капитан 1-го ранга
Регистрация
25.11.2012
Сообщения
2 998
Карма
1 059
Город
Чайковский
Имя
Ярослав
Лодка
Волжанка 46, Казанка 5м2
Мотор
Honda BF60, Yamaha 50
КЗ катушке устроили..... смотрите напряжение авось и повезло, учтите переменка там
 

lexaban2

старшина 1ст.
Регистрация
22.03.2012
Сообщения
81
Карма
0
Имя
Алексей
Лодка
Обь-м
Мотор
Вихрь 25. Yamaha 30 HMHS
а посмотреть на не рабочем моторе можно? прозвонить как нибудь?
 

Pilot-by

капитан 1-го ранга
Регистрация
20.09.2010
Сообщения
5 255
Карма
157
Имя
--
Лодка
--
Мотор
--
можно, омметром ткни в зелёные провода. в зависимости, сколько там катушек и как соединены.... пару ом где то должно быть
если бесконечность - проверяй провода, ищи предохранитель, если есть повезло. в противном случае остаётся только катушка.
 

Ярослав

капитан 1-го ранга
Регистрация
25.11.2012
Сообщения
2 998
Карма
1 059
Город
Чайковский
Имя
Ярослав
Лодка
Волжанка 46, Казанка 5м2
Мотор
Honda BF60, Yamaha 50
сопротивление катушки слишком мало чтобы прозвонкой что-то выяснить, на массу звониться не должно если я не ошибаюсь. предохранителя там точно нет, он стоит после реле-регулятора на схеме выше поз.№11-12
 

lexaban2

старшина 1ст.
Регистрация
22.03.2012
Сообщения
81
Карма
0
Имя
Алексей
Лодка
Обь-м
Мотор
Вихрь 25. Yamaha 30 HMHS
а на работу мотора эта катушка я думаю не сказывается?
 

Ярослав

капитан 1-го ранга
Регистрация
25.11.2012
Сообщения
2 998
Карма
1 059
Город
Чайковский
Имя
Ярослав
Лодка
Волжанка 46, Казанка 5м2
Мотор
Honda BF60, Yamaha 50

Pilot-by

капитан 1-го ранга
Регистрация
20.09.2010
Сообщения
5 255
Карма
157
Имя
--
Лодка
--
Мотор
--
как сказать, если подгорел лак, и витки "слиплись" то ещё как скажется.
кстати, да насчёт моего поста выше,, не всё так просто. омметром только конкретный обрыв поймаешь. а кз-витки определить не получится.
 

lexaban2

старшина 1ст.
Регистрация
22.03.2012
Сообщения
81
Карма
0
Имя
Алексей
Лодка
Обь-м
Мотор
Вихрь 25. Yamaha 30 HMHS
еще вопрос, мотор стоит на гарантии, еще год остался, в сервисном центре такую неполадку возьмутся исправлять, ТО-1 я на нем в центре не проходил
 

Ярослав

капитан 1-го ранга
Регистрация
25.11.2012
Сообщения
2 998
Карма
1 059
Город
Чайковский
Имя
Ярослав
Лодка
Волжанка 46, Казанка 5м2
Мотор
Honda BF60, Yamaha 50
она до этого балластом там ездила, и теперь не помешает, на зажигание своя катушка. возьмутся но не по гарантии скорее всего
 

lexaban2

старшина 1ст.
Регистрация
22.03.2012
Сообщения
81
Карма
0
Имя
Алексей
Лодка
Обь-м
Мотор
Вихрь 25. Yamaha 30 HMHS
а в чем это будет выражаться? подгоревшие витки и лак? вроде нормально работал, заводился не плохо, не очень на холодную, а горячий с первого раза. самому можно в домашних условиях снять маховик, или нужен будет съемник как на Вихрях
 

Pilot-by

капитан 1-го ранга
Регистрация
20.09.2010
Сообщения
5 255
Карма
157
Имя
--
Лодка
--
Мотор
--
по гарантии вряд ли. на лицо косяк владельца.
 

Pilot-by

капитан 1-го ранга
Регистрация
20.09.2010
Сообщения
5 255
Карма
157
Имя
--
Лодка
--
Мотор
--
Ярослав сказал(а):
она до этого балластом там ездила, и теперь не помешает, на зажигание своя катушка. возьмутся но не по гарантии скорее всего
генератор будет "работать" на кз-витки., т.е на нагрев

в зависимости от того, сколько их, может сильно и не повлиять. но ничего хорошего в этом нет.
lexaban2 проверь сразу, может просто провод отгорел, тогда не беда
 

Ярослав

капитан 1-го ранга
Регистрация
25.11.2012
Сообщения
2 998
Карма
1 059
Город
Чайковский
Имя
Ярослав
Лодка
Волжанка 46, Казанка 5м2
Мотор
Honda BF60, Yamaha 50
если мотор на гарантии может не стоит в него самому лазить, съемник обязателен. ну и догорит эта катушка ей все равно в утиль
 
Вверх Снизу