Саня С
капитан 1-го ранга
- Регистрация
- 16.03.2012
- Сообщения
- 3 263
- Карма
- 134
- Возраст
- 53
- Город
- Краснодар
- Имя
- Саня
- Лодка
- Badger Duck Line 300 AL
- Мотор
- Merkury 8М
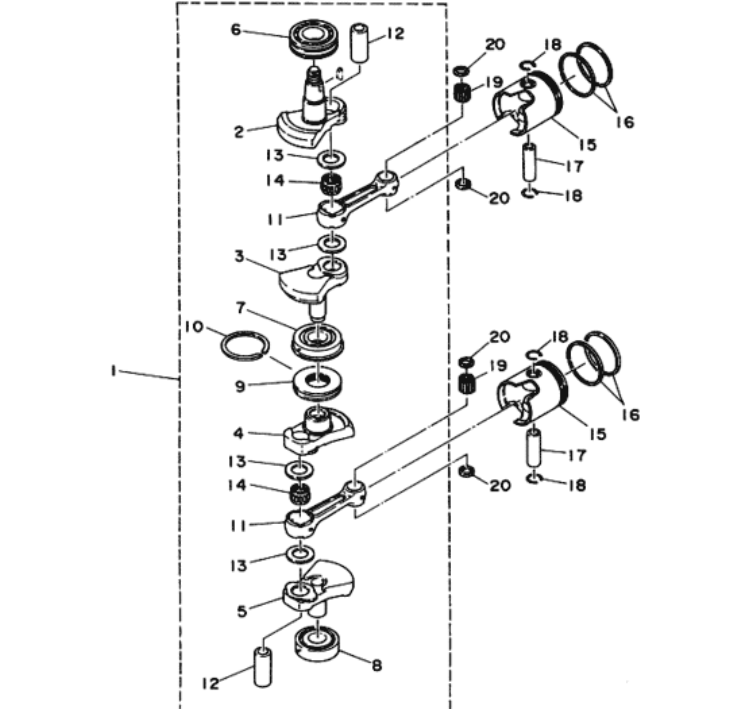
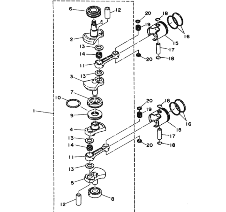
Дошла очередь до коленвала, запчасти для замены (ремонта) пришли. Может кто подскажет кто и почем может перепресовать ?
Вложения
-
130,3 КБ Просмотры: 1 725
-
65,1 КБ Просмотры: 1 689
