Talala

матрос
Регистрация
24.06.2013
Сообщения
9
Карма
0
Лодка
Прогрес-2
Мотор
Ямаха40
Добрый день.
Дано: Мотор ямаха 40 3 цил. раздельный впрыск масла.(старый мотор)
Проблема: Мотор глохнет через 21 секунду после запуска.
Заводится хорошо. Бензонасос качает(снимал шланг с бензонасоса и в бутылку за 21 сек. грамм 100 налилось. отстойник чистый). При быстром повторном запуске искра есть.

Варианты решения или карбюратор или электрика?

ВИдимо работает пока есть бензин в поплавковой камере.

Есть ли какая нибудь защита которая может выключить мотор.

У кого какие мысли есть. Что посмотреть

И еще один вопрос у меня на моторе с черной коробочки (мозгов) один провод желтый с красной полосой висит в воздухе. Он вообще за что отвечает. На ходовые качества не влияет, но интересно.
 

Саня С

капитан 1-го ранга
Регистрация
16.03.2012
Сообщения
3 263
Карма
134
Возраст
53
Город
Краснодар
Имя
Саня
Лодка
Badger Duck Line 300 AL
Мотор
Merkury 8М
сразу запускается после того как заглохнит?
 

Talala

матрос
Регистрация
24.06.2013
Сообщения
9
Карма
0
Лодка
Прогрес-2
Мотор
Ямаха40
нет не сразу секунд 10 подождать
 

Саня С

капитан 1-го ранга
Регистрация
16.03.2012
Сообщения
3 263
Карма
134
Возраст
53
Город
Краснодар
Имя
Саня
Лодка
Badger Duck Line 300 AL
Мотор
Merkury 8М
какбка 3-шкуки стоит? если да то топливная не причем. Может дачик перегрева мозги.... отсоедени его. Он где головка.отсоедени и попробуй
 

Talala

матрос
Регистрация
24.06.2013
Сообщения
9
Карма
0
Лодка
Прогрес-2
Мотор
Ямаха40
Что такое "какбка 3-шкуки стоит?"
Там есть два датчика на голове рядом со свечками их отсоединяли эффект ноль.
 

Саня С

капитан 1-го ранга
Регистрация
16.03.2012
Сообщения
3 263
Карма
134
Возраст
53
Город
Краснодар
Имя
Саня
Лодка
Badger Duck Line 300 AL
Мотор
Merkury 8М
значит что то в мозгах....
 

Talala

матрос
Регистрация
24.06.2013
Сообщения
9
Карма
0
Лодка
Прогрес-2
Мотор
Ямаха40
Менять черную коробочку с железной стрелочкой?
 

Talala

матрос
Регистрация
24.06.2013
Сообщения
9
Карма
0
Лодка
Прогрес-2
Мотор
Ямаха40
Картинка карбюратора там внизу есть клапан для запуска двигателя. он может мотор выключать.
 

Вложения

REYLABS

старшина 2ст.
Регистрация
12.06.2013
Сообщения
57
Карма
12
Имя
Stass
Лодка
Toyota
Мотор
2XMHD-T
Если искра есть то это не зажигание... Подробнее про мотор надо (фотки)
 

луха

капитан 1-го ранга
Регистрация
13.07.2010
Сообщения
10 962
Карма
4 765
Возраст
50
Город
Волжский-Волгоград
Имя
Алексей
Лодка
Снегоход
Мотор
быстрый
Talala сказал(а):
Картинка карбюратора там внизу есть клапан для запуска двигателя. он может мотор выключать.
Клапан стоит для обогощения при запуске(подсос)так-как стоит 3-кабка(читать карба)ХОТЕЛ СКАЗАТЬ ЧТО НЕ ТОПЛИВО?но может быть нехватка топлива(иглы в карбах,в трубопроводе жук кокон сплел)запуск за счёт подсоса топливо сжигает и глохнет.
 

REYLABS

старшина 2ст.
Регистрация
12.06.2013
Сообщения
57
Карма
12
Имя
Stass
Лодка
Toyota
Мотор
2XMHD-T
а если постоянно качать "грушу" - через сколько глохнет?
 

Talala

матрос
Регистрация
24.06.2013
Сообщения
9
Карма
0
Лодка
Прогрес-2
Мотор
Ямаха40
После упорных и продолжительных боев выяснилось что проблема в подсосе воздуха в системе подачи топлива от бака до мотора. Все поменяли - шланги грушу конектор и поехали. Выяснили случайно.

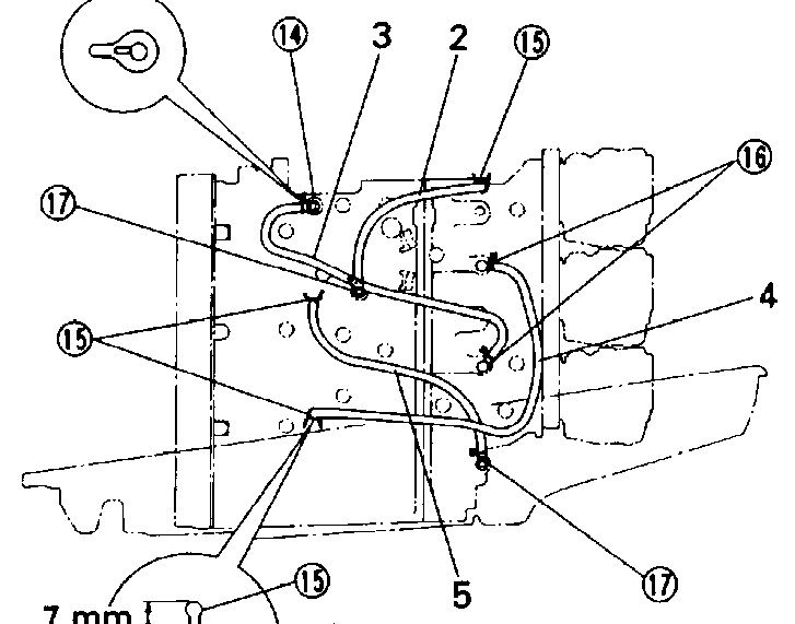
Осталась еще одна проблема. на моторе есть тоненькие шланги четыре штуки один из них постоянно рвется (достал уже).
Шланг конечно уже не оригинал, но другие стоят не рвутся. Мотор едет, ну какого ..... он рвется. Для чего он нужен?
 

Вложения

  • 69,5 КБ Просмотры: 1 300
Вверх Снизу