PaHaN-evenck

пассажир
Регистрация
06.05.2013
Сообщения
3
Карма
0
Имя
Павел
Лодка
Казанка 5м3
Мотор
Sail 40 OTH (Sea Pro)
Всем здравствуйте!
В конце прошлого засушливого сезона поймал каменюгу - лопнул торсионный вал, прямо на уровне с верхним основанием редуктора, т.е. он не торчит совсем.

Сейчас пытаюсь его заменить, но не получается демонтировать сломанный.
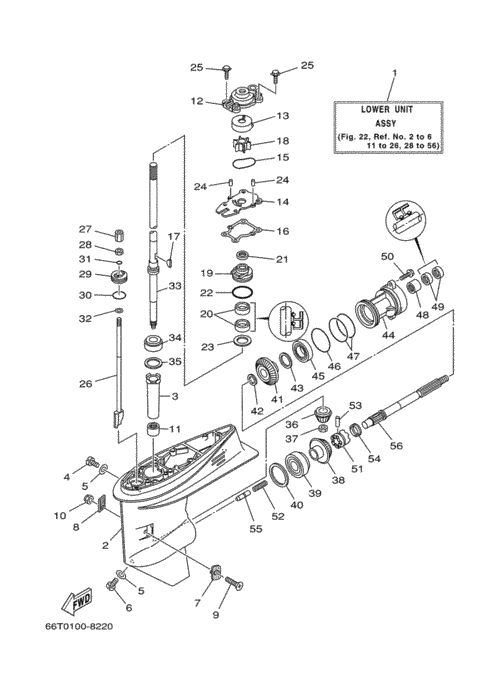
Гайку в редукторе с вала открутил, он ходит вверх/вниз примерно на 1 см. Штуковину пластиковую под номером 19 на картинке не могу понять как снять, думается, что надо выпрессовывать, но изнутри не знаю чем подлезть, а сверху не за что зацепиться.

Кто-нибудь сталкивался с подобным, как решить проблему?

Заранее спасибо откликнувшимся!

С уважением к Вам,
Павел П.

З.Ы. Если нужно, могу наделать фоток.
 

Вложения

Коля63

капитан-лейтенант
Регистрация
25.02.2013
Сообщения
373
Карма
9
Возраст
44
Город
Самара
Имя
Николай
Лодка
Сава викинг 17
Мотор
Сузуки дт 100
просто вытащи её поддев чем небудь(аккуратненько) ,в ней сальнаки вала.
 

PaHaN-evenck

пассажир
Регистрация
06.05.2013
Сообщения
3
Карма
0
Имя
Павел
Лодка
Казанка 5м3
Мотор
Sail 40 OTH (Sea Pro)
аккуратненько не получается, сидит крепко...
есть мысля нарезать в валу резьбу, вкрутить в него болт и за него вытянуть, каким-нибудь съемником, но это уже к токарю надо.
 

PaHaN-evenck

пассажир
Регистрация
06.05.2013
Сообщения
3
Карма
0
Имя
Павел
Лодка
Казанка 5м3
Мотор
Sail 40 OTH (Sea Pro)
вал снял, оказалось легче, чем думал, но пришлось засверливать и резать резьбу
однако, высыпался игольчатый подшипник... всё не слава Богу... (
 
Вверх Снизу