Станислав_116

матрос
Регистрация
25.05.2025
Сообщения
16
Карма
3
Город
Зеленодольск
Лодка
Орионбот 49 фиш
Мотор
Ямаха 60
Всем привет!!!
Подскажите в чем причина?
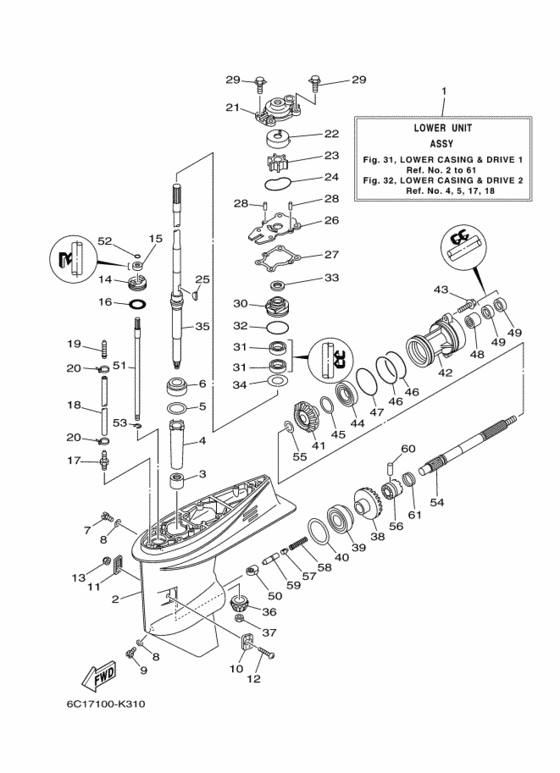
Заменил сальники горизонтального вала, начал опрессовывать их выдавливает. До килограмма стрелка не доходит, их уже начинает выдавливать.
 

Вложения

yoric

капитан 1-го ранга
Регистрация
06.05.2012
Сообщения
6 342
Карма
768
Город
Нью-сибирск
Имя
Йорик, в миру Юрий
Лодка
Ока4
Мотор
П25
А как они сели, плотно или кое-как?
 

Станислав_116

матрос
Регистрация
25.05.2025
Сообщения
16
Карма
3
Город
Зеленодольск
Лодка
Орионбот 49 фиш
Мотор
Ямаха 60

Станислав_116

матрос
Регистрация
25.05.2025
Сообщения
16
Карма
3
Город
Зеленодольск
Лодка
Орионбот 49 фиш
Мотор
Ямаха 60
Сели то с усилием. Последний раз, первый сальник затолкал, пока второй с упаковки вытаскивал, он боком встал.
Думал смазки много. Обратно сальник вытащил. Все протёр от смазки. Затолкал обратно. На место стакан установил, примерно 0.5 надавил и поехали они у меня. Сначала на искосок встают, потом и вовсе вылетают. Как на фото. Сальники оригинальные и не оригинальные ставил. По размеру покупал. Они там стоят 22367
 

mura555555

капитан 1-го ранга
Регистрация
24.08.2015
Сообщения
29 873
Карма
1 885
Город
Л
Лодка
Нет
Мотор
Нет
Думал смазки много. Обратно сальник вытащил. Все протёр от смазки. Затолкал обратно. На место стакан установил, примерно 0.5 надавил и поехали они у меня. Сначала на искосок встают, потом и вовсе вылетают. Как на фото. Сальники оригинальные и не оригинальные ставил. По размеру покупал. Они там стоят 22367
Ну, сальник дважды в посадку загонять не есть хорошо,
Нужно пробывать его разжать по диаметру, например ,подобрать головку из инструмента , обтачить (снять фаску) , и с верху надовить, может прокатит,
На искасок встают, может элипс?
262228
 

mura555555

капитан 1-го ранга
Регистрация
24.08.2015
Сообщения
29 873
Карма
1 885
Город
Л
Лодка
Нет
Мотор
Нет
Зачем таким давлением давить? Его там просто такого ни когда не будет
 

mura555555

капитан 1-го ранга
Регистрация
24.08.2015
Сообщения
29 873
Карма
1 885
Город
Л
Лодка
Нет
Мотор
Нет
Всем привет!!!
Подскажите в чем причина?
Заменил сальники горизонтального вала, начал опрессовывать их выдавливает. До килограмма стрелка не доходит, их уже начинает выдавливать.
Сальники как установили? Пружинки куда смотрят?
 

Станислав_116

матрос
Регистрация
25.05.2025
Сообщения
16
Карма
3
Город
Зеленодольск
Лодка
Орионбот 49 фиш
Мотор
Ямаха 60
Сальники как установили? Пружинки куда смотрят?
Установил по схеме. Пружиной к винту. Я и так и так устанавливал, выдавливает все равно. Мотору 3 года. Я думаю может провернуло их там... Что врят ли. Мотор 3 года, выработки не должно быть. Хотя... Но на валу выработки нет.
Что делать не знаю... В мыслях одна идея отдать токорю, чтоб втулку сделал. Но это уже крайняя мера.
 

yoric

капитан 1-го ранга
Регистрация
06.05.2012
Сообщения
6 342
Карма
768
Город
Нью-сибирск
Имя
Йорик, в миру Юрий
Лодка
Ока4
Мотор
П25
Да при чём здесь на валу. По внешнему диаметру можно сравнить со старыми? Ну и от масла не просто протереть, а обезжирить.
 

Борис

капитан 1-го ранга
Регистрация
30.01.2011
Сообщения
4 781
Карма
1 495
Возраст
66
Город
Озерск, Челябинская область
Имя
Борис
Лодка
Казанка 5М3, "Кефаль".
Мотор
Меркури 60ЕО

Станислав_116

матрос
Регистрация
25.05.2025
Сообщения
16
Карма
3
Город
Зеленодольск
Лодка
Орионбот 49 фиш
Мотор
Ямаха 60

yoric

капитан 1-го ранга
Регистрация
06.05.2012
Сообщения
6 342
Карма
768
Город
Нью-сибирск
Имя
Йорик, в миру Юрий
Лодка
Ока4
Мотор
П25
Надо было дунуть до снятия сальников, может бы они тоже вылетели :)
 

mura555555

капитан 1-го ранга
Регистрация
24.08.2015
Сообщения
29 873
Карма
1 885
Город
Л
Лодка
Нет
Мотор
Нет
Установил по схеме. Пружиной к винту. Я и так и так устанавливал, выдавливает все равно. Мотору 3 года. Я думаю может провернуло их там... Что врят ли. Мотор 3 года, выработки не должно быть. Хотя... Но на валу выработки нет.
Что делать не знаю... В мыслях одна идея отдать токорю, чтоб втулку сделал. Но это уже крайняя мера.
Схему покажите ,по которой ставили, два сальника,так поставили?
 

Вложения

mura555555

капитан 1-го ранга
Регистрация
24.08.2015
Сообщения
29 873
Карма
1 885
Город
Л
Лодка
Нет
Мотор
Нет

Арчибальд

капитан 1-го ранга
Регистрация
18.10.2015
Сообщения
3 135
Карма
1 298
Город
Сызрань
Имя
Александр
Лодка
Казанка 5М
Мотор
HIDEA 40 FES
Опрессовывал надеюсь без масла?
 

mura555555

капитан 1-го ранга
Регистрация
24.08.2015
Сообщения
29 873
Карма
1 885
Город
Л
Лодка
Нет
Мотор
Нет
Фото есть? Какое масло заливали, ? Отстоятся не дали? Например огнем погреть с гарелки, на треск проверить если вода в нем
 

Станислав_116

матрос
Регистрация
25.05.2025
Сообщения
16
Карма
3
Город
Зеленодольск
Лодка
Орионбот 49 фиш
Мотор
Ямаха 60
Попробуйте раздовить как я вам говарил, если получится увиличеть немного диаметр, может сальники бракованые ,
При таком расположении работают больше на разряжение, в редуктор воду не пустят
Попробую. Но не думаю, что из 8ми сальников все бракованные. И оригинальные и наши, от зилка вроде они идут. По размеру, короче, заказывал.
 

mura555555

капитан 1-го ранга
Регистрация
24.08.2015
Сообщения
29 873
Карма
1 885
Город
Л
Лодка
Нет
Мотор
Нет
Попробую. Но не думаю, что из 8ми сальников все бракованные. И оригинальные и наши, от зилка вроде они идут. По размеру, короче, заказывал.
Ага, пружинка накроется очень быстро,если не из нержи,
 

Станислав_116

матрос
Регистрация
25.05.2025
Сообщения
16
Карма
3
Город
Зеленодольск
Лодка
Орионбот 49 фиш
Мотор
Ямаха 60

Станислав_116

матрос
Регистрация
25.05.2025
Сообщения
16
Карма
3
Город
Зеленодольск
Лодка
Орионбот 49 фиш
Мотор
Ямаха 60

Станислав_116

матрос
Регистрация
25.05.2025
Сообщения
16
Карма
3
Город
Зеленодольск
Лодка
Орионбот 49 фиш
Мотор
Ямаха 60
Ну, понятно что нарушен посадочный размер
Попробую как вы сказали. Если не поможет к токарю. Ну или новый стакан. Не совсем огромных денег стоит. Но...сука...стоит
 

mura555555

капитан 1-го ранга
Регистрация
24.08.2015
Сообщения
29 873
Карма
1 885
Город
Л
Лодка
Нет
Мотор
Нет
Попробую как вы сказали. Если не поможет к токарю. Ну или новый стакан. Не совсем огромных денег стоит. Но...сука...стоит
Так просто токарь не поможет, нужно еще втулку посадить, и под нее подобрать сальник,
Если есть запас на стенке,и токарь отверстие расточит, и под ваш сальник зделает втулку, то гут, но из стали нельзя ,из нержи нельзя, остается люминий, а толщина будет фольга, и значт торец на сварку,и опять на обточку
Имеющиеся сальники
Обезжирить,и на какой клей посадить, или если есть место ,проточить на колечко штопорное,( правда из чего его зделать?),раз выдавливает,значит не травит
 
Вверх Снизу