Captain Jack Sparrow

ст. матрос
Регистрация
05.06.2022
Сообщения
37
Карма
5
Город
Пермь
Имя
Pall
Лодка
Прогресс 4
Мотор
Yamaha 40
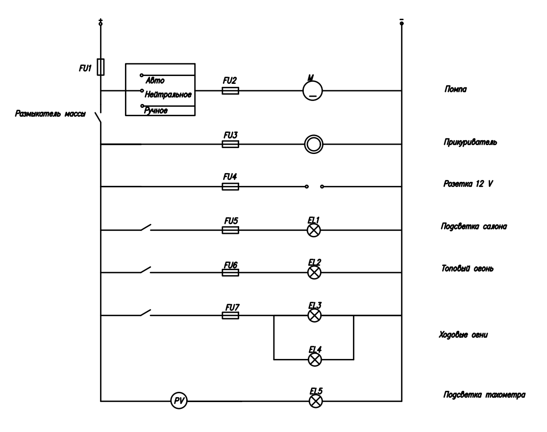
Добрый день! Накидал схему принципиальную, гляньте, может быть что не так сделал. Тахометр будет от 703 машинки питаться, подсветка от акб. От аккумулятора до размыкателя будет 2.5 квадрата, от него же до шинок также 2.5 квадрата, а на все остальные 1.5 кинуть уже. Делаю первый раз, поэтому толком не знаю как лучше, заранее спасибо! Буду рад любому совету!
 

Вложения

Шустрый

капитан 1-го ранга
Регистрация
03.11.2016
Сообщения
8 529
Карма
3 278
Город
Сызрань
Имя
Александр
Лодка
Орионбот-48 ФИШ
Мотор
Ямаха-80.
Всё правильно!2,5 квадрата в лодке-девать некуда!Больше и не нужно.
 

Максим062

старшина 2ст.
Регистрация
18.05.2022
Сообщения
73
Карма
16
Город
Саратов
Имя
Максим
Лодка
Прогресс 1
Мотор
Нептун 23
Капитан, вы бы удалили это созданную тему коли уж вам отвечают в основной. Дабы не засорять поиск будущим искателям информации.
 

Captain Jack Sparrow

ст. матрос
Регистрация
05.06.2022
Сообщения
37
Карма
5
Город
Пермь
Имя
Pall
Лодка
Прогресс 4
Мотор
Yamaha 40

Captain Jack Sparrow

ст. матрос
Регистрация
05.06.2022
Сообщения
37
Карма
5
Город
Пермь
Имя
Pall
Лодка
Прогресс 4
Мотор
Yamaha 40
Модераторы, прошу удалить тему, спасибо.
 
Вверх Снизу