МИЧМАН

капитан 3-го ранга
Регистрация
30.03.2015
Сообщения
583
Карма
18
Возраст
58
Город
Таганрог
Имя
Артур
Лодка
Адмирал-320, Стелс 275 аэро
Мотор
Москва-10 ;М; 12,5 Сузуки 2,2
Замерил компрессию в цилиндре на абсолютно холодном моторе в гараже , результат 8 кг. Хочу узнать мнение МЕТРОВ по этому мотору 8 кг это как ? хорошо или не совсем ?
 

Вложения

Voivano

вице-адмирал
Регистрация
11.08.2016
Сообщения
5 124
Карма
2 459
Город
Ачинск
Имя
Владимир
Лодка
Ракета РЛ-380
Мотор
Ветерок 8, Ветерок 12, Yamaha 6E3S (5CSMH), Москва М, Гибрид 7 лс. Гибрид 8 лс. Стрела и еще разные.
Вроде нормальная, как нибудь на своей померю. У меня лодка приблизительно такая же по размерам. С семидюймовым винтом раскручивается до 6200 об\мин, с восьмидюймовым 5450, это в одно лицо, Скорость одинакова, относительно воды около 21км/ч. Если будешь в основном один кататься, то купи восьмидюймовый винт, а для двоих - стоковый лучше. Нас двоих с женой (я 85 и она 65) немного вещей, если есть встречный ветер, то на восьмидюймовом винте может на глисс не поднять., на стоковом поднимает. Скорость при нормальных условиях и штиле, относительно воды около 17 км/ч. Чтобы выйти на глисс надо разогнаться до 13-14 примерно.
 

МИЧМАН

капитан 3-го ранга
Регистрация
30.03.2015
Сообщения
583
Карма
18
Возраст
58
Город
Таганрог
Имя
Артур
Лодка
Адмирал-320, Стелс 275 аэро
Мотор
Москва-10 ;М; 12,5 Сузуки 2,2
Вроде нормальная, как нибудь на своей померю. У меня лодка приблизительно такая же по размерам. С семидюймовым винтом раскручивается до 6200 об\мин, с восьмидюймовым 5450, это в одно лицо, Скорость одинакова, относительно воды около 21км/ч. Если будешь в основном один кататься, то купи восьмидюймовый винт, а для двоих - стоковый лучше. Нас двоих с женой (я 85 и она 65) немного вещей, если есть встречный ветер, то на восьмидюймовом винте может на глисс не поднять., на стоковом поднимает. Скорость при нормальных условиях и штиле, относительно воды около 17 км/ч. Чтобы выйти на глисс надо разогнаться до 13-14 примерно.
 

МИЧМАН

капитан 3-го ранга
Регистрация
30.03.2015
Сообщения
583
Карма
18
Возраст
58
Город
Таганрог
Имя
Артур
Лодка
Адмирал-320, Стелс 275 аэро
Мотор
Москва-10 ;М; 12,5 Сузуки 2,2
Спасибо за совет, а запчасти на этот мотор где прикупить ? Интересует крышка редуктора сильно вытертая видимо под винт что то попадало шпонка крупненькая диаметром 5 мм и отверстие под шпонку сильно прослаблено.
 

Voivano

вице-адмирал
Регистрация
11.08.2016
Сообщения
5 124
Карма
2 459
Город
Ачинск
Имя
Владимир
Лодка
Ракета РЛ-380
Мотор
Ветерок 8, Ветерок 12, Yamaha 6E3S (5CSMH), Москва М, Гибрид 7 лс. Гибрид 8 лс. Стрела и еще разные.
Не знаю, если честно. Из запчастей покупал только, сальники, подмаховичную катушку и винты себе и товарищу. Винты с Китая, остльное все здесь в наших интернет-магазинах.
 

JVL

капитан 3-го ранга
Регистрация
14.03.2016
Сообщения
844
Карма
249
Город
Ногинск
Имя
Юрий
Лодка
Романтика 3, Nissamaran TR320, Hydra 350
Мотор
Mercury 15M
Спасибо за совет, а запчасти на этот мотор где прикупить ? Интересует крышка редуктора сильно вытертая видимо под винт что то попадало шпонка крупненькая диаметром 5 мм и отверстие под шпонку сильно прослаблено.
Подойдет от Парсуна Т5BMS(современной Ямахи 5CMHS) и от старых ямах 5BS 5B P95, а вот если наоборот то нужно немного стачивать наружный диаметр крышки чтобы винт до конца зашел. Редуктора почти не менялись.
 

Сергей Б

капитан 1-го ранга
Регистрация
09.12.2017
Сообщения
5 412
Карма
1 599
Возраст
62
Город
Москва
Имя
Сергей
Лодка
А нету.
Мотор
Тоже нету.
8 кг очень хорошо, бывает пишут и 10-11 кг, но я такое видел только на четырёхтактных моторах.
У моей Ямахи 5, из коробки было 8,2 , самое большее что видел у двухтактников 9,8 кг на Сельве Капри 6. Правда я всегда компрессию измеряю на сухом холодном моторе, по разным данным, на прогретом может быть на 1,5-2 кг больше. Компрессометр проверен по двум советским манометрам, разница на ширину стрелки.
 
Последнее редактирование:

czech

капитан-лейтенант
Регистрация
06.06.2016
Сообщения
480
Карма
36
Возраст
44
Город
Казань
Имя
Антон
Лодка
Диана-350
Мотор
Ветерок-8, Ветерок-8М, Привет-22
Кто разбирал полностью ямаху 5 или аналогичные? Как снять ручку переключения скорости?
Вдшкой в отверстия для смазки брызгал, вышла максимум миллиметра на 2, а дальше ни в какую.
 

Михаил_mixart.

пассажир
Регистрация
23.07.2019
Сообщения
1
Карма
0
Город
Vyborg
Имя
Михаил
Лодка
Самострой
Мотор
Mercury 3,3...Yamaha-6b.
Что бы снять, по моему нужно снимать блок.
 

РиО

капитан 1-го ранга
Регистрация
20.02.2018
Сообщения
1 629
Карма
440
Город
Пермь
Лодка
Обь
Мотор
хороший
Кто разбирал полностью ямаху 5 или аналогичные? Как снять ручку переключения скорости?
Вдшкой в отверстия для смазки брызгал, вышла максимум миллиметра на 2, а дальше ни в какую.
А что ты рассоеденил чтоб она вышла ?? Или она по твоему на шариковом стопоре ?
Захотел выдернул - захотел задвинул ??

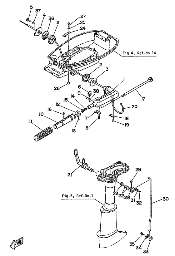
Не-а, так не получится. Башку снимать придётся, там винт №29.. Щас поищу тебе диаграмму (схему) этого ратитета...если он вообще есть
 
Последнее редактирование:

РиО

капитан 1-го ранга
Регистрация
20.02.2018
Сообщения
1 629
Карма
440
Город
Пермь
Лодка
Обь
Мотор
хороший
На вот лови свой переключатель девятьсот мохнатого года.
172234
 

czech

капитан-лейтенант
Регистрация
06.06.2016
Сообщения
480
Карма
36
Возраст
44
Город
Казань
Имя
Антон
Лодка
Диана-350
Мотор
Ветерок-8, Ветерок-8М, Привет-22
Я все разобрал полностью. Ручка не выходит, стопорных колец нет. Схема у меня есть, думал может быть ее в каком-то определенном положении снимать.
 

czech

капитан-лейтенант
Регистрация
06.06.2016
Сообщения
480
Карма
36
Возраст
44
Город
Казань
Имя
Антон
Лодка
Диана-350
Мотор
Ветерок-8, Ветерок-8М, Привет-22
Вот так выглядит :
172330
 

BorisMan

капитан 1-го ранга
Регистрация
10.11.2017
Сообщения
9 592
Карма
6 311
Возраст
52
Город
Домодедово
Имя
Борис
Лодка
Навигатор 330, Днепр
Мотор
Nassan Marine 9,8; Yamaha 40HEPO (модернизированная)
Могу предположить, что в отверстии над кулачком (или где-то рядом) тоненькая штифт-трубочка. Если ее выдавить, кулачок уйдет в одну сторону, а ось в другую. По этому принципу собран механизм, переключающий скорости на моторах с дистанцией, работающих по принципу "вверх-вниз". Там их две. Пока не выдавить, не разобрать.
 

czech

капитан-лейтенант
Регистрация
06.06.2016
Сообщения
480
Карма
36
Возраст
44
Город
Казань
Имя
Антон
Лодка
Диана-350
Мотор
Ветерок-8, Ветерок-8М, Привет-22
Я уже все отверстия проверил. На обычной яме их нет, похоже прошлый хозяин насверлил, в отверстиях видно , что в ручку засверлились. Похоже там проблема.
В итоге заказал бу ручку)
 

czech

капитан-лейтенант
Регистрация
06.06.2016
Сообщения
480
Карма
36
Возраст
44
Город
Казань
Имя
Антон
Лодка
Диана-350
Мотор
Ветерок-8, Ветерок-8М, Привет-22
Добрый день.
Подскажите пожалуйста, насколько критична данная выработка на вертикальном валу, скорее всего это место где входит в стакан или зеркало помпы.
202794
 
Вверх Снизу