frutt2008

гл. старшина
Регистрация
10.06.2015
Сообщения
104
Карма
3
Возраст
47
Город
Томск
Имя
Сергей
Лодка
Акваспаркс,Воронеж
Мотор
Волгарь15,Sail f-15,Yamaxa F40
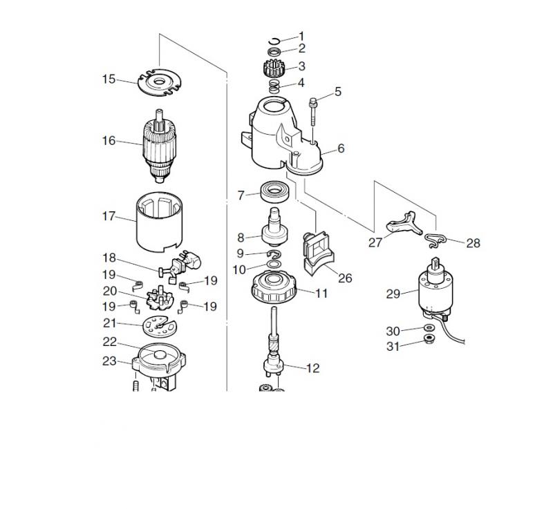
Мужики подскажите,снял стопор на стартере чтобы смазать ось а он у меня из двух полу-колец,так должно быть или он должен быть цельным?
 

Вложения

Анат0ль

мичман
Регистрация
24.10.2016
Сообщения
161
Карма
26
Возраст
61
Город
Красноярск
Имя
Анатолий
Лодка
Прогресс
Мотор
ямаха f25,ямаха F40BETL
Сломан
 

Анат0ль

мичман
Регистрация
24.10.2016
Сообщения
161
Карма
26
Возраст
61
Город
Красноярск
Имя
Анатолий
Лодка
Прогресс
Мотор
ямаха f25,ямаха F40BETL
Должно быть разрезное кольцо как в любом стартере
 

frutt2008

гл. старшина
Регистрация
10.06.2015
Сообщения
104
Карма
3
Возраст
47
Город
Томск
Имя
Сергей
Лодка
Акваспаркс,Воронеж
Мотор
Волгарь15,Sail f-15,Yamaxa F40
Вот и я думаю если целое то как его туда запихать....
 

frutt2008

гл. старшина
Регистрация
10.06.2015
Сообщения
104
Карма
3
Возраст
47
Город
Томск
Имя
Сергей
Лодка
Акваспаркс,Воронеж
Мотор
Волгарь15,Sail f-15,Yamaxa F40
Анат0ль сказал(а):
Должно быть разрезное кольцо как в любом стартере
То-есть разрез должен быть один?
 

Анат0ль

мичман
Регистрация
24.10.2016
Сообщения
161
Карма
26
Возраст
61
Город
Красноярск
Имя
Анатолий
Лодка
Прогресс
Мотор
ямаха f25,ямаха F40BETL
:) Так на пальцах не обьяснить.Сними стартер и отнеси в любую автомастерскую-соберут на коленке за 3 секунды.
 

Анат0ль

мичман
Регистрация
24.10.2016
Сообщения
161
Карма
26
Возраст
61
Город
Красноярск
Имя
Анатолий
Лодка
Прогресс
Мотор
ямаха f25,ямаха F40BETL
Разрез один
 

Kep

капитан 1-го ранга
Регистрация
11.03.2015
Сообщения
1 509
Карма
217
Город
Самара
Имя
Владимир
Лодка
Нептун 470 open
Мотор
Yamaha 60 CETL
Ваш стопор сломан. см. поз.1
 

Вложения

frutt2008

гл. старшина
Регистрация
10.06.2015
Сообщения
104
Карма
3
Возраст
47
Город
Томск
Имя
Сергей
Лодка
Акваспаркс,Воронеж
Мотор
Волгарь15,Sail f-15,Yamaxa F40
Благодарю за ответы!
 
Вверх Снизу